LEMON Manuals: Even more car manuals for everyone: 1960-2025
Home >> Suzuki >> 2010 >> Kizashi AWD L4-2.4L >> Repair and Diagnosis >> Relays and Modules >> Relays and Modules - Powertrain Management >> Relays and Modules - Computers and Control Systems >> Engine Control Module >> Testing and Inspection >> Pinout Values and Diagnostic Parameters >> Reference Waveform
April 5, 2026: LEMON Manuals is launched! Read the announcement.

Reference Waveform

Reference Wave form

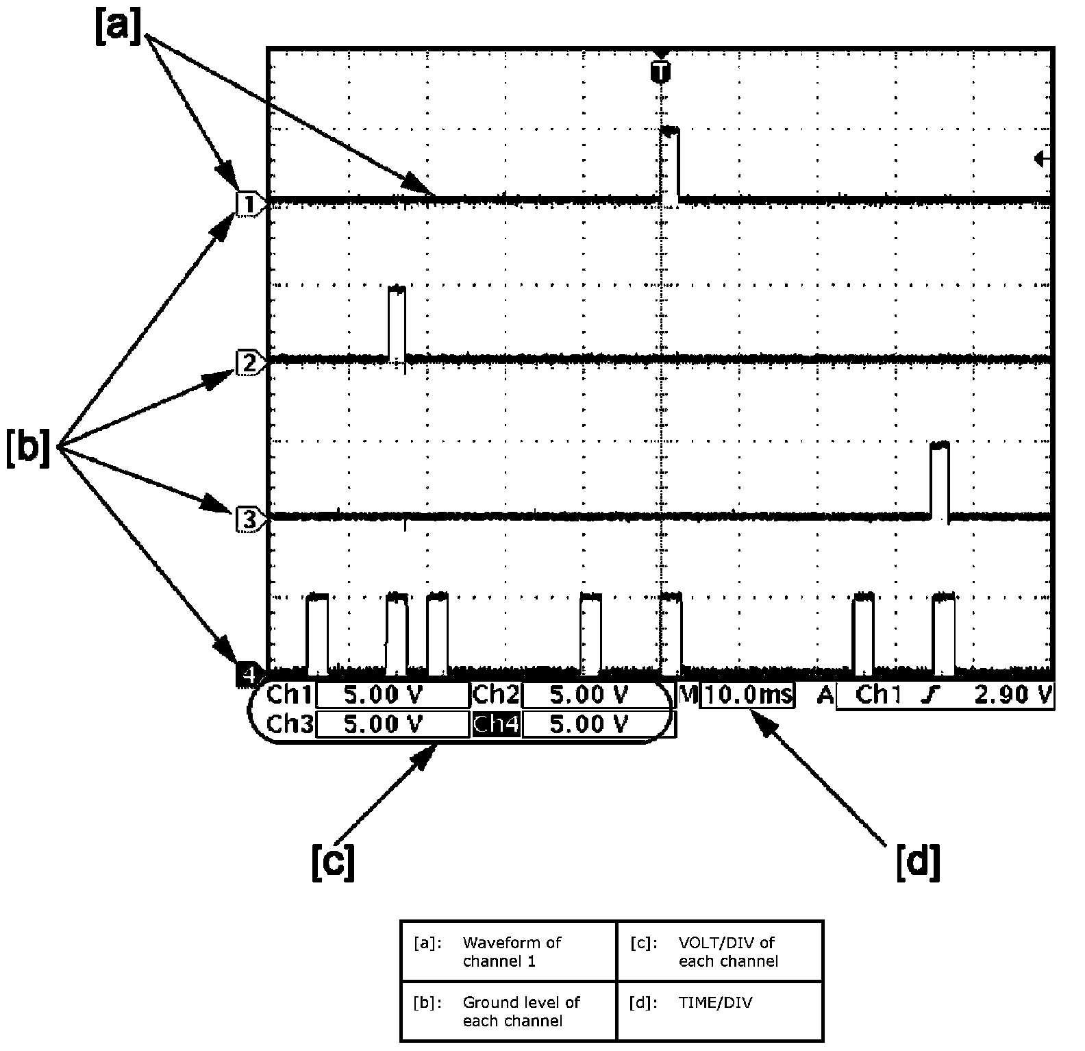
Oscilloscope display
Shown below is typical wave form display provided by oscilloscope.

NOTE:
- Display includes the following types of data:
- Waveforms may vary with measurement conditions and vehicle specifications.






Fuel injector signal






Measurement condition
- Engine: Idle speed after warm-up






Fuel injector No.1 signal and ignition coil No.1 signal

Fuel injector No.1 signal (1):






Ignition coil No.1 signal (2):






CMP sensor signal (3):






CKP sensor signal (4):






Measurement condition
- Engine: Idle speed after warm-up






Fuel injector No.2 signal and ignition coil No.2 signal

Fuel injector No.2 signal (1):






Ignition coil No.2 signal (2):






CMP sensor signal (3):






CKP sensor signal (4):






Measurement condition
- Engine: Idle speed after warm-up






Fuel injector No.3 signal and ignition coil No.3 signal

Fuel injector No.3 signal (1):






Ignition coil No.3 signal (2):






CMP sensor signal (3):






CKP sensor signal (4):






Measurement condition
- Engine: Idle speed after warm-up






Fuel injector No.4 signal and ignition coil No.4 signal

Fuel injector No.4 signal (1):






Ignition coil No.4 signal (2):






CMP sensor signal (3):






CKP sensor signal (4):






Measurement condition
- Engine: Idle speed after warm-up






Generator control signal and generator field coil monitor signal

Generator field coil monitor signal (1):






Generator control signal (2):






Measurement condition
- Engine: Idle speed after warm-up
- Lighting switch: OFF
- A/C switch: OFF
- Blower speed switch: OFF
- Rear defogger switch: OFF






Measurement condition
- Engine: Idle speed after warm-up
- Lighting switch: ON
- A/C switch: ON
- Blower speed switch: 8th position
- Rear defogger switch: ON






HO2S signal and HO2S heater signal

HO2S signal (1):






HO2S heater signal (2):






Measurement condition
- Engine: Idle speed after warm-up






Measurement condition
- Engine: Racing after warm-up






Ignition coil signal






Measurement condition
- Engine: Idle speed after warm-up






MAF sensor signal






Measurement condition
- Engine: Idle speed after warm-up






A/F sensor heater signal






Measurement condition
- Engine: Idle speed after warm-up






OCV signal






Measurement condition
- Engine: Idle speed immediately after start-up






A/F sensor signal






Measurement condition
- Engine: Racing after warm-up






IMT valve actuator signal
IMT valve actuator signal (close) (1):






IMT valve actuator signal (open) (2):






Measurement condition
- Ignition mode: ON






Measurement condition
- IMT valve: CLOSE -> OPEN (using "Active Test of SUZUKI scan tool)






- IMT valve: OPEN -> CLOSE (using "Active Test of SUZUKI scan tool)






Throttle actuator signal






Measurement condition
- Ignition mode: ON
- Accelerator pedal: Idle position






Measurement condition
- Ignition mode: ON
- Accelerator pedal: Fully depressed position






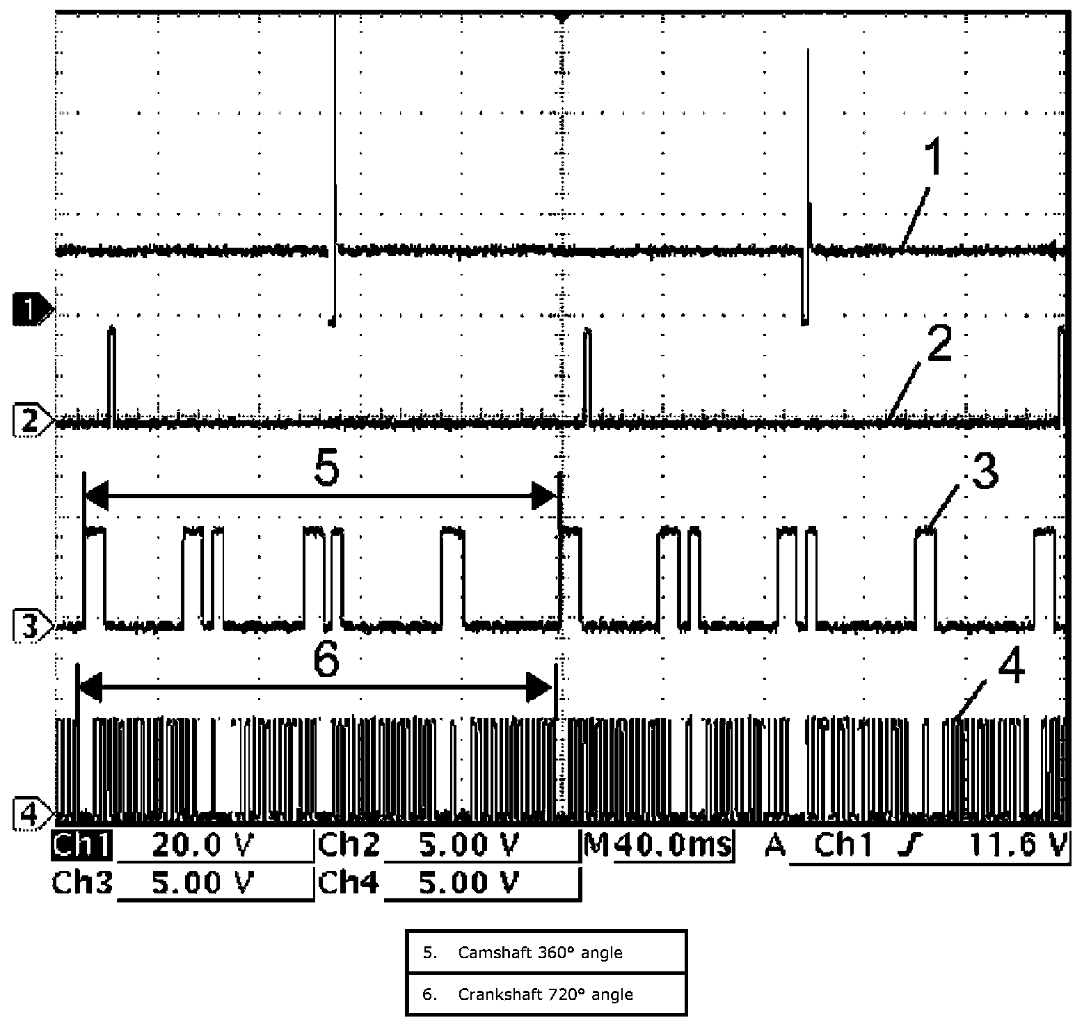
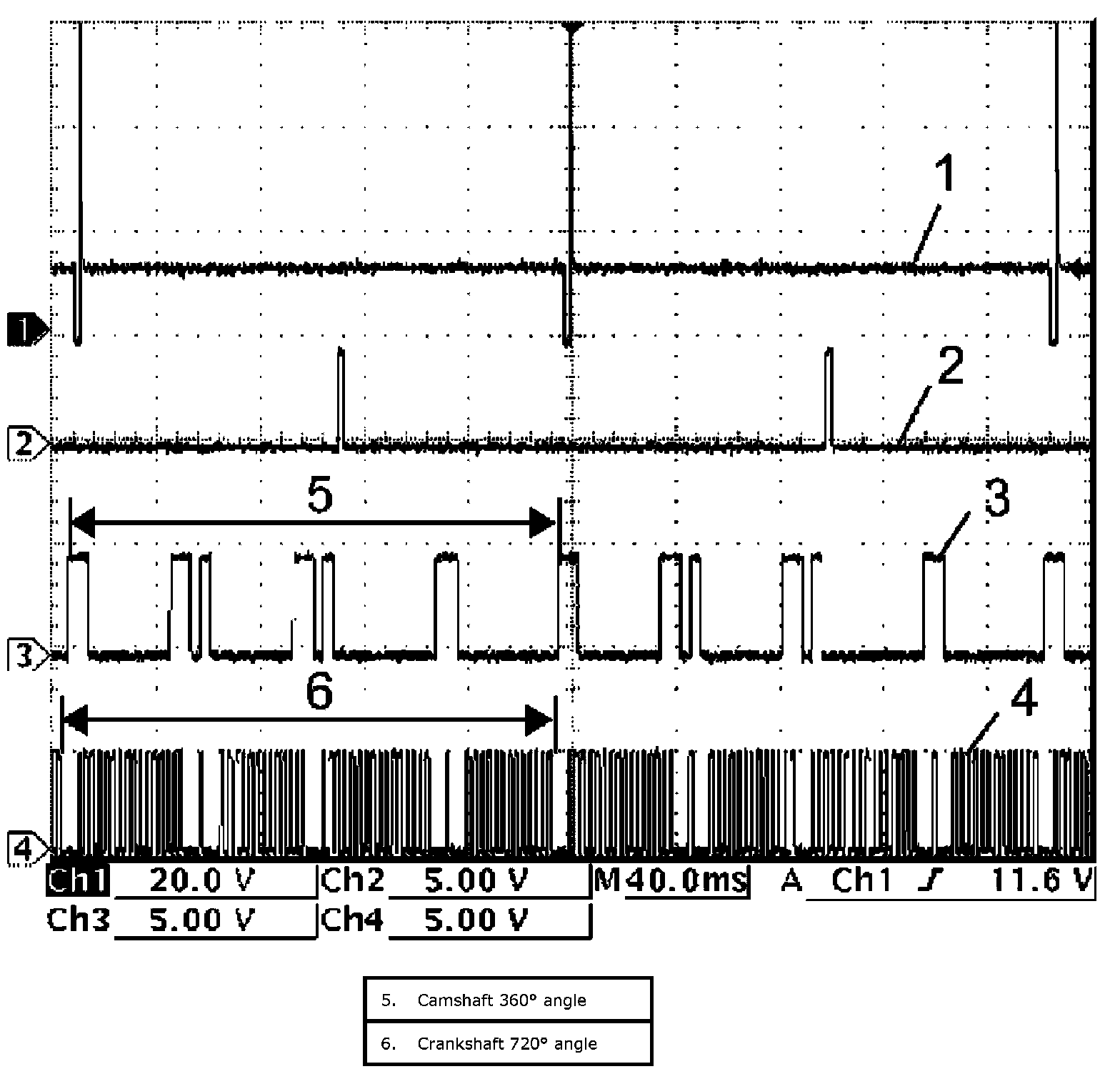
CKP sensor signal and CMP sensor signal

CMP sensor signal (1):






CKP sensor signal (2):






Measurement condition
- Engine: Idle speed after warm-up






Knock sensor signal






Measurement condition
- Engine: Running at 4,000 rpm after warmed up

Fuel pump relay signal






Measurement condition
- Ignition mode: OFF -> ON -> START






CAN communication signal

CAN communication signal (High) (1):






CAN communication signal (Low) (2):






Measurement condition
- Engine: Stop
- Ignition mode: ON