LEMON Manuals: Even more car manuals for everyone: 1960-2025
Home >> Suzuki >> 2010 >> Kizashi AWD L4-2.4L >> Repair and Diagnosis >> Specifications >> Mechanical Specifications >> Continuously Variable Transmission/Transaxle, CVT >> System Specifications
April 5, 2026: LEMON Manuals is launched! Read the announcement.

System Specifications

Tightening Torque Specifications

CAUTION:
For fastener with * (asterisk) below, be sure to tighten it according to specified procedure in "Repair Instructions".






Flex plate 70 Nm (7.1 kgf-m, 52 ft lb)

NOTE:
The specified tightening torque is described in the following.
Select Lever Assembly Components
Select Cable Components
CVT Assembly Components
CVT Fluid Cooler Components

Reference:
For the tightening torque of fastener not specified in this section, refer to Fasteners Information.

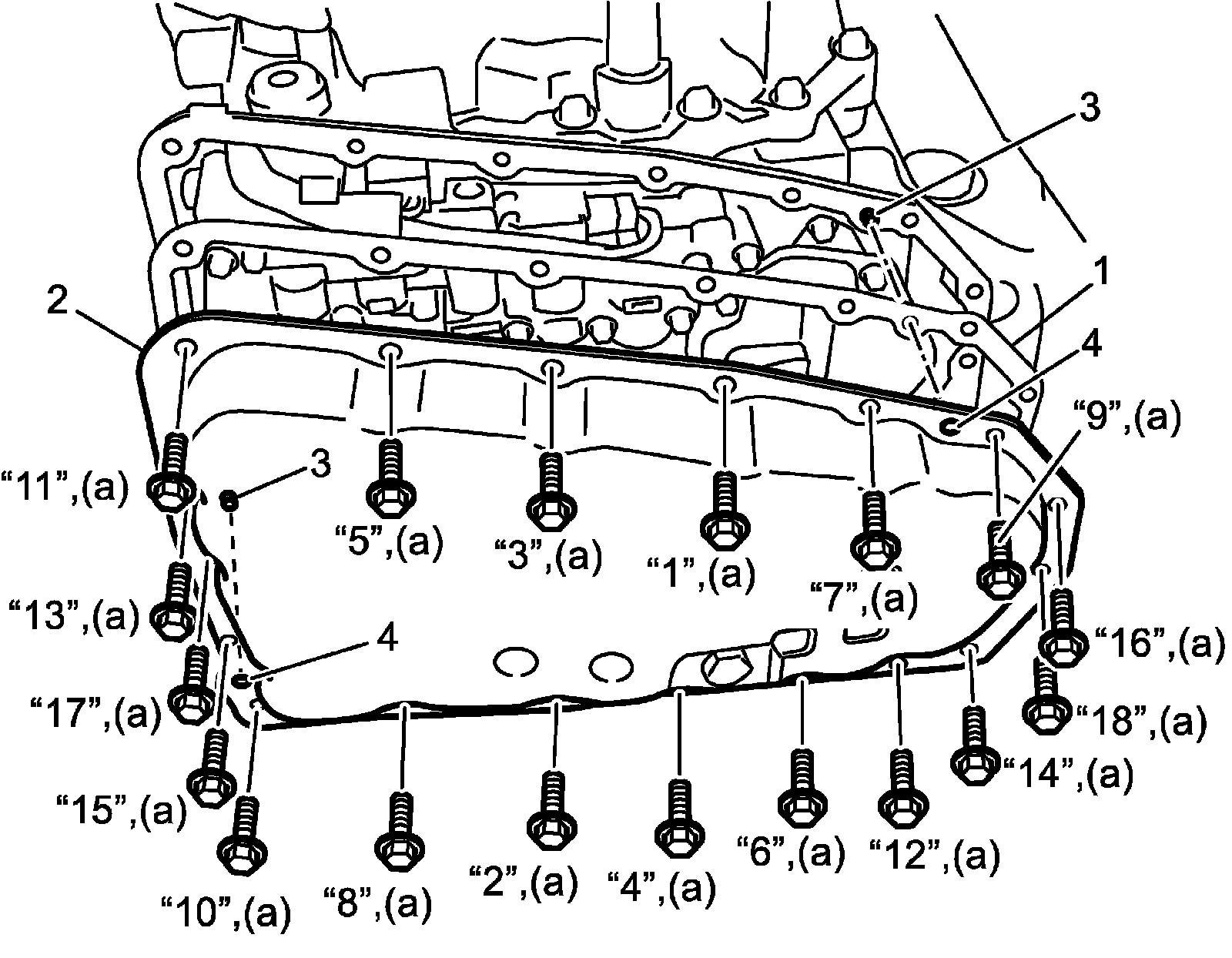
CAUTION:
Be sure to use new oil pan bolts pre-coated with adhesive. Otherwise, bolts may loosen.


Tightening torque
CVT oil pan bolt* (a): 7.9 Nm (0.81 kg-m, 6.0 lbf-ft)