LEMON Manuals: Even more car manuals for everyone: 1960-2025
Home >> Suzuki >> 2010 >> SX4 4WD L4-2.0L >> Repair and Diagnosis >> Body and Frame >> Locks >> Keyless Entry >> Keyless Starting System >> Testing and Inspection >> Component Tests and General Diagnostics >> Inspection Of Keyless Start Control Module and Its Circuits
April 5, 2026: LEMON Manuals is launched! Read the announcement.

Inspection Of Keyless Start Control Module and Its Circuits

Inspection Of Keyless Start Control Module And Its Circuits

Keyless start control module and its circuits can be checked at keyless start control module wiring couplers by measuring voltage and resistance.

CAUTION: Keyless start control module cannot be checked by itself. It is strictly prohibited to connect voltmeter or ohmmeter to keyless start control module with coupler disconnected from it.

Voltage Check
1. Disconnect negative cable (-) at battery.
2. Remove keyless start control module from vehicle body referring to Keyless Start Control Module Removal and Installation.
3. Connect connector to keyless start control module.
4. Check voltage at each terminal number of couplers connected.

NOTE:
- As each terminal voltage is affected by the battery voltage, confirm that it is 11 V or more when ignition switch is ON.
- Voltage with asterisk (*) cannot be measured by voltmeter because it is pulse signal.














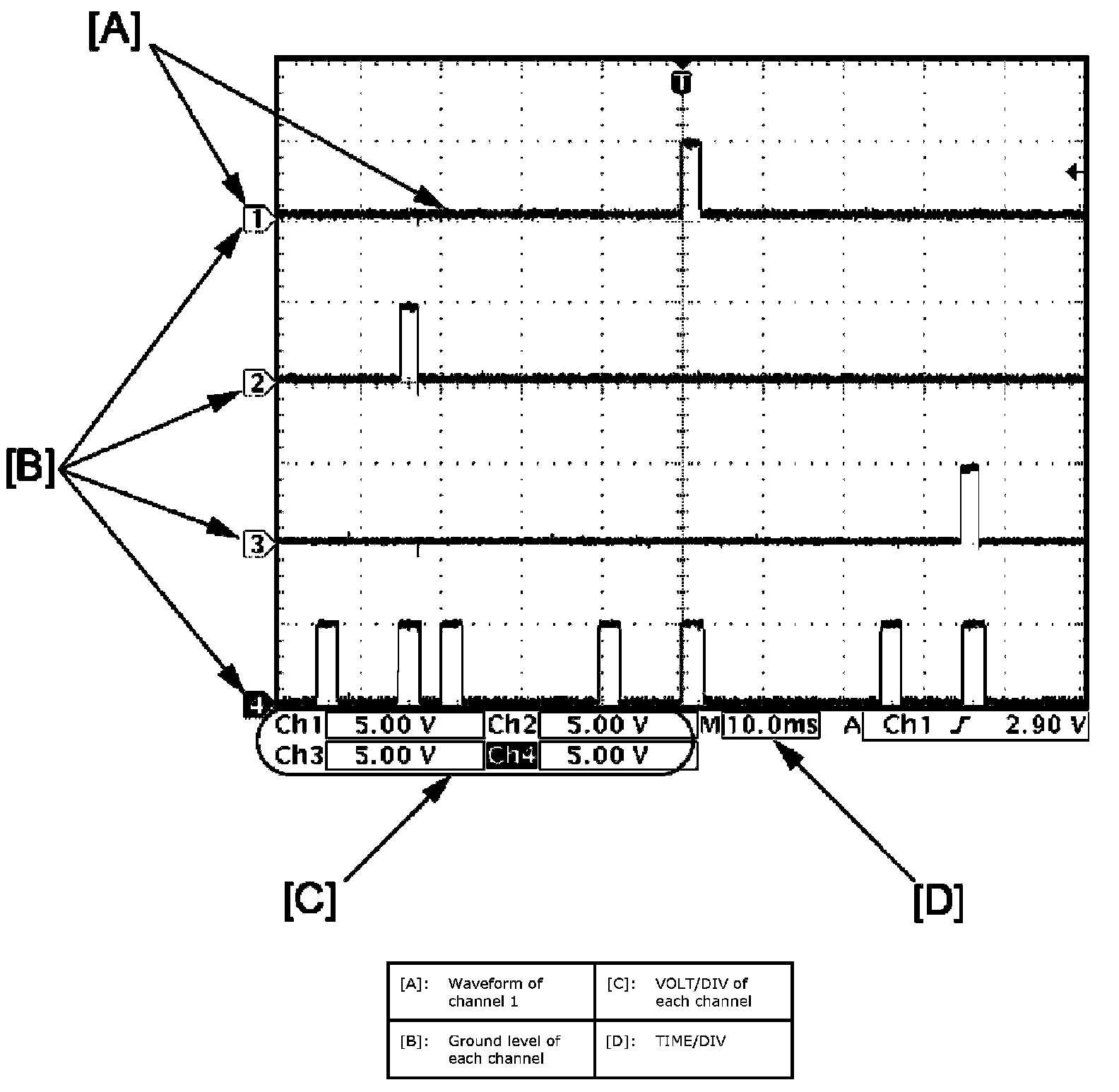
Reference Waveform

NOTE:
- Waveform analysis is as follows.






- Waveform might change for measurement condition and vehicle spec.

Reference waveform No. 1
Driver, passenger and rear end door / trunk lid antenna request signals (Request signal (1) transmitted by each door antenna when each door request switch is pushed)









Reference waveform No. 2
Center antenna signal
(Request signal (1) transmitted by center antenna when each door request switch is pushed)









Reference waveform No. 3
Luggage room / trunk room antenna signal
(Request signal (1) transmitted by luggage room / trunk room antenna when each door request switch is pushed)









Reference waveform No. 4
CAN communication signals
(CAN signal communicated to each control module when ignition switch is turned ON)









Reference waveform No. 5
Steering lock unit signal
(Signal (1) communicated between keyless start control module and steering lock unit when measurement condition described below applies)









Reference waveform No. 6
Driver side and passenger side door lock switch signals
(Signal (1) indicating door lock switch status which keyless start control module receives from BCM)