LEMON Manuals: Even more car manuals for everyone: 1960-2025
Home >> Suzuki >> 2010 >> SX4 4WD L4-2.0L >> Repair and Diagnosis >> Powertrain Management >> Computers and Control Systems >> Body Control Module >> Testing and Inspection
April 5, 2026: LEMON Manuals is launched! Read the announcement.

Body Control Module: Testing and Inspection

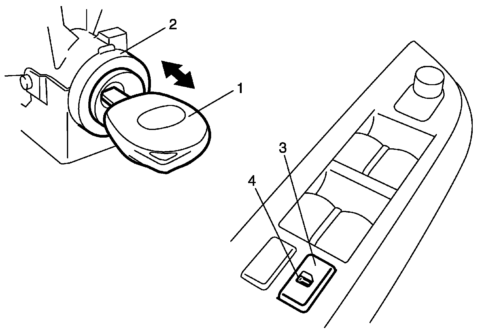
Security Alarm Mode Selection Procedure (If Equipped)

Security alarm mode can be selected by performing the following procedure.
1. Confirm that all doors are closed, all doors are unlocked and ignition key is inserted in ignition key cylinder.
2. Remove ignition key from ignition key cylinder.
3. Perform Step a through e described below within 15 seconds.
a. Insert ignition key (1) in ignition key cylinder (2).
b. Remove ignition key from ignition key cylinder.
c. Repeat Step a and b twice.
d. Insert ignition key in ignition key cylinder.
e. Push lock side (3) of driver side manual lock switch (4) 3 times.






4. When Step 3 is completed, the mode changes to the next one automatically. The warning buzzer (located in BCM) sounds by the number of specified for each mode as follows.
- Changed from A mode to B mode: Buzzer sounds 4 times
- Changed from B mode to A mode: Buzzer sounds once