LEMON Manuals: Even more car manuals for everyone: 1960-2025
Home >> Suzuki >> 2010 >> SX4 4WD L4-2.0L >> Repair and Diagnosis >> Powertrain Management >> Computers and Control Systems >> Fuel Level Sensor >> Service and Repair
April 5, 2026: LEMON Manuals is launched! Read the announcement.

Fuel Level Sensor: Service and Repair

Fuel Level Sensor Removal and Installation

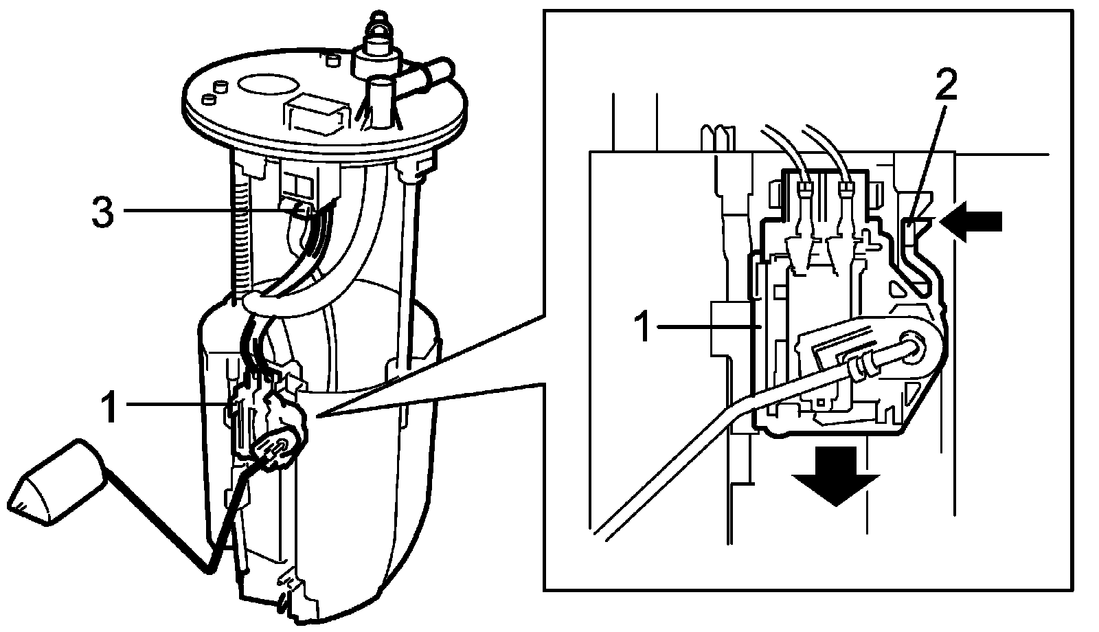
CAUTION:
- Do not touch resister plate (1) and deform arm (2). It may cause main fuel level sensor to fail.
- Be very careful not to cause damage to fuel tube installed section (sealed section in bore). If it be damaged, replace it with new one, or fuel will leak from the part.







Removal
1. Remove fuel pump assembly from fuel tank.
2. Disconnect fuel level sensor connector (3).
3. With pressing snap-fit part (2), remove fuel level sensor (1) by sliding it in the arrow direction as shown in figure.






Installation
Reverse removal procedure for installation.