LEMON Manuals: Even more car manuals for everyone: 1960-2025
Home >> Suzuki >> 2011 >> Equator Base >> Repair and Diagnosis >> General Information >> OEM General Information >> Special Tools >> Special Service Tools >> Special Service Tools (Cooling System, Drive Belt, Engine Overhaul, Fuel System & O2 Sensor)
April 5, 2026: LEMON Manuals is launched! Read the announcement.

Special Service Tools (Cooling System, Drive Belt, Engine Overhaul, Fuel System & O2 Sensor)

The actual shapes of Kent-Moore tools may differ from those of special service tools illustrated here.

Tool number (Kent-Moore No.) Tool name - Description
EG17650301
(J-33984-A)
Radiator cap tester adapter
G07041156
Adapts radiator cap tester to radiator cap and radiator filler neck
  1. 28 (1.10) dia. 
  2. 31.4 (1.236) dia. 
  3. 41.3 (1.626) dia. 

Unit: mm (in)
EM03470000
(J-8037)
Piston ring compressor
G07041157
Installing piston assembly into cylinder bore
KV10114400
(J-38365)
Heated oxygen sensor wrench
G07041158
Loosening or tightening heated oxygen sensor 1
  1. 22 mm (0.87 in) 
(J-44321)
Fuel pressure gauge kit
G07041159
Checking fuel pressure
(J-44321-6)
Fuel pressure adapter
G07041160
Connects fuel pressure gauge to quick connector type fuel lines.
KV991J0050
(J-44626)
Air fuel sensor Socket
G07041161
Loosening or tightening air fuel ratio A/F sensor
  1. 22 mm (0.87 in) 
-
(J-45488)
Quick connector release
G07041162
Removing fuel tube quick connectors in engine room (Available in SEC. 164 of PARTS CATALOG: Part No. 16441 6N210)
-
(J-46535)
Drive belt tension releaser
G07041163
Releasing drive belt tension
KV10111100
(J-37228)
Seal cutter
G07041164
Removing oil pan (lower and upper), front and rear timing chain case, etc.
KV10112100
(BT-8653-A)
Angle wrench
G07041165
Tightening bolts for connecting rod bearing cap, cylinder head, etc. in angle
KV10115600
(J-38958)
Valve oil seal drift
G07041166
Installing valve oil seal (QR25DE)
-
(J-39386)
Valve oil seal drift
G07041167
Installing valve oil seal (VQ40DE)
KV10116200
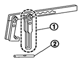
(J-26336-A)
Valve spring compressor
  1. KV10115900

    (J-26336-20)

    Attachment

  2. KV10109220

(-)

Adapter

G07041168
Disassembling valve mechanism Part (1) is a component of KV10116200 (J-26336-A), but Part (2) is not so.
KV10117100
(J-36471-A)
Heated oxygen sensor wrench
G07041169
Loosening or tightening air fuel ratio sensor 1
For 22 mm (0.87 in) width hexagon nut 
KV10107902
(J-38959)
Valve oil seal puller
G07041170
Replacing valve oil seal
ST16610001
(J-23907)
Pilot bushing puller
G07041171
Removing pilot bushing (M/T models) or pilot converter (A/T models)
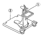
ST0501S000
(-)
Engine stand assembly
  1. ST05011000

    (-)

    Engine stand

  2. ST05012000

(-)
Base
G07041172
Disassembling and assembling engine
WS39930000
(-)
Tube presser
G07041173
Pressing the tube of liquid gasket
-
(J-45722)
130 mm lock ring tool
G07041174
Removing and installing fuel tank lock ring
-
(J-48761)
Ring gear stopper
G07041175
Removing and installing crankshaft pulley
-
  1. (J-49815)
  2. (J-8092)

Ring gear stopper
G07041176
Install rear main seal