LEMON Manuals: Even more car manuals for everyone: 1960-2025
Home >> Suzuki >> 2011 >> SX4 Base, Standard >> Repair and Diagnosis >> Brakes >> Traction Control >> Antilock Brake System (Abs) >> Repair Instructions >> ABS Hydraulic Unit/Control Module Assembly Removal and Installation >> Removal
April 5, 2026: LEMON Manuals is launched! Read the announcement.

ABS Hydraulic Unit/Control Module Assembly Removal and Installation: Removal

  1. Disconnect negative (-) cable from battery.
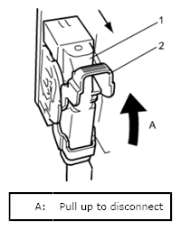
  2. Disconnect ABS hydraulic unit/control module assembly connector (1) by pull up the lock lever (2).
    Fig 1: Pulling Up Lock Lever
    G06868575Courtesy of SUZUKI OF AMERICA CORP.
  3. Using special tool, loosen flare nuts (1) and disconnect brake pipes (2) from ABS hydraulic unit/control module assembly (3).

    Special Tool 

    (A): 09950-78220 

    NOTE: Put bleeder plug cap or the like onto pipe to prevent fluid from spilling. Do not allow brake fluid to get on painted surfaces.
    Fig 2: Disconnecting Brake Pipes From ABS Hydraulic Unit/Control Module Assembly
    G06868576Courtesy of SUZUKI OF AMERICA CORP.
  4. Remove ABS hydraulic unit/control module with bracket from vehicle by removing two bracket bolts.
  5. Remove bolt and pull out ABS hydraulic unit/control module assembly (1) from bracket (3) using flat end rod or the like (2).
    Fig 3: Identifying ABS Hydraulic Unit/Control Module Assembly And Bracket
    G06868577Courtesy of SUZUKI OF AMERICA CORP.