LEMON Manuals: Even more car manuals for everyone: 1960-2025
Home >> Suzuki >> 2012 >> Equator Base >> Repair and Diagnosis >> External Pages >> Different car >> Section 14 (Automatic Transmission) >> Schematic and Routing Diagram >> Shift Lock Control Connector End Views >> A/T Shift Lock Control Solenoid
April 5, 2026: LEMON Manuals is launched! Read the announcement.

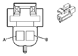
A/T Shift Lock Control Solenoid

WARNING: This page is about a different car, the 2007 Suzuki XL7. However, it is still accessible from the selected car via links, so may be relevant.
Fig 1: Identifying A/T Shift Lock Control Solenoid Connector End Views
G04845827Courtesy of SUZUKI OF AMERICA CORP.

Connector Part Information 

OEM: 12052832

Service: -

Description: 3-Way F (WH)

CONNECTORS FUNCTION TABLE - A/T SHIFT LOCK CONTROL SOLENOID

Pin Wire Color Circuit No. Function
1 D-GN/WH 113 A/T Shift Lock Solenoid Supply Voltage
2 - - Not Used
3 BK 1450 Ground