LEMON Manuals: Even more car manuals for everyone: 1960-2025
Home >> Suzuki >> 2012 >> Equator Base >> Repair and Diagnosis >> External Pages >> Different car >> Section 18 (Wipers/Washers) >> Repair Instructions >> Wiper Blade Element Replacement
April 5, 2026: LEMON Manuals is launched! Read the announcement.

Wiper Blade Element Replacement

WARNING: This page is about a different car, the 2007 Suzuki XL7. However, it is still accessible from the selected car via links, so may be relevant.
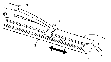
Fig 1: Pulling Wiper Blade Element
G04845208Courtesy of SUZUKI OF AMERICA CORP.
WIPER BLADE ELEMENT TABLE

Callout Component Name
Fastener Tightening Specifications: Refer to  FASTENER TIGHTENING SPECIFICATIONS - WIPERS/WASHER SYSTEMS  . 
Preliminary Procedure 
Remove the wiper arm blade. Refer to WIPER ARM BLADE REPLACEMENT .
1 Blade, Windshield Wiper Arm
2 Bear Claws, Wiper Arm Blade
3 Insert, Wiper Arm Blade
  1. Hold the wiper arm blade firmly and pull blade element from blade bear claws.
  2. Passenger and driver side inserts are not interchangeable.