LEMON Manuals: Even more car manuals for everyone: 1960-2025
Home >> Suzuki >> 2012 >> Equator Base >> Repair and Diagnosis >> External Pages >> Different car >> Section 30 (Engine Mechanical) >> Repair Instructions >> Thread Repair >> Cylinder Head Bolt Hole Thread Repair
April 5, 2026: LEMON Manuals is launched! Read the announcement.

Cylinder Head Bolt Hole Thread Repair

WARNING: This page is about a different car, the 2007 Suzuki XL7. However, it is still accessible from the selected car via links, so may be relevant.

Special Tool 

J 42385-700 High Feature Thread Repair Kit 

J 42385-2000 Thread Insert Kit 

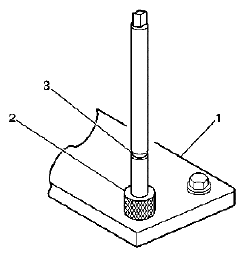
Fig 1: Identifying Cylinder Head Bolt Hole Thread Repair Tools
G04842017Courtesy of SUZUKI OF AMERICA CORP.

The cylinder head bolt hole thread repair tooling are in the kits J 42385-2000 and J 42385-700. The cylinder head bolt hole thread repair components consist of the following:

WARNING: Refer to SAFETY GLASSES CAUTION .
NOTE:
  • Remove the fixture plate prior to installing the insert with the installer tool.
  • The use of a cutting type fluid GM P/N 1052864 (Canadian P/N 992881) WD 40®; or equivalent is recommended when performing the drilling, counterboring and tapping procedures.

When installed to the proper depth, the flange of the insert will be seated against the counterbore of the drilled/tapped hole.

Fig 2: Positioning Fixture Plate With Bushing
G04842018Courtesy of SUZUKI OF AMERICA CORP.
  1. Position the fixture plate (3) with the bushing (1) installed over the cylinder head bolt hole to be repaired (4).
  2. Loosely install the fixture plate bolts (2) into the remaining cylinder head bolt holes.
    Fig 3: Positioning Alignment Pin Through Bushing & Into Cylinder Head Bolt Hole
    G04842019Courtesy of SUZUKI OF AMERICA CORP.
  3. Position the alignment pin (1) through the bushing and into the cylinder head bolt hole.
  4. With the alignment pin in the desired cylinder head bolt hole, tighten the fixture retaining bolts (2).
  5. Remove the alignment pin (1) from the cylinder head bolt hole.
    Fig 4: Drilling Out Threads Of Damaged Hole
    G04842020Courtesy of SUZUKI OF AMERICA CORP.
    NOTE:
    • During the drilling process, it is necessary to repeatedly remove the drill and clean chips from the hole and the flutes of the drill.
    • Drill the hole until the stop collar contacts the top of the drill bushing.
  6. Drill out the threads of the damaged hole.
    Fig 5: Applying Compressed Air Into Tapped Hole
    G04842021Courtesy of SUZUKI OF AMERICA CORP.
    NOTE: All chips must be removed from the drilled hole prior to tapping.
  7. Using compressed air, clean out any chips.
    Fig 6: Applying Threads Of Drilled Hole By Hand
    G04842022Courtesy of SUZUKI OF AMERICA CORP.
    NOTE:
    • During the tapping process, it is necessary to repeatedly remove the tap and clean chips from the hole and the flutes of the tap.
    • Ensure the tap has created full threads at least to the depth equal to the insert length.
  8. Using a suitable tapping wrench, tap the threads of the drilled hole by hand only.
    Fig 7: Identifying Mark & Drill Bushing
    G04842023Courtesy of SUZUKI OF AMERICA CORP.
  9. In order to tap the new threads for the insert to the proper depth, rotate the tap into the cylinder head bolt hole until the mark (3) on the tap aligns with the top of the drill bushing (2).
    Fig 8: Identifying Fixture Plate & Bolts
    G04842024Courtesy of SUZUKI OF AMERICA CORP.
    NOTE: Remove the fixture plate prior to installing the insert with the installer tool.
  10. Remove the fixture plate bolts (2).
  11. Remove the fixture plate (3) and bushing (1).
    Fig 9: Applying Compressed Air Into Tapped Hole
    G04842025Courtesy of SUZUKI OF AMERICA CORP.
    NOTE: All chips must be removed from the tapped hole prior to insert installation.
  12. Using compressed air, clean out any chips.
    Fig 10: Applying Spray Cleaner Into Tapped Hole
    G04842026Courtesy of SUZUKI OF AMERICA CORP.
  13. Spray cleaner GM P/N 12346139, GM P/N 12377981 (Canadian P/N 10953463) or equivalent into the tapped hole.
    Fig 11: Applying Compressed Air Into Tapped Hole
    G04842027Courtesy of SUZUKI OF AMERICA CORP.
    NOTE: All chips must be removed from the tapped hole prior to insert installation.
  14. Using compressed air, clean out any chips.
    Fig 12: Lubricating Threads Of Driver Installation Tool
    G04842028Courtesy of SUZUKI OF AMERICA CORP.
    NOTE: Do not allow oil or other foreign material to contact the outside diameter (OD) of the insert.
  15. Lubricate the threads of the driver installation tool (2) with the J 42385-110 (1).
    Fig 13: Applying Insert Onto Driver Installation Tool
    G04842029Courtesy of SUZUKI OF AMERICA CORP.
  16. Install the insert (2) onto the driver installation tool (1).
    Fig 14: Applying Threadlock Sealant To Insert OD Threads
    G04842030Courtesy of SUZUKI OF AMERICA CORP.
  17. Apply threadlock sealant GM P/N 12345493, (Canadian P/N 10953488), J 42385-109, LOCTITE 277®; or equivalent (1) to the insert OD threads (2).
    Fig 15: Applying Insert & Installation Driver Into Tapped Hole By Hand
    G04842031Courtesy of SUZUKI OF AMERICA CORP.
  18. Install the insert and installation driver (1) into the tapped hole by hand only.
  19. Start the insert into the threaded hole.
    NOTE: If the insert will not thread down until the flange contacts the counterbored surface remove the insert immediately with a screw extracting tool and inspect the tapped hole for any remaining chips and/or improper tapping.
  20. Install the insert until the flange of the insert contacts the counterbored surface.
    NOTE: The driver installation tool will tighten up before screwing completely through the insert. This is acceptable. The threads at the bottom of the insert are being formed and the insert is mechanically locking the insert into the base material threads.
  21. Continue to rotate the driver installation tool through the insert.
    Fig 16: Applying Thread On Surface Of Engine Block Deck
    G04842032Courtesy of SUZUKI OF AMERICA CORP.
  22. In order to completely form the new threads in the insert, rotate the driver installation tool through the insert until the mark (1) on the driver installation tool aligns with the surface of the engine block deck (2).
  23. Inspect the insert for proper installation into the tapped hole.