LEMON Manuals: Even more car manuals for everyone: 1960-2025
Home >> Suzuki >> 2012 >> Equator Base >> Repair and Diagnosis >> External Pages >> Different car >> Section 30 (Engine Mechanical) >> Repair Instructions >> Thread Repair >> Notes
April 5, 2026: LEMON Manuals is launched! Read the announcement.

Thread Repair: Notes

WARNING: This page is about a different car, the 2007 Suzuki XL7. However, it is still accessible from the selected car via links, so may be relevant.

Special Tool 

J 42385-700 High Feature Thread Repair Kit 

J 42385-2000 Thread Insert Kit 

J 43965 Thread Repair Extension Kit 

The thread repair process involves a solid, thin walled, self-locking, carbon steel, bushing type insert. During the insert installation process, the installation driver tool cold-rolls the bottom internal threads and expands the bottom external threads of the insert into the base material. This action mechanically locks the insert into place.

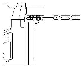
Fig 1: Identifying Drill Bit & Counter Bore Tool
G04841964Courtesy of SUZUKI OF AMERICA CORP.

The drill bit and counter bore tool from the tool kit J 42385-700 and J 42385-2000 is designed for use with either a suitable tap wrench or drill motor. Limited access and larger hole repair may process better using a tap wrench. An extension from kit J 43965 may also be necessary to drive the thread repair tooling dependent on access to the hole being repaired. Use only a tap wrench when tapping the hole and during installation of the insert.

Fig 2: Applying Drilling, Counterboring & Tapping Of Hole
G04841965Courtesy of SUZUKI OF AMERICA CORP.

It is critical that the drilling, counterboring and tapping of the hole to be repaired follows the same centerline as the original hole.

Fig 3: Identifying Drilling Angle
G04841966Courtesy of SUZUKI OF AMERICA CORP.

During the drilling and tapping of the hole being repaired ensure the tooling is consistently machining perpendicular to the surface of the base material.

Fig 4: Identifying Drilling Angle
G04841967Courtesy of SUZUKI OF AMERICA CORP.

If the threaded hole being repaired has a base surface perpendicular to the hole centerline, tapping guides are available to aid in tapping the hole.

TAP SPECIFICATION

Tap Size Tap Guide Tape Size Tape Guide Tap Size Tape Guide
- J 42385- - J 42385- - J 42385-
6 x 1.0 729 10 x 1.5 731 14 x 1.5 736
8 x 1.25 730 12 x 1.5 732 20 x 1.5 737