LEMON Manuals: Even more car manuals for everyone: 1960-2025
Home >> Suzuki >> 2012 >> Equator Base >> Repair and Diagnosis >> External Pages >> Different car >> Section 30 (Engine Mechanical) >> Repair Instructions >> Thread Repair >> Standard Thread Repair - Flush Hole
April 5, 2026: LEMON Manuals is launched! Read the announcement.

Standard Thread Repair - Flush Hole

WARNING: This page is about a different car, the 2007 Suzuki XL7. However, it is still accessible from the selected car via links, so may be relevant.
Fig 1: Identifying Hole Flange & Surface
G04841968Courtesy of SUZUKI OF AMERICA CORP.
WARNING: Refer to SAFETY GLASSES CAUTION .
NOTE: The use of a cutting type fluid GM P/N 1052864, (Canadian P/N 992881), WD 40® or equivalent is recommended when performing the drilling, counterboring and tapping procedures.

When installed to the proper depth, the flange (1) of the insert will be seated against the counterbore of the drilled/tapped hole and just below the surface (2) of the base material.

Fig 2: Drilling Out Threads Of Damaged Hole
G04841969Courtesy of SUZUKI OF AMERICA CORP.
NOTE:
  • During the drilling process, it is necessary to repeatedly remove the drill and clean chips from the hole and the flutes of the drill.
  • Do NOT drill any further than the original hole depth.
  1. Drill out the threads of the damaged hole.

    Specifications 

    • M6 inserts require a minimum drill depth of 15 mm (0.59 in)  .
    • M8 inserts require a minimum drill depth of 20 mm (0.79 in)  .
    • M10 inserts require a minimum drill depth of 23.5 mm (0.93 in)  .
      Fig 3: Applying Compressed Air Into Tapped Hole
      G04841970Courtesy of SUZUKI OF AMERICA CORP.
    NOTE: All chips must be removed from the drilled hole prior to tapping.
  2. Using compressed air, clean out any chips.
    Fig 4: Identifying Counterbore Tool
    G04841971Courtesy of SUZUKI OF AMERICA CORP.
    NOTE: A properly counterbored hole will show a slight burnishing on the surface of the base material for 360 degrees around the drilled hole.
  3. Counterbore the drilled hole to the full depth permitted by the tool (1).
    Fig 5: Applying Compressed Air Into Tapped Hole
    G04841972Courtesy of SUZUKI OF AMERICA CORP.
    NOTE: All chips must be removed from the drilled hole prior to tapping.
  4. Using compressed air, clean out any chips.
    Fig 6: Applying Threads Of Drilled Hole
    G04841973Courtesy of SUZUKI OF AMERICA CORP.
    NOTE:
    • During the tapping process, it is necessary to repeatedly remove the tap and clean chips from the hole and the flutes of the tap.
    • Ensure the tap has created full threads at least to the depth equal to the insert length.
  5. Using a suitable tapping wrench, tap the threads of the drilled hole by hand only.

    Specifications 

    • M6 inserts require a minimum tap depth of 15 mm (0.59 in)  .
    • M8 inserts require a minimum tap depth of 20 mm (0.79 in)  .
    • M10 inserts require a minimum tap depth of 23.5 mm (0.93 in)  .
      Fig 7: Applying Compressed Air Into Tapped Hole
      G04841974Courtesy of SUZUKI OF AMERICA CORP.
    NOTE: All chips must be removed from the tapped hole prior to insert installation.
  6. Using compressed air, clean out any chips.
    Fig 8: Applying Spray Cleaner Into Tapped Hole
    G04841975Courtesy of SUZUKI OF AMERICA CORP.
  7. Spray cleaner GM P/N 12346139, GM P/N 12377981 (Canadian P/N 10953463) or equivalent into the tapped hole.
    Fig 9: Applying Compressed Air Into Tapped Hole
    G04841976Courtesy of SUZUKI OF AMERICA CORP.
    NOTE: All chips must be removed from the tapped hole prior to insert installation.
  8. Using compressed air, clean out any chips.
    Fig 10: Lubricating Threads Of Driver Installation Tool
    G04841977Courtesy of SUZUKI OF AMERICA CORP.
    NOTE: Do not allow oil or other foreign material to contact the outside diameter (OD) of the insert.
  9. Lubricate the threads of the driver installation tool (2) with the J 42385-110 (1).
    Fig 11: Installing Insert Onto Driver Installation Tool
    G04841978Courtesy of SUZUKI OF AMERICA CORP.
  10. Install the insert (2) onto the driver installation tool (1).
    Fig 12: Applying Threadlock Sealant To Insert OD Threads
    G04841979Courtesy of SUZUKI OF AMERICA CORP.
  11. Apply threadlock sealant GM P/N 12345493, (Canadian P/N 10953488), J 42385-109, LOCTITE 277® or equivalent (1) to the insert OD threads (2).
    Fig 13: Applying Insert Into Tapped Hole (1 Of 3)
    G04841980Courtesy of SUZUKI OF AMERICA CORP.
  12. Install the insert (2) into the tapped hole by hand only.
    Fig 14: Applying Insert Into Tapped Hole (2 Of 3)
    G04841981Courtesy of SUZUKI OF AMERICA CORP.
    NOTE: If the insert will not thread down until the flange contacts the counterbored surface, remove the insert immediately with a screw extracting tool and inspect the tapped hole for any remaining chips and/or improper tapping.
  13. Install the insert until the flange (2) of the insert contacts the counterbored surface.
    Fig 15: Applying Insert Into Tapped Hole (3 Of 3)
    G04841982Courtesy of SUZUKI OF AMERICA CORP.
    NOTE: The driver installation tool will tighten up before screwing completely through the insert. This is acceptable. The threads at the bottom of the insert are being formed and the insert is mechanically locking the insert into the base material threads.
  14. Continue to rotate the driver installation tool (1) through the insert (2).
    Fig 16: Identifying Insert & Surface Of Base Material
    G04841983Courtesy of SUZUKI OF AMERICA CORP.
  15. Inspect the insert for proper installation into the tapped hole. A properly installed insert (1) will be either flush or slightly below flush with the surface of the base material (2).
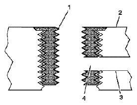
    Fig 17: Identifying Engine Coolant Passage
    G04841984Courtesy of SUZUKI OF AMERICA CORP.
  16. Any installed insert that restricts or blocks an oil or engine coolant passage (3) will need to have the oil or engine coolant passage drilled out (4) to the original size of the oil or engine coolant passage. After drilling the restriction or blockage, clean out any chips and thread the installation driver tool through the insert again to remove any burrs caused by the drilling of the oil or engine coolant passage.