LEMON Manuals: Even more car manuals for everyone: 1960-2025
Home >> Suzuki >> 2012 >> Grand Vitara 4WD L4-2.4L >> Repair and Diagnosis >> Powertrain Management >> Computers and Control Systems >> Fuel Level Sensor >> Service and Repair >> Fuel Level Sensor Inspection
April 5, 2026: LEMON Manuals is launched! Read the announcement.

Fuel Level Sensor Inspection




Fuel Level Sensor Inspection

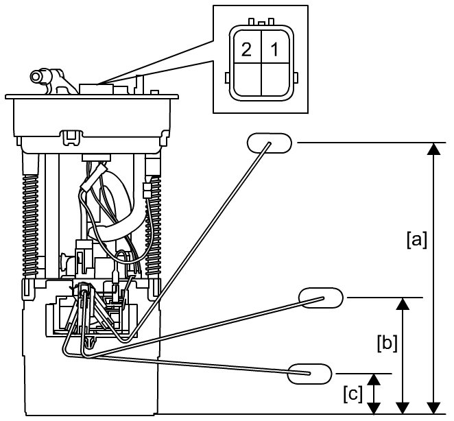
Main Fuel Level Sensor

Main Fuel Level Sensor Removal and Installation

Check resistance between terminals (1) and (2) at each float position [a], [b] and [c].

If measured resistance is out of specification, replace main fuel level sensor.

Main fuel level sensor resistance

Standard










Sub Fuel Level Sensor

Sub Fuel Level Sensor Removal and Installation

Check resistance between terminals (1) and (2) at each float position [a], [b] and [c].

If measured resistance is out of specification, replace sub fuel level sensor.

Sub fuel level sensor resistance

Standard