LEMON Manuals: Even more car manuals for everyone: 1960-2025
Home >> Suzuki >> 2012 >> Grand Vitara 4WD L4-2.4L >> Repair and Diagnosis >> Powertrain Management >> Computers and Control Systems >> Fuel Level Sensor >> Service and Repair >> Main Fuel Level Sensor Removal and Installation
April 5, 2026: LEMON Manuals is launched! Read the announcement.

Main Fuel Level Sensor Removal and Installation




Main Fuel Level Sensor Removal and Installation

WARNING:

Failure to take proper precautions when removing or installing the fuel level sensor can result in fuel leaks and/or damage.

To prevent fuel leaks, be careful not to damage the fuel tube fitting section (sealed section in the bore). If it is damaged, replace the fuel pump.

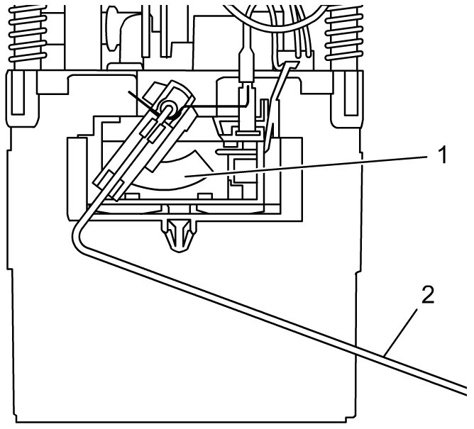
NOTE:

Failure to take proper precautions when removing or installing the fuel level sensor can result in damage.

To prevent failure of the fuel level sensor, be careful not to touch the resister plate (1) or deforming the arm (2) when performing the service operations described below.





Removal

1) Remove fuel pump assembly from fuel tank. Fuel Pump Assembly Removal and Installation
2) Disconnect main fuel level sensor connector (1).
3) With pressing snap-fit part (2), remove main fuel level sensor (3) from fuel pump (4) by sliding it in arrow direction as shown in figure.





Installation

Fuel Level Sensor Inspection

Reverse removal procedure for installation.