LEMON Manuals: Even more car manuals for everyone: 1960-2025
Home >> Suzuki >> 2012 >> Grand Vitara Base >> Repair and Diagnosis >> Engine Performance >> Fuel Delivery >> Fuel System >> Repair Instructions >> Fuel Level Sensor Inspection >> Main Fuel Level Sensor
April 5, 2026: LEMON Manuals is launched! Read the announcement.

Main Fuel Level Sensor

Reference: MAIN FUEL LEVEL SENSOR REMOVAL AND INSTALLATION 

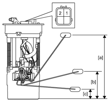
Check resistance between terminals (1) and (2) at each float position [a], [b] and [c].

If measured resistance is out of specification, replace main fuel level sensor.

Main fuel level sensor resistance 

SUB FUEL LEVEL SENSOR RESISTANCE SPECIFICATIONS

Float position Resistance
[a] 208 mm (8.19 in.) 19.0 - 21.0 Ω
[b] 92.3 mm (3.63 in) 79.4 - 89.4 Ω
[c] 40.4 mm (1.59 in) 129.0 - 132.4 Ω
Fig 1: Checking Resistance Between Terminals At Each Float Locations
G08893907Courtesy of SUZUKI OF AMERICA CORP.