LEMON Manuals: Even more car manuals for everyone: 1960-2025
Home >> Suzuki >> 2012 >> SX4 2WD L4-2.0L >> Repair and Diagnosis >> Relays and Modules >> Relays and Modules - Brakes and Traction Control >> Electronic Brake Control Module >> Service and Repair >> ABS >> ABS Hydraulic Unit / Control Module Assembly Components
April 5, 2026: LEMON Manuals is launched! Read the announcement.

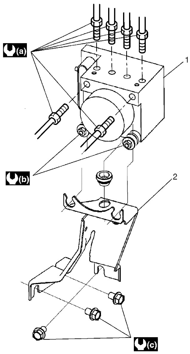
ABS Hydraulic Unit / Control Module Assembly Components




ABS Hydraulic Unit / Control Module Assembly Components

NOTE:

- Performing certain prohibited service operations will affect the original performance of the ABS hydraulic unit / control module assembly.
Do not perform the following prohibited service operations:

- Do not disassemble the ABS hydraulic unit / control module assembly.
- Do not loosen the blind plug.
- Do not remove the motor.
- Regarding ABS hydraulic unit / control module assembly removal and installation, confirm specified torque and do not use impact tool to avoid damage.
- Use care not to allow dust to enter ABS hydraulic unit / control module.
- Do not place ABS hydraulic unit / control module on its side or upside down. Handling it in inappropriate way will affect its original performance.
- Do not give an impact to hydraulic unit.

- Brake fluid is extremely damaging to painted surfaces.
If brake fluid contacts a painted surface, immediately wipe it off and flush the surface thoroughly with water.