LEMON Manuals: Even more car manuals for everyone: 1960-2025
Home >> Suzuki >> 2012 >> SX4 2WD L4-2.0L >> Repair and Diagnosis >> Relays and Modules >> Relays and Modules - Brakes and Traction Control >> Electronic Brake Control Module >> Service and Repair >> ABS >> ABS Hydraulic Unit / Control Module Assembly Removal and Installation
April 5, 2026: LEMON Manuals is launched! Read the announcement.

ABS Hydraulic Unit / Control Module Assembly Removal and Installation




ABS Hydraulic Unit / Control Module Assembly Removal and Installation

ABS Hydraulic Unit / Control Module Assembly Components

ABS Hydraulic Unit / Control Module Assembly On-Vehicle Inspection

Removal

1) Disconnect negative (-) cable from battery.
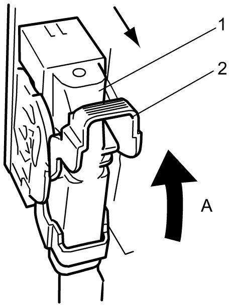
2) Disconnect ABS hydraulic unit / control module assembly connector (1) by pull up the lock lever (2).











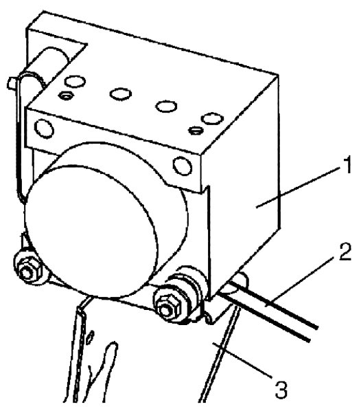
3) Using special tool, loosen flare nuts (1) and disconnect brake pipes (2) from ABS hydraulic unit / control module assembly (3).
Special Tool

(A): 09950-78220

NOTE:
Put bleeder plug cap or the like onto pipe to prevent fluid from spilling. Do not allow brake fluid to get on painted surfaces.





4) Remove ABS hydraulic unit / control module with bracket from vehicle by removing two bracket bolts.
5) Remove bolt and pull out ABS hydraulic unit / control module assembly (1) from bracket (3) using flat end rod or the like (2).






Installation

1) Install ABS hydraulic unit / control module assembly (1) to bracket (2).

Tightening torque
ABS hydraulic unit / control module assembly bolt (a): 9 Nm (0.9 kgf-m, 7.0 lbf-ft)

2) Install ABS hydraulic unit / control module assembly with bracket to vehicle body.
3) Tighten ABS hydraulic unit / control module assembly bracket bolt as follows.
a) Tighten bracket bolt "1" and "2" by hand.
b) Then tighten bracket bolt to specified torque. Tighten order "1" -> "2".

Tightening torque
ABS hydraulic unit / control module assembly bracket bolt (b): 25 Nm (2.5 kgf-m, 18.5 lbf-ft)

4) Connect brake pipe to ABS hydraulic unit / control module assembly.
Special Tool
09950-78220

Tightening torque
Brake pipe flare nut (c): 16 Nm (1.6 kgf-m, 12.0 lbf-ft)





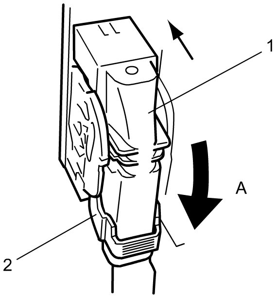
5) Connect ABS hydraulic unit / control module assembly connector (1) by pull down the lock lever (2).











6) Connect negative (-) cable to battery.
7) Bleed air from brake system. Service and Repair
8) Check each installed part for fluid leakage and perform ABS Hydraulic Unit Operation Check ABS Hydraulic Unit Operation Check.

NOTE:
When installing new ABS hydraulic unit / control module assembly, ABS warning light may flash at ignition switch is turned ON position.

Accordingly preform ABS Hydraulic Unit Operation Check ABS Hydraulic Unit Operation Check
to stop flashing of ABS warning light.