LEMON Manuals: Even more car manuals for everyone: 1960-2025
Home >> Suzuki >> 2012 >> SX4 2WD L4-2.0L >> Repair and Diagnosis >> Relays and Modules >> Relays and Modules - Brakes and Traction Control >> Electronic Brake Control Module >> Service and Repair >> Electronic Stability Program
April 5, 2026: LEMON Manuals is launched! Read the announcement.

Electronic Stability Program




ESP(R) Hydraulic Unit / Control Module Assembly Removal and Installation

ESP(R) Hydraulic Unit / Control Module Assembly On-Vehicle Inspection

NOTE:

- Performing certain prohibited service operations will affect the original performance of the ESP(R) hydraulic unit / control module assembly.
Do not perform the following prohibited service operations:

- Do not disassemble the ESP(R) hydraulic unit / control module assembly.
- Do not loosen the blind plug.
- Do not remove the motor.
- Regarding ESP(R) hydraulic unit / control module assembly removal and installation, confirm specified torque and do not use impact tool to avoid damage.
- Use care not to allow dust to enter ESP(R) hydraulic unit / control module.
- Do not place ESP(R) hydraulic unit / control module on its side or upside down. Handling it in inappropriate way will affect its original performance.
- Do not give an impact to hydraulic unit.

- Brake fluid is extremely damaging to painted surfaces.
If brake fluid contacts a painted surface, immediately wipe it off and flush the surface thoroughly with water.

Removal

1) Disconnect negative (-) cable from battery.
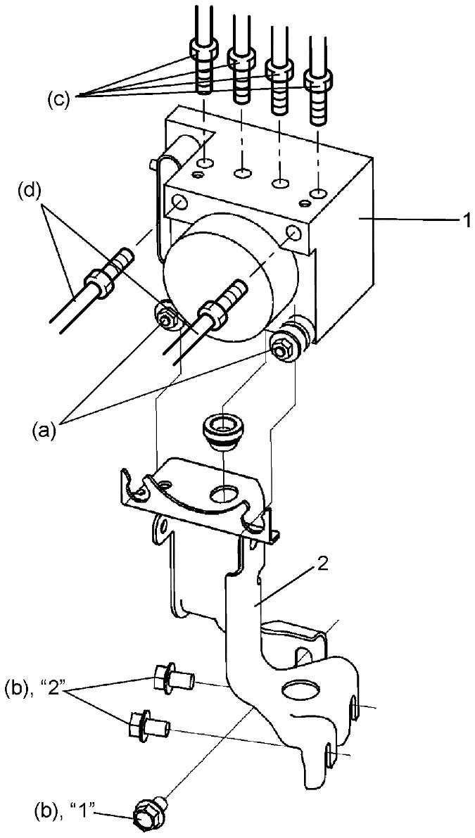
2) Disconnect ESP(R) hydraulic unit / control module assembly connector (1) by pull up the lock lever (2).











3) Using special tool, loosen flare nuts (1) and disconnect brake pipes (2) from ESP(R) hydraulic unit / control module assembly (3).
Special Tool

(A): 09950-78220

NOTE:
Put bleeder plug cap or the like onto pipe to prevent fluid from spilling. Do not allow brake fluid to get on painted surfaces.





4) Remove ESP(R) hydraulic unit / control module with bracket from vehicle by removing three bracket bolts.
5) Remove bolt and pull out ESP(R) hydraulic unit / control module assembly (1) from bracket (3) using flat end rod or the like (2).






Installation

1) Install ESP(R) hydraulic unit / control module assembly (1) to bracket (2).

Tightening torque
ESP(R) hydraulic unit / control module assembly bolt (a): 9 Nm (0.9 kgf-m, 7.0 lbf-ft)

2) Install ESP(R) hydraulic unit / control module assembly with bracket to vehicle body.
3) Tighten ABS hydraulic unit / control module assembly bracket bolt as follows.
a) Tighten bracket bolt "1" and "2" by hand.
b) Then tighten bracket bolt to specified torque. Tighten order "1" -> "2".

Tightening torque
ESP(R) hydraulic unit / control module assembly bracket bolt (b): 26 Nm (2.6 kgf-m, 19.0 lbf-ft)

4) Connect brake pipe to ESP(R) hydraulic unit / control module assembly.
Special Tool
09950-78220

Tightening torque
Brake pipe flare nut (M10) (c): 16 Nm ( 1.6 kgf-m, 12.0 lbf-ft)

Tightening torque
Brake pipe flare nut (M12) (d): 19 Nm (1.9 kgf-m, 14.0 lbf-ft)





5) Connect ESP(R) hydraulic unit / control module assembly connector (1) by pull down the lock lever (2).











6) Connect negative (-) cable to battery.
7) Bleed air from brake system. Service and Repair
8) Check each installed part for fluid leakage.
9) Connect SUZUKI scan tool to DLC.
10) Turn ignition switch to ON position.

NOTE:
- DTC C1075 is detected and ESP(R) OFF light lights up.
- If ESP(R) hydraulic unit / control module assembly is replaced with new one, ABS warning light blinks.

11) Check DTC.

NOTE:
If any DTC(s) other than C1075 are detected, sensor calibration can not be completed. Repair the detected it(s) first.

12) Perform Programming and Relearning Sensor Calibration of ESP(R).
13) Perform ESP Hydraulic Unit Operation Check ESP(R) Hydraulic Unit Operation Check.
14) Turn ignition switch to OFF position once and then ON position. In this state, make sure that indicator light and warning light turns off.
15) Check DTC(s) are not stored in ESP(R) hydraulic unit / control module.