LEMON Manuals: Even more car manuals for everyone: 1960-2025
Home >> Suzuki >> 2013 >> Kizashi Base, Automatic CVT Trans >> Repair and Diagnosis (Single Page) >> Engine Performance >> System >> Aux. Emission Control Devices >> Repair Instructions >> EVAP Leak Check Module Inspection >> EVAP Leak Detection Pump Inspection
April 5, 2026: LEMON Manuals is launched! Read the announcement.

EVAP Leak Detection Pump Inspection

Operate EVAP leak detection pump in EVAP leak check module as follows. If you have SUZUKI scan tool, perform step 1). If not, perform step  2).

  1. Method using SUZUKI scan tool:
    1. Disconnect suction pipe from EVAP leak check module, and disconnect filler pipe and purge pipe from EVAP canister, see EVAP CANISTER / EVAP LEAK CHECK MODULE ASSEMBLY REMOVAL AND INSTALLATION  .
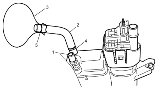
    2. Plug purge port (1) with rubber plug securely.
    3. Connect vacuum hose (2) and spherical plastic bag (3) with approximately 12.5 cm (4.92 in.) diameter (volume: 1.0 liter (2.11/1.76 US/Imp pt)) to filler port (4) using a rubber band (5) as shown in figure.
      Fig 1: Connecting Vacuum Hose And Spherical Plastic Bag To Filler Port Using Rubber Band
      G06528094Courtesy of SUZUKI OF AMERICA CORP.
    4. With ignition mode of keyless push start system in "OFF", connect special tool between ECM and ECM connectors. For connecting procedure, refer to Step 1) and 2) of "Voltage Check" under INSPECTION OF ECM AND ITS CIRCUITS .
    5. Connect SUZUKI scan tool to DLC (1).
    6. Push engine switch to change ignition mode of keyless push start system to "ON".
    7. Select "Active Test" mode on SUZUKI scan tool.
    8. Operate EVAP leak detection pump in EVAP leak check module by using SUZUKI scan tool.

      Special Tool 

      1. SUZUKI scan tool (SUZUKI-SDT) 
      Fig 2: Connecting Scan Tool To DLC
      G06528095Courtesy of SUZUKI OF AMERICA CORP.
    9. Use service wire to ground "E01-59" terminal of ECM connector (EVAP canister vent valve: close).
      Fig 3: Identifying E01-59 Connector Terminal
      G06528096Courtesy of SUZUKI OF AMERICA CORP.
    10. Check that air in plastic bag is fully evacuated by EVAP leak detection pump within approximately 2 minutes.
      Fig 4: Checking EVAP Leak Detection Pump
      G06528097Courtesy of SUZUKI OF AMERICA CORP.

      If check results are not as described above, check wire harness and connections.

      If check results of wire harness and connections are OK, replace EVAP leak check module and EVAP canister as assembly.

  2. Method without using SUZUKI scan tool:
    CAUTION: If the battery is connected to the wrong terminals of the EVAP leak check module, the EVAP canister vent valve and EVAP leak detection pump in the EVAP leak check module may be damaged. Be sure to connect the battery to the correct terminals of the EVAP leak check module.
    1. Remove EVAP leak check module and EVAP canister as assembly, see EVAP CANISTER / EVAP LEAK CHECK MODULE ASSEMBLY REMOVAL AND INSTALLATION  .
    2. Connect a spherical plastic bag (1) with approximately 12.5 cm (4.92 in.) diameter (volume: 1.0 liter (2.11/1.76 US/Imp pt)) to filler port (2) using a rubber band (3) as shown in figure.
    3. Securely plug purge port (4) with rubber plug.
    4. Operate EVAP canister vent valve and EVAP leak detection pump by connecting 12 V-battery to EVAP leak check module terminals as shown in figure.
    5. Check that air in plastic bag is fully evacuated by EVAP leak detection pump within approximately 2 minutes.
      Fig 5: Connecting Spherical Plastic Bag To Filler Port Using Rubber Band
      G06528098Courtesy of SUZUKI OF AMERICA CORP.

      If check result is not as described above, replace EVAP leak check module and EVAP canister as assembly.