LEMON Manuals: Even more car manuals for everyone: 1960-2025
Home >> Suzuki >> 2013 >> Kizashi Base, Standard Trans >> Repair and Diagnosis >> Engine Performance >> Fuel Delivery >> Fuel System >> Repair Instructions >> Fuel Level Sensor Inspection >> Main Fuel Level Sensor
April 5, 2026: LEMON Manuals is launched! Read the announcement.

Main Fuel Level Sensor

Reference: FUEL LEVEL SENSOR REMOVAL AND INSTALLATION 

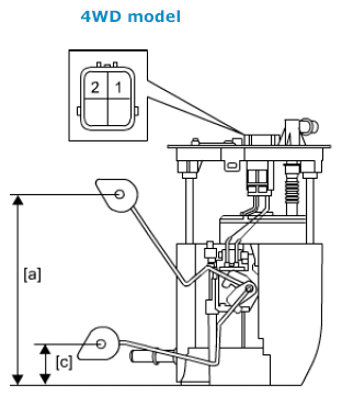
Check resistance between terminals (1) and (2) at each float position [a], [b] and [c].

If measured resistance is out of specification, replace fuel level sensor.

Fuel level sensor resistance 

Standard 

FUEL LEVEL SENSOR RESISTANCE SPECIFICATION

Float position Resistance
[a] 2WD: 147.7 mm (5.815 in.) 38.0 - 42.0 Ω
4WD: 145.6 mm (5.732 in.) 19.0 - 21.0 Ω
[b] 2WD: 98.3 mm (3.87 in.) 150.0 - 170.0 Ω
[c] 2WD: 16.5 mm (0.650 in.) 276.7 - 283.3 Ω
4WD: 26.7 mm (1.05 in.) 114.6 - 117.2 Ω
Fig 1: Checking Resistance Between Terminals 1 And 2 At Each Float Position (2WD Model)
G06526569Courtesy of SUZUKI OF AMERICA CORP.
Fig 2: Checking Resistance Between Terminals 1 And 2 At Each Float Position (4WD Model)
G06526570Courtesy of SUZUKI OF AMERICA CORP.