LEMON Manuals: Even more car manuals for everyone: 1960-2025
Home >> Suzuki >> 2013 >> Kizashi Base, Standard Trans >> Repair and Diagnosis >> External Pages >> Different variant/trim >> Section 2 (Transfer Assembly) >> Repair Instructions >> Transfer Output Retainer Assembly Disassembly and Reassembly >> Disassembly
April 5, 2026: LEMON Manuals is launched! Read the announcement.

Transfer Output Retainer Assembly Disassembly and Reassembly: Disassembly

WARNING: This page is about a different variant/trim than selected.
  1. Remove transfer output retainer bolts (1) and transfer output retainer assembly (2) and shim (3).
    Fig 1: Identifying Transfer Output Retainer Bolts, Transfer Output Retainer Assembly And Shim
    G06528589Courtesy of SUZUKI OF AMERICA CORP.
  2. Remove O-ring from transfer output retainer.
  3. Use special tool to remove transfer output flange nut while holding flange (1).

    Special Tool 

    1. 09930-40113 
    Fig 2: Removing Transfer Output Flange Nut
    G06528590Courtesy of SUZUKI OF AMERICA CORP.
  4. Use special tool to remove transfer output flange (1).

    Special Tool 

    1. 09913-65135 
    Fig 3: Removing Transfer Output Flange Using Special Tool
    G06528591Courtesy of SUZUKI OF AMERICA CORP.
  5. Remove bevel pinion from transfer output retainer by tapping it with plastic hammer.
  6. Remove spacer (1) from bevel pinion (2).
    Fig 4: Identifying Spacer And Bevel Pinion
    G06528592Courtesy of SUZUKI OF AMERICA CORP.
  7. Remove front taper roller bearing (3) from bevel pinion (4) by using bearing puller (1) and hydraulic press (2).
    Fig 5: Removing Front Taper Roller Bearing From Bevel Pinion
    G06528593Courtesy of SUZUKI OF AMERICA CORP.
  8. Remove oil seal from transfer output retainer.
  9. Remove rear taper roller bearing (1) from transfer output retainer (2).
    Fig 6: Identifying Rear Taper Roller Bearing And Transfer Output Retainer
    G06528594Courtesy of SUZUKI OF AMERICA CORP.
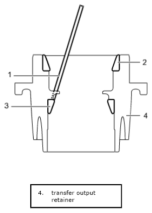
  10. Remove outer races (front (2) and rear (3)) by using brass bar (1).
    Fig 7: Removing Outer Races (Front And Rear)
    G06528595Courtesy of SUZUKI OF AMERICA CORP.