LEMON Manuals: Even more car manuals for everyone: 1960-2025
Home >> Suzuki >> 2013 >> Kizashi Base, Standard Trans >> Repair and Diagnosis >> External Pages >> Different variant/trim >> Section 2 (Transfer Assembly) >> Repair Instructions >> Transfer Output Retainer Assembly Disassembly and Reassembly >> Reassembly
April 5, 2026: LEMON Manuals is launched! Read the announcement.

Transfer Output Retainer Assembly Disassembly and Reassembly: Reassembly

WARNING: This page is about a different variant/trim than selected.
CAUTION:
  • Bevel gear and pinion must be replaced as a set when replacement of either one becomes necessary.
  • When replacing taper roller bearing, replace it as inner race and outer race assembly.
  1. Press-fit outer races (front and rear) by using special tools and hydraulic press.

    Special Tool 

    1. 09913-75520 
    2. 09913-75510 
    Fig 1: Pressing Outer Races (Front And Rear) Using Special Tools
    G06528596Courtesy of SUZUKI OF AMERICA CORP.
  2. Select transfer output retainer shim using the following procedures:
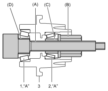
    1. Apply gear oil "A" to taper roller bearing (front (1) and rear (2)).
    2. Install taper roller bearing (front and rear) and special tools (pinion dummy) to transfer output retainer (3).
      NOTE: Special tools (A) - (D) are included in differential adjuster set (09922-76110).

      Special Tool 

      1. 09922-76140 
      2. 09922-76150 
      3. 09922-76340 
      4. 09922-76420 
      Fig 2: Installing Taper Roller Bearing (Front And Rear) With Special Tools
      G06528597Courtesy of SUZUKI OF AMERICA CORP.
    3. Tighten bevel pinion nut (special tool) so that specified bearing preload is obtained.
      NOTE: Before preload measurement with torque wrench, rotate special tool more than 15 revolutions by hand.

      Rotational torque of bevel pinion (Bearing preload) 

      0.5 - 1.3 N.m (0.05 - 0.13 kgf-m, 0 - 1.0 lbf-ft) (rotational speed about 50 rpm) 

      Fig 3: Tightening Bevel Pinion Nut (Special Tool)
      G06528598Courtesy of SUZUKI OF AMERICA CORP.
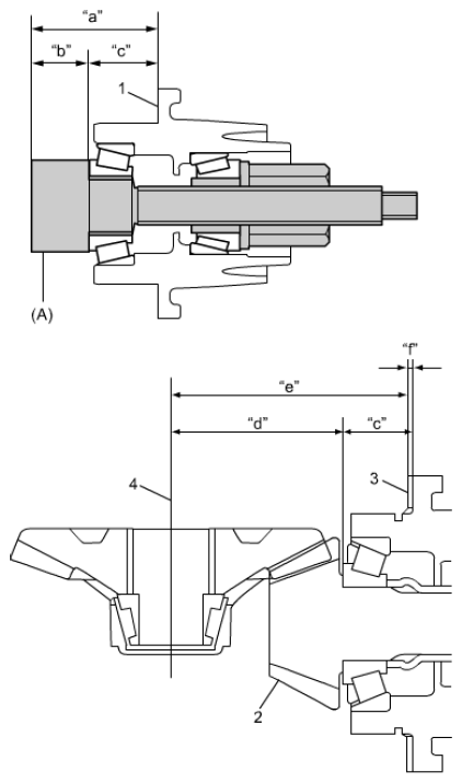
    4. Calculate thickness of shim "f" with calculating formula.

      "f" = "c" + "d" - "e"

      • "c" = "a" - "b"
        • "a": height from transfer output retainer installation surface (1) to pinion dummy top (mm (in.))
        • "b": pinion dummy height (40 mm (1.5748 in.))
      • "d": mounting distance of bevel pinion (2) (70.00 mm (2.7559 in.))
      • "e": distance between transfer output retainer installation surface (3) and bevel gear center line (4) (100.95 mm (3.9744 in.))

        Special Tool 

        1. 09922-76140 
        Fig 4: Determining Thickness Of Shim
        G06528599Courtesy of SUZUKI OF AMERICA CORP.
    5. Select a shim closest to the calculated value (necessary shim thickness) from among the available shims or combine shims to become closest to calculated value.

      Available transfer output retainer shim thickness 

      TRANSFER OUTPUT RETAINER SHIM THICKNESS SPECIFICATION

      Select shim
      0.30 mm (0.012 in.)
      1.85 mm (0.072 in.)
      1.88 mm (0.074 in.)
      1.91 mm (0.075 in.)
      1.94 mm (0.076 in.)
      1.97 mm (0.077 in.)
      2.00 mm (0.078 in.)
      2.03 mm (0.079 in.)
      2.06 mm (0.081 in.)
      2.09 mm (0.082 in.)
      2.12 mm (0.083 in.)
      2.15 mm (0.084 in.)
  3. Press-fit front taper roller bearing (2) to bevel pinion (3) by using special tool and hydraulic press (1).

    Special Tool 

    1. 09913-84510 
    Fig 5: Pressing Front Taper Roller Bearing To Bevel Pinion Using Special Tool
    G06528600Courtesy of SUZUKI OF AMERICA CORP.
  4. Apply gear oil "A" to front taper roller bearing (1).
  5. Install bevel pinion (3) with new spacer (2) to transfer output retainer (4).
    CAUTION: Be sure to use new spacer.
  6. Apply gear oil "A" to rear taper roller bearing (5).
  7. Install rear taper roller bearing to bevel pinion by using special tool tapping lightly with plastic hammer.

    Special Tool 

    1. 09913-84510 
    Fig 6: Installing Rear Taper Roller Bearing To Bevel Pinion By Using Special Tool
    G06528601Courtesy of SUZUKI OF AMERICA CORP.
  8. Apply grease to new oil seal (1) lip.

    "A": Grease 99000-25011 (SUZUKI Super Grease A) 

  9. Install oil seal in transfer output retainer (2) by using special tool and hammer.

    Special Tool 

    1. 09913-85210 

    Transfer output flange oil seal installing depth 

    "g": 23.0 - 24.0 mm (0.90 - 0.94 in.) 

    Fig 7: Identifying Transfer Output Flange Oil Seal Depth
    G06528602Courtesy of SUZUKI OF AMERICA CORP.
  10. Install transfer output flange (1) by tapping with plastic hammer and tighten new transfer output flange nut gradually so as rotational torque of bevel pinion to be in specified value.
    CAUTION: The transfer output flange nut is precoated with adhesive. If an overtightened nut is loosened to the specified torque and is used as it is, the nut may loosen. To tighten the transfer output flange nut, tighten the nut slowly and carefully while measuring the pinion preload, until the specified pinion preload is obtained. Never loosen the nut. If the nut is overtightened, replace the spacer and nut and then tighten the nut.
    NOTE: Before preload measurement with torque wrench, rotate special tool more than 15 revolutions by hand.

    Bevel pinion bearing preload 

    : 0.5 - 1.3 N.m (0.05 - 0.13 kgf-m, 0 - 1.0 lbf-ft) (rotational speed about 50 rpm) 

    Tightening torque 

    Transfer output flange nut: 100 - 300 N.m (10.2 - 30.6 kg-m, 74.0 - 221.5 lbf-ft) 

    Special Tool 

    1. 09930-40113 
    Fig 8: Installing Transfer Output Flange
    G06528603Courtesy of SUZUKI OF AMERICA CORP.
    Fig 9: Tightening Transfer Output Flange Nut
    G06528604Courtesy of SUZUKI OF AMERICA CORP.
  11. Apply grease to new O-ring (1), and install it to transfer output retainer (2).

    "A": Grease 99000-25011 (SUZUKI Super Grease A) 

    Fig 10: Identifying O-Ring And Transfer Output Retainer
    G06528605Courtesy of SUZUKI OF AMERICA CORP.