LEMON Manuals: Even more car manuals for everyone: 1960-2025
Home >> Toyota >> 1983 >> Celica Supra Base, Standard >> Repair and Diagnosis >> Engine Performance >> System >> TCCS Engine Control System >> Testing >> Trouble Code 41 TPS Sensor & Circuit
April 5, 2026: LEMON Manuals is launched! Read the announcement.

Trouble Code 41 TPS Sensor & Circuit

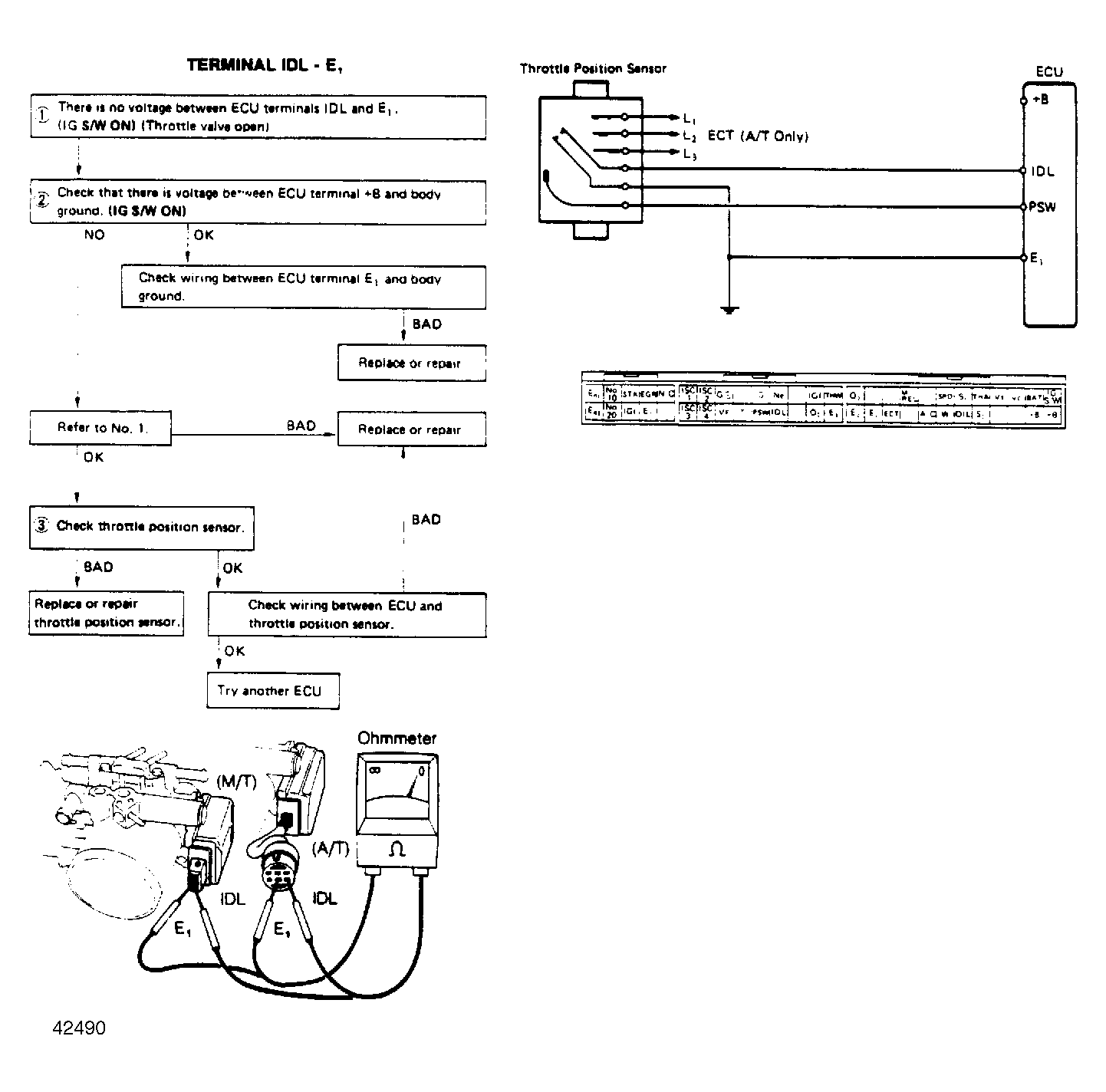
Fig 1: Trouble Code 41, Terminal IDL - E1
G42490Courtesy of © TOYOTA, LICENSE AGREEMENT TMS1002
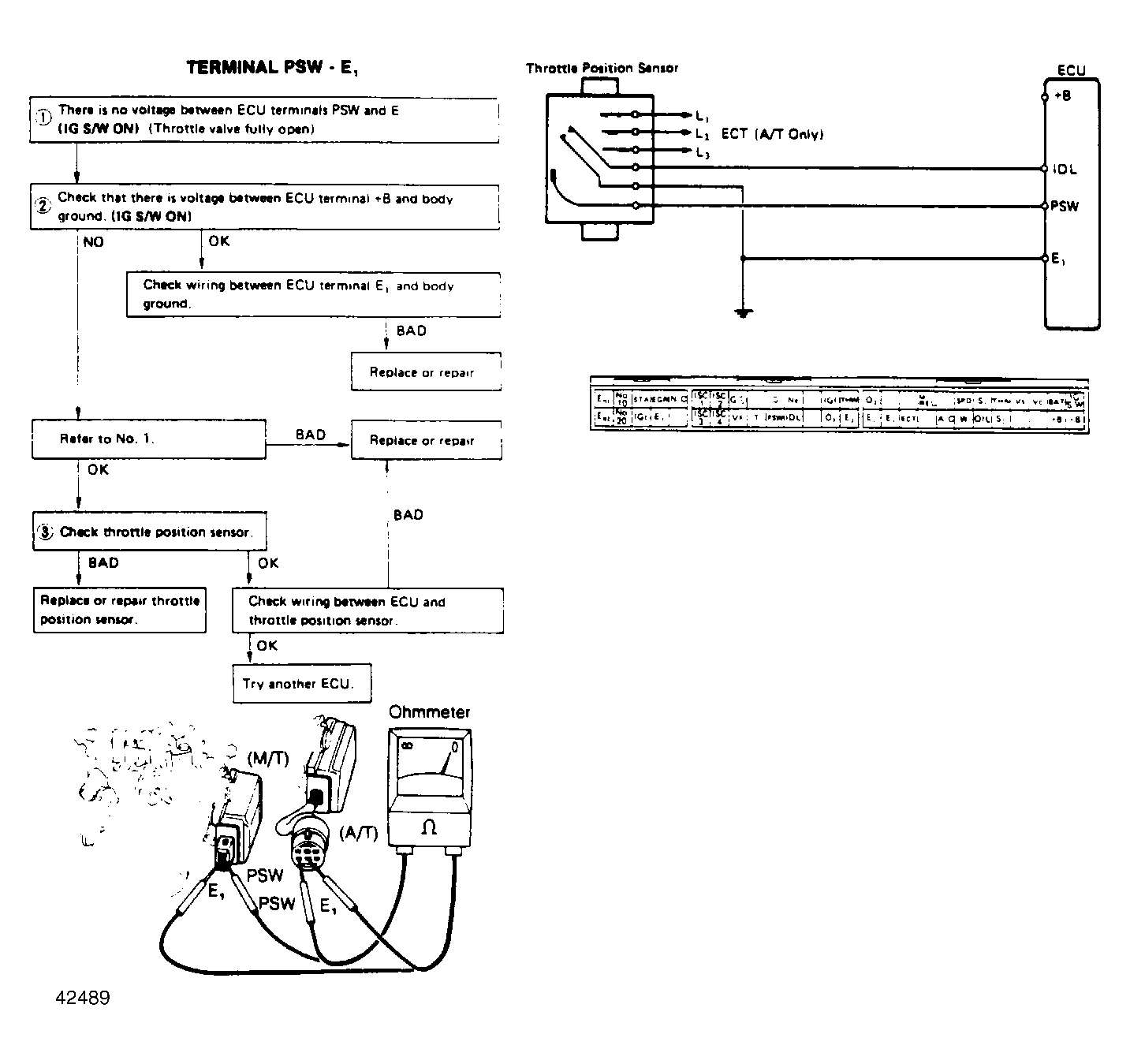
Fig 2: Trouble Code 41, Terminal PSW - E1
G42489Courtesy of © TOYOTA, LICENSE AGREEMENT TMS1002