LEMON Manuals: Even more car manuals for everyone: 1960-2025
Home >> Toyota >> 1985 >> Celica ST >> Repair and Diagnosis >> Engine Performance >> System >> TCCS System >> System Testing >> Trouble Code 10 Blinks Ignition & Starter Circuit
April 5, 2026: LEMON Manuals is launched! Read the announcement.

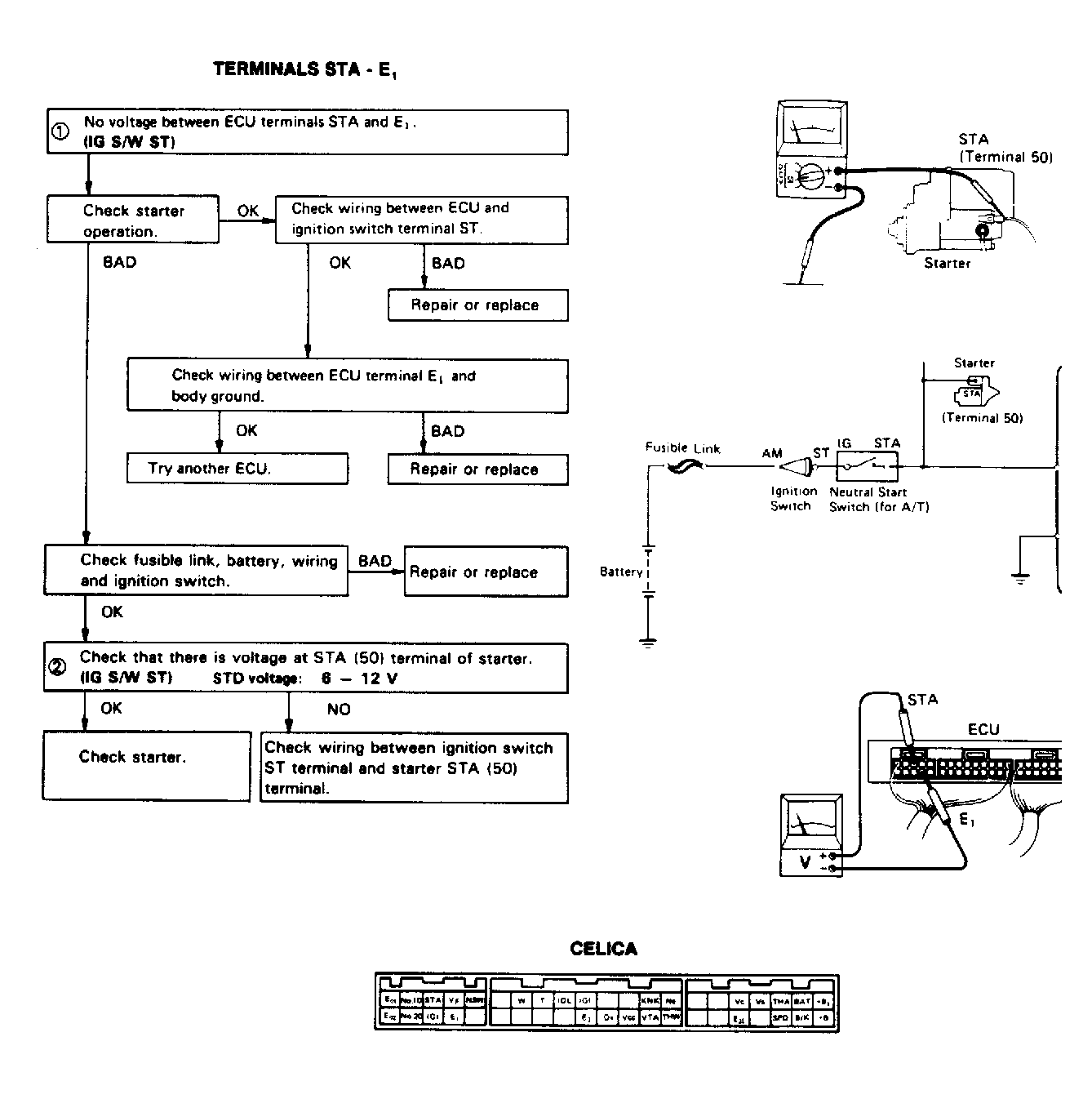
Trouble Code 10 Blinks Ignition & Starter Circuit

Fig 1: Terminals STA - E1
G42884Courtesy of © TOYOTA, LICENSE AGREEMENT TMS1002