LEMON Manuals: Even more car manuals for everyone: 1960-2025
Home >> Toyota >> 1985 >> Van LE, Automatic >> Repair and Diagnosis >> Engine Performance >> System >> ECS CEC System >> System Testing >> Diagnostic Circuit Check
April 5, 2026: LEMON Manuals is launched! Read the announcement.

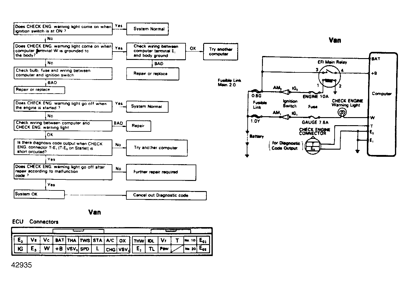
Diagnostic Circuit Check

Fig 1: Diagnostic Circuit Check
G42935Courtesy of © TOYOTA, LICENSE AGREEMENT TMS1002