LEMON Manuals: Even more car manuals for everyone: 1960-2025
Home >> Toyota >> 1992 >> Land Cruiser >> Repair and Diagnosis >> Engine Performance >> System >> Engine Controls - System/Component Tests >> Idle Control System >> Idle Speed Control (ISC) System
April 5, 2026: LEMON Manuals is launched! Read the announcement.

Idle Speed Control (ISC) System

  1. Listen for clicking sound at ISC valve immediately after engine is shut off. The ISC valve is located on air intake chamber, near throttle body.
  2. If no sound is heard, check ISC valve and wiring circuit between Electronic Control Unit (ECU) and ISC valve. See appropriate wiring diagram in WIRING DIAGRAMS article in the ENGINE PERFORMANCE Section. The ECU is located near the glove box.
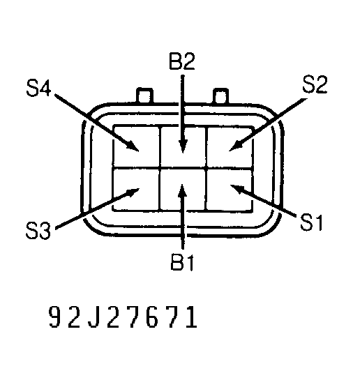
  3. To check ISC valve resistance, ensure ignition is off. Disconnect electrical connector from ISC valve. Note ISC valve terminals. See Fig 1.
  4. Using ohmmeter, measure resistance between specified terminals. See ISC VALVE RESISTANCE SPECIFICATIONS table. Replace ISC valve if resistance is not within specification.
    ISC VALVE RESISTANCE SPECIFICATIONS

    Terminals Ohms
    B1 To S1 Or S3 10-30
    B2 To S2 Or S4 10-30
    NOTE: Before removing ISC valve, drain coolant from cooling system. Remove both coolant by-pass hoses.
  5. To check ISC valve operation, remove ISC valve. Apply battery voltage to terminals B1 and B2. See Fig 2-Fig 3 . Repeatedly ground terminals in sequence and ensure ISC valve closes and opens. See ISC VALVE GROUNDING SEQUENCE table. Replace ISC valve if defective.
ISC VALVE GROUNDING SEQUENCE

Application Terminal Grounding Sequence
To Close ISC Valve S1-S2-S3-S4
To Open ISC Valve S4-S3-S2-S1
Fig 1: Identifying ISC Valve Terminals
G92J27671Courtesy of © TOYOTA, LICENSE AGREEMENT TMS1002
Fig 2: Checking ISC Valve Operation; Closing ISC Valve (Camry 3.0L Shown; Land Cruiser Is Similar)
G92A27672Courtesy of © TOYOTA, LICENSE AGREEMENT TMS1002
Fig 3: Checking ISC Valve Operation; Opening ISC Valve (Camry 3.0L Shown; Land Cruiser Is Similar)
G92B27673Courtesy of © TOYOTA, LICENSE AGREEMENT TMS1002