LEMON Manuals: Even more car manuals for everyone: 1960-2025
Home >> Toyota >> 1993 >> Tercel Base >> Repair and Diagnosis >> External Pages >> Different car >> Section 5 (Engine Controls - Tests W/Codes) >> Diagnostic Code Charts >> Code 21, 27 - O2 Sensor Signal
April 5, 2026: LEMON Manuals is launched! Read the announcement.

Code 21, 27 - O2 Sensor Signal

WARNING: This page is about a different car, the 1993 Toyota MR2. However, it is still accessible from the selected car via links, so may be relevant.
NOTE: Code 27 applies to 5S-FE only.
Fig 1: Code 21, 27 Flow Chart (All Engines) - O2 Sensor Signal
G93F79470Courtesy of © TOYOTA, LICENSE AGREEMENT TMS1002
Fig 2: Code 21 Schematic (3S-GTE) - O2 Sensor Signal
G93C79469Courtesy of © TOYOTA, LICENSE AGREEMENT TMS1002
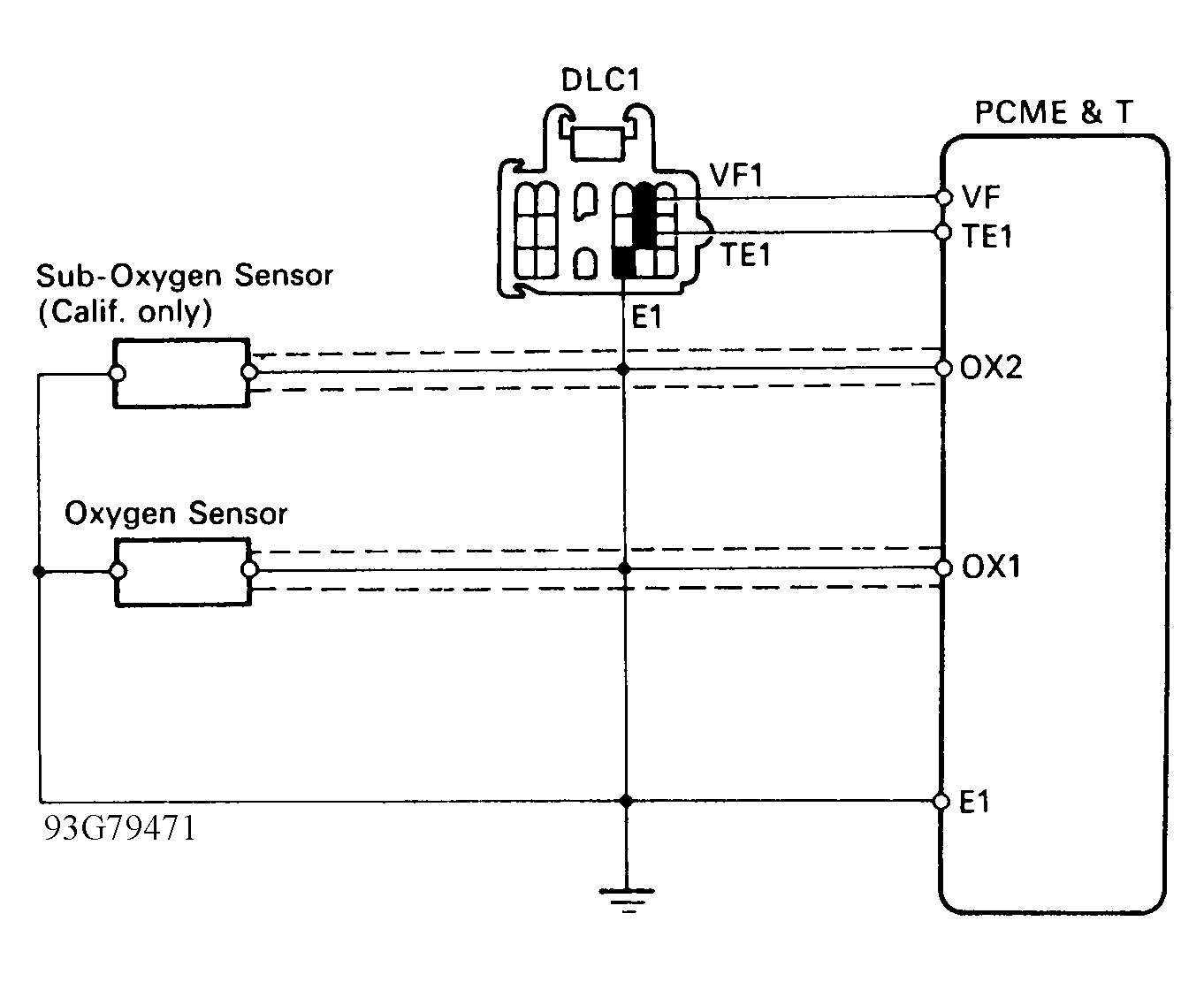
Fig 3: Code 21, 27 Schematic (5S-FE) - O2 Sensor Signal
G93G79471Courtesy of © TOYOTA, LICENSE AGREEMENT TMS1002