LEMON Manuals: Even more car manuals for everyone: 1960-2025
Home >> Toyota >> 2001 >> 4Runner Base >> Repair and Diagnosis >> External Pages >> Different car >> Section 322 (Power Window Control System) >> Power Window Control System >> Inspection
April 5, 2026: LEMON Manuals is launched! Read the announcement.

Power Window Control System: Inspection

WARNING: This page is about a different car, the 2002 Toyota 4Runner. However, it is still accessible from the selected car via links, so may be relevant.
  1. Inspect power window master switch continuity  :

    Connect the positive (+) lead from the battery to terminals 3 and 10, and the negative (-) lead to terminal 4.

    Fig 1: Identifying Power Window Master Switch Terminals
    G01908917Courtesy of © TOYOTA, LICENSE AGREEMENT TMS1002
    Fig 2: Front Driver's Switch Specifications
    G01908911Courtesy of © TOYOTA, LICENSE AGREEMENT TMS1002
    Fig 3: Front Passenger Switch Specifications
    G01908912Courtesy of © TOYOTA, LICENSE AGREEMENT TMS1002
    Fig 4: Rear Left Switch Specifications (Window Unlock)
    G01908913Courtesy of © TOYOTA, LICENSE AGREEMENT TMS1002
    Fig 5: Rear Left Switch Specifications (Window Lock)
    G01908914Courtesy of © TOYOTA, LICENSE AGREEMENT TMS1002
    Fig 6: Rear Right Switch Specifications (Window Unlock)
    G01908915Courtesy of © TOYOTA, LICENSE AGREEMENT TMS1002
    Fig 7: Rear Right Switch Specifications (Window Lock)
    G01908916Courtesy of © TOYOTA, LICENSE AGREEMENT TMS1002

    If the continuity is not as specified, replace the master switch.

  2. Using an ammeter, inspect one touch power window system/current of circuit  :
    1. Disconnect the connector from the master switch.
    2. Connect the positive (+) lead from the ammeter to terminal 1 on the wire harness side connector, and the negative (-) lead to negative terminal of the battery.
    3. Connect the positive (+) lead from the battery to terminal 2 on the wire harness side connector.
      Fig 8: Testing One Touch Power Window Circuit (1 Of 2)
      G01908918Courtesy of © TOYOTA, LICENSE AGREEMENT TMS1002
    4. As the window goes down, check that the current flow is approximately 7 A.
    5. NOTE: The circuit breaker opens for 4-40 seconds after the window stops going down, so that check must be made before the circuit breaker operates. If the operation is as specified, replace the master switch.
      Fig 9: Testing One Touch Power Window Circuit (2 Of 2)
      G01908919Courtesy of © TOYOTA, LICENSE AGREEMENT TMS1002
    6. Check that the current increases up to approximately 14.5 A or more when the window stops going down.
  3. Using an ammeter with a current - measuring probe, inspect one touch power window system/current of circuit  :
    1. Remove the master switch with the connector connected.
    2. Attach a current-measuring probe to terminal 3 of the wire harness.
    3. Turn the ignition switch ON and set the power window switch in the down position.
    4. As the window goes down, check that the current flow is approximately 7 A.
      Fig 10: Testing One Touch Power Window Circuit W/Inductive Probe (1 Of 2)
      G01908920Courtesy of © TOYOTA, LICENSE AGREEMENT TMS1002
    5. NOTE: The circuit breaker opens for 4-40 seconds after the window stops going down, so the check must be made before the circuit breaker operates.
      Fig 11: Testing One Touch Power Window Circuit W/Inductive Probe (2 Of 2)
      G01908921Courtesy of © TOYOTA, LICENSE AGREEMENT TMS1002
    6. Check that the current increases up to approximately 14.5 A or more when the window stops going down.

      If the operation is not as specified, replace the master switch.

  4. Inspect power window master switch circuit  :

    Disconnect the connector from the master switch and inspect the connector on the wire harness side.

    Fig 12: Identifying Power Window Master Switch Terminals (Wire Harness Side)
    G01908923Courtesy of © TOYOTA, LICENSE AGREEMENT TMS1002
    Fig 13: Power Window Master Switch Terminal Specifications (Wire Harness Side)
    G01908922Courtesy of © TOYOTA, LICENSE AGREEMENT TMS1002
  5. Inspect power window switch continuity  :

    Connect the positive (+) lead from the battery to terminal 7 and negative (-) lead to terminal 12.

    Fig 14: Identifying Power Window Switch Terminals
    G01908925Courtesy of © TOYOTA, LICENSE AGREEMENT TMS1002
    Fig 15: Power Window Switch Terminal Specifications
    G01908924Courtesy of © TOYOTA, LICENSE AGREEMENT TMS1002

    If the continuity is not as specified, replace the switch.

  6. Inspect power window switch circuit  :

    Disconnect the connector from the switch and inspect the connector on the wire harness side.

    Fig 16: Identifying Power Window Switch Terminals (Wire Harness Side)
    G01908927Courtesy of © TOYOTA, LICENSE AGREEMENT TMS1002
    Fig 17: Power Window Switch Terminal Specifications (Wire Harness Side)
    G01908926Courtesy of © TOYOTA, LICENSE AGREEMENT TMS1002
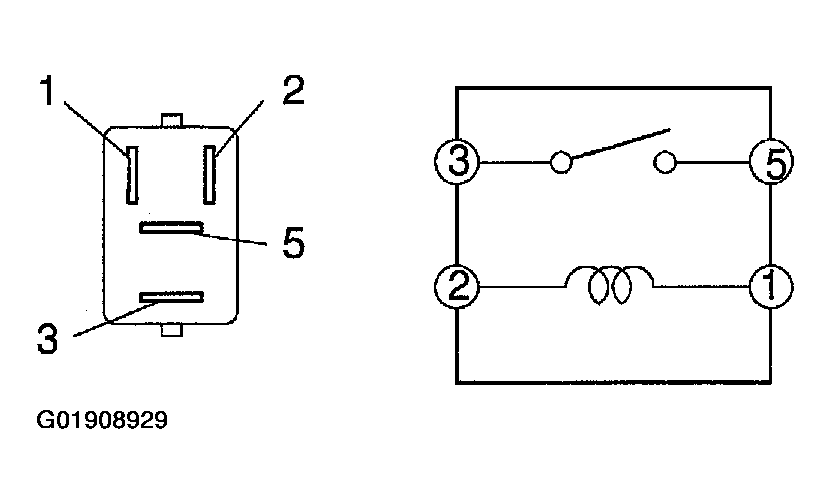
  7. Inspect power main relay continuity  :
    Fig 18: Identifying Power Main Relay Terminals
    G01908929Courtesy of © TOYOTA, LICENSE AGREEMENT TMS1002
    Fig 19: Identifying Power Main Relay Terminal Specifications
    G01908928Courtesy of © TOYOTA, LICENSE AGREEMENT TMS1002

    If the continuity is not as specified, replace the relay.

  8. Inspect driver's door power window motor operation  :
    1. Connect the positive (+) lead from the battery to terminal 1 and the negative (-) lead to terminal 2, and check that the motor turns clockwise.
      Fig 20: Testing Driver's Door Power Window Motor
      G01908930Courtesy of © TOYOTA, LICENSE AGREEMENT TMS1002
    2. Reverse the polarity, check that the motor turns counterclockwise.

      If the operation is not as specified, replace the motor.

  9. Inspect front passenger's door power window motor operation  :
    1. Connect the positive (+) lead from the battery to terminal 1 and the negative (-) lead to terminal 2, and check that the motor turns clockwise.
      Fig 21: Testing Passenger's Door Power Window Motor
      G01908931Courtesy of © TOYOTA, LICENSE AGREEMENT TMS1002
    2. Reverse the polarity, check that the motor turns counterclockwise.

      If the operation is not as specified, replace the motor.

  10. Inspect rear left side door power window motor operation  :
    1. Connect the positive (+) lead from the battery to terminal 1 and the negative (-) lead to terminal 2, and check that the motor turns clockwise.
      Fig 22: Testing Rear Left Side Door Power Window Motor
      G01908932Courtesy of © TOYOTA, LICENSE AGREEMENT TMS1002
    2. Reverse the polarity, check that the motor turns counterclockwise.

      If the operation is not as specified, replace the motor.

  11. Inspect rear right side door power window motor operation  :
    1. Connect the positive (+) lead from the battery to terminal 2 and the negative (-) lead to terminal 1, and check that the motor turns clockwise.
      Fig 23: Testing Rear Right Side Door Power Window Motor
      G01908933Courtesy of © TOYOTA, LICENSE AGREEMENT TMS1002
    2. Reverse the polarity, check that the motor turns counterclockwise.

      If the operation is not as specified, replace the motor.

  12. Inspect driver's door power window motor circuit breaker operation  :
    1. Disconnect the connector from the master switch.
    2. Connect the positive (+) lead from the battery to terminal 1 and the negative (-) lead to terminal 2 on the wire harness side connector, and raise the window to the fully closed position.
      Fig 24: Testing Driver's Door Power Window Motor Circuit Breaker (1 Of 2)
      G01908934Courtesy of © TOYOTA, LICENSE AGREEMENT TMS1002
    3. Continue to apply voltage, check that there is a circuit breaker operation noise within approximately 4 to 40 seconds.
    4. Reverse the polarity, check that the window begins to descend within approximately 60 seconds.
      Fig 25: Testing Driver's Door Power Window Motor Circuit Breaker (2 Of 2)
      G01908935Courtesy of © TOYOTA, LICENSE AGREEMENT TMS1002

      If the operation is not as specified, replace the motor.

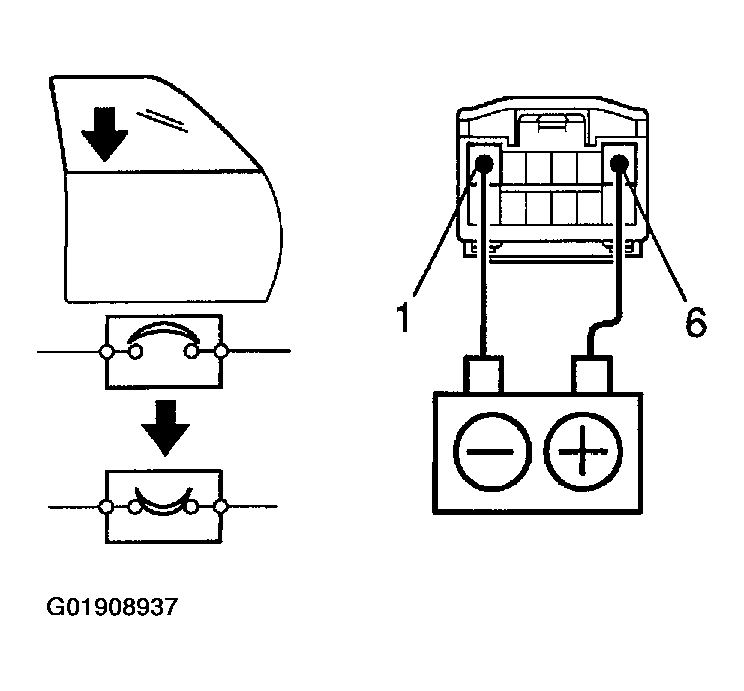
  13. Inspect Front Passenger's Door Power Window Motor Circuit Breaker Operation 
    1. Disconnect the connector from the power window switch.
    2. Connect the positive (+) lead from the battery to terminal 1 and the negative (-) lead to terminal 6 on the wire harness side, and raise the window to the fully closed position.
      Fig 26: Testing Driver's Door Power Window Motor Circuit Breaker (1 Of 2)
      G01908936Courtesy of © TOYOTA, LICENSE AGREEMENT TMS1002
    3. Continue to apply voltage, checking that there is a circuit breaker operation noise within approximately 4 to 40 seconds.
    4. Reverse the polarity, check that the window begins to descend within approximately 60 seconds.
      Fig 27: Testing Driver's Door Power Window Motor Circuit Breaker (2 Of 2)
      G01908937Courtesy of © TOYOTA, LICENSE AGREEMENT TMS1002

      If the operation is not as specified, replace the motor.

  14. Inspect rear left side door power window motor circuit breaker operation. See step   13 . 
  15. Inspect rear right side power window motor circuit breaker operation. See step   13 . 
  16. NOTE: When the ECU circuit is as specified, inspect the key-off power window signal.
  17. Inspect key-off power window signal operation of integration relay  :
    1. Connect the positive (+) lead from the voltmeter to terminal 2 and the negative (-) lead to the body ground.
      Fig 28: Testing Integration Relay Key-Off Power Window Signal
      G01908938Courtesy of © TOYOTA, LICENSE AGREEMENT TMS1002
    2. Close the door with the ignition switch turned to LOCK or ACC, and check that the meter needle indicates battery positive voltage.
    3. Open the door and check that the meter needle indicates 0 V.
    4. Turn the ignition switch ON and check that the meter needle indicates battery positive voltage again.

      If the operation is not as specified, replace the driver side J/B.