LEMON Manuals: Even more car manuals for everyone: 1960-2025
Home >> Toyota >> 2001 >> Prius >> Repair and Diagnosis >> Body & Frame >> Body, Cab Control Systems >> Body Control Systems >> Component Tests >> DRL Relay
April 5, 2026: LEMON Manuals is launched! Read the announcement.

DRL Relay

  1. Ensure ignition is off. Remove DRL relay from fuse/relay box located at passenger's side of engine compartment, near strut tower.
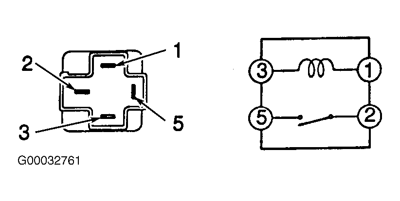
  2. Note identification of electrical terminals on DRL relay. See Fig 1. Using ohmmeter, check that no continuity exists between terminals No. 2 and 5 on DRL relay. Check that continuity exists between terminals No. 1 and 3 on DRL relay.
  3. Using jumper wires, apply battery voltage and ground to terminals No. 1 and 3 on DRL relay. Check that continuity now exists between terminals No. 2 and 5 on DRL relay. See Fig 1. Replace DRL relay if defective.
    Fig 1: Identifying Electrical Terminals On DRL Relay & Headlight Relay
    G00032761Courtesy of © TOYOTA, LICENSE AGREEMENT TMS1002