LEMON Manuals: Even more car manuals for everyone: 1960-2025
Home >> Toyota >> 2001 >> Prius >> Repair and Diagnosis >> Body & Frame >> Body, Cab Control Systems >> Body Control Systems >> Component Tests >> Power Relay
April 5, 2026: LEMON Manuals is launched! Read the announcement.

Power Relay

NOTE: Power relay may also be referred to as power main relay.
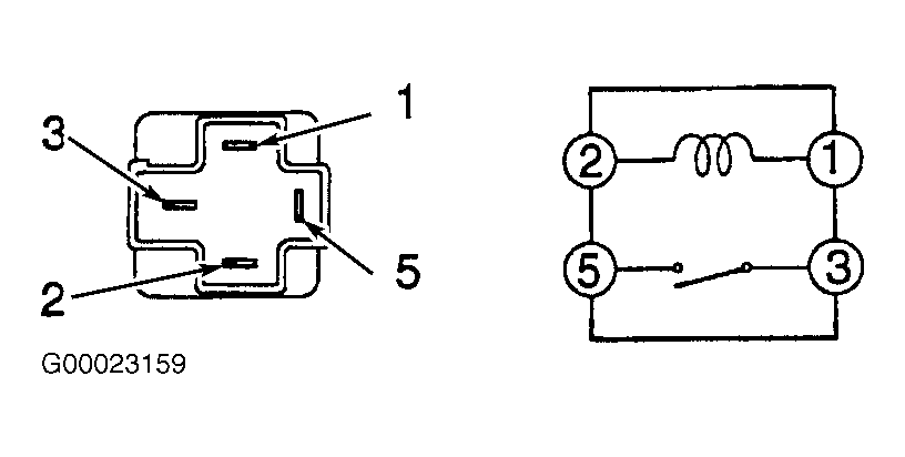
  1. Ensure ignition is off. Remove power relay. Power relay is located in fuse/relay box at driver's side of instrument panel. See Figure.
  2. Note identification of electrical terminals on power relay. See Fig 1. Using ohmmeter, check that no continuity exists between terminals No. 3 and 5 on power relay. Check that continuity exists between terminals No. 1 and 2 on power relay.
  3. Using jumper wires, apply battery voltage and ground to terminals No. 1 and 2 on power relay. Check that continuity now exists between terminals No. 3 and 5 on power relay. See Fig 1. Replace power relay if defective.
    Fig 1: Identifying Electrical Terminals On Power Relay
    G00023159Courtesy of © TOYOTA, LICENSE AGREEMENT TMS1002