LEMON Manuals: Even more car manuals for everyone: 1960-2025
Home >> Toyota >> 2002 >> Corolla LE, Standard >> Repair and Diagnosis >> External Pages >> Different car >> Section 247 (Power Window Control System) >> Power Window Control System >> Inspection
April 5, 2026: LEMON Manuals is launched! Read the announcement.

Power Window Control System: Inspection

WARNING: This page is about a different car, the 2002 Toyota ECHO. However, it is still accessible from the selected car via links, so may be relevant.
  1. 2 Door Models: 

    Inspect Power Window Master Switch Continuity  :

    Fig 1: Identifying Power Window Master Switch Terminals (2 Door Models)
    G01894839Courtesy of © TOYOTA, LICENSE AGREEMENT TMS1002
    Fig 2: Driver's Switch Specifications
    G01894836Courtesy of © TOYOTA, LICENSE AGREEMENT TMS1002
    Fig 3: Passenger's Switch Specifications (Window Unlock)
    G01894837Courtesy of © TOYOTA, LICENSE AGREEMENT TMS1002
    Fig 4: Passenger's Switch Specifications (Window Lock)
    G01894838Courtesy of © TOYOTA, LICENSE AGREEMENT TMS1002

    If continuity is not as specified, replace the switch.

  2. 4 Door Models: 

    Inspect Power Window Master Switch Continuity  :

    Fig 5: Identifying Power Window Master Switch Terminals (4 Door Models)
    G01894842Courtesy of © TOYOTA, LICENSE AGREEMENT TMS1002
    Fig 6: Front Driver's Switch Specifications
    G01894840Courtesy of © TOYOTA, LICENSE AGREEMENT TMS1002
    Fig 7: Front Passenger's Switch Specifications (Window Unlock)
    G01894841Courtesy of © TOYOTA, LICENSE AGREEMENT TMS1002
    Fig 8: Front Passenger's Switch Specifications (Window Lock)
    G01894843Courtesy of © TOYOTA, LICENSE AGREEMENT TMS1002
    Fig 9: Rear Left Switch Specifications (Window Unlock)
    G01894844Courtesy of © TOYOTA, LICENSE AGREEMENT TMS1002
    Fig 10: Rear Left Switch Specifications (Window Lock)
    G01894845Courtesy of © TOYOTA, LICENSE AGREEMENT TMS1002
    Fig 11: Rear Right Switch Specifications (Window Unlock)
    G01894846Courtesy of © TOYOTA, LICENSE AGREEMENT TMS1002
    Fig 12: Rear Right switch Specifications (Window lock)
    G01894847Courtesy of © TOYOTA, LICENSE AGREEMENT TMS1002

    If continuity is not as specified, replace the master switch.

  3. 2 Door Models: 

    Inspect One Touch Power Window System (Using An Ammeter)  :

    1. Disconnect the connector from the master switch.
    2. Connect the positive (+) lead from the ammeter to terminal 3 on the wire harness side connector and the negative (-) lead to the negative (-) terminal of the battery.
      Fig 13: Testing 2 Door Model One Touch Power Window Circuits (1 Of 2)
      G01894848Courtesy of © TOYOTA, LICENSE AGREEMENT TMS1002
    3. Connect the positive (+) lead from the battery to terminal 4 on the wire harness side connector.
    4. As the window goes down, check that the current is approximately 7 A.
    5. NOTE: The circuit breaker opens for 7 - 13 seconds after the window stops going down, so that check must be made before the circuit breaker operates.
      Fig 14: Testing 2 Door Model One Touch Power Window Circuits (2 Of 2)
      G01894849Courtesy of © TOYOTA, LICENSE AGREEMENT TMS1002
    6. Check that the current increases up to approximately 14.5 A or more when the window stops going down.

    If operation is not as specified, replace the master switch.

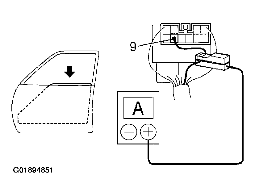
  4. 2 Door Models: 

    Inspect One Touch Power Window System  , (Using An Ammeter With A Current-Measuring Probe).

    1. Remove the master switch with connector connected.
    2. Attach a current-measuring probe to terminal 9 of the wire harness.
      Fig 15: Probe Testing 2 Door Model One Touch Power Window Circuits (1 Of 2)
      G01894850Courtesy of © TOYOTA, LICENSE AGREEMENT TMS1002
    3. Turn the ignition switch ON, and set the power window switch in the down position.
    4. As the window goes down, check that the current is approximately 7 A.
    5. NOTE: The circuit breaker opens for 7 - 13 seconds after the window stops going down, so that check must be made before the circuit beaker operates.
      Fig 16: Probe Testing 2 Door Model One Touch Power Window Circuits (1 Of 2)
      G01894851Courtesy of © TOYOTA, LICENSE AGREEMENT TMS1002
    6. Check that the current increases up to approximately 14.5 A or more when the window stops going down.

    If operation is not as specified, replace the master switch.

  5. 4 Door Models: 

    Inspect One Touch Power Window System  , (Using An Ammeter)

    1. Disconnect the connector from the master switch.
    2. Connect the positive (+) lead from the ammeter to terminal 1 on the wire harness side connector and the negative (-) lead to the negative terminal of the battery.
      Fig 17: Testing 4 Door Model One Touch Power Window Circuits (1 Of 2)
      G01894852Courtesy of © TOYOTA, LICENSE AGREEMENT TMS1002
    3. Connect the positive (+) lead from tee battery to terminal 5 on the wire harness side connector.
    4. As the window goes down, check that the current flow is approximately 7 A.
    5. NOTE: The circuit breaker opens some 4-40 seconds after the window stops going down, so that check must be made before the circuit breaker operates.
      Fig 18: Testing 4 Door Model One Touch Power Window Circuits (2 Of 2)
      G01894853Courtesy of © TOYOTA, LICENSE AGREEMENT TMS1002
    6. Check that the current increases up to approximately 14.5 A or more when the window stops going down.

    If the operation is as specified, replace the master switch.

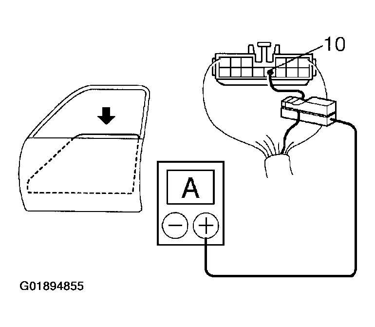
  6. 4 Door Models: 

    Inspect One Touch Power Window System  (Using An Ammeter With A Current-Measuring Probe).

    1. Remove the master switch with connector connected.
    2. Attach a current-measuring probe to terminal 10 of the wire harness.
      Fig 19: Probe Testing 4 Door Model One Touch Power Window Circuits (1 Of 2)
      G01894854Courtesy of © TOYOTA, LICENSE AGREEMENT TMS1002
    3. Turn the ignition switch ON and set the power window switch in the down position.
    4. As the window goes down, check that the current flow is approximately 7 A.
    5. NOTE: The circuit breaker opens for 4-40 seconds after the window stops going down, so that check must be made before the circuit breaker operates.
      Fig 20: Probe Testing 4 Door Model One Touch Power Window Circuits (2 Of 2)
      G01894855Courtesy of © TOYOTA, LICENSE AGREEMENT TMS1002
    6. Check that the current increases up to approximately 14.5 A or more when the window stops going down.

    If operation is as specified, replace the master switch.

  7. Inspect passenger's power window switch continuity  :
    Fig 21: Identifying Passenger's Power Window Switch Terminals
    G01894857Courtesy of © TOYOTA, LICENSE AGREEMENT TMS1002
    Fig 22: Passenger's Power Window Switch Specifications
    G01894856Courtesy of © TOYOTA, LICENSE AGREEMENT TMS1002

    If continuity is not as specified, replace the switch

  8. 4 Door Models: 

    Inspect Rear Door Power Window Switch Continuity  .

    Fig 23: Identifying Rear Door Power Window Switch Terminals
    G01894859Courtesy of © TOYOTA, LICENSE AGREEMENT TMS1002
    Fig 24: Rear Door Power Window Switch Terminal Specifications
    G01894858Courtesy of © TOYOTA, LICENSE AGREEMENT TMS1002

    If continuity is not as specified, replace the switch

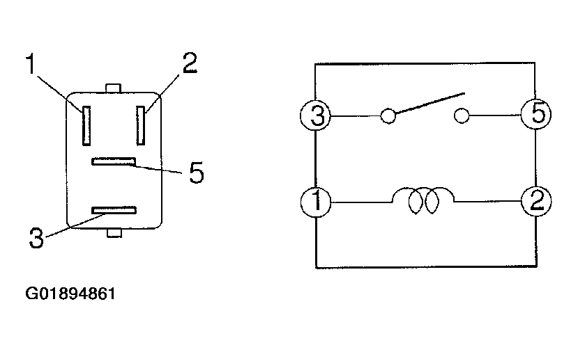
  9. Inspect Power Main Relay Continuity 
    Fig 25: Identifying Power Main Relay Terminals
    G01894861Courtesy of © TOYOTA, LICENSE AGREEMENT TMS1002
    Fig 26: Power Main Relay Terminal Specifications
    G01894860Courtesy of © TOYOTA, LICENSE AGREEMENT TMS1002

    If continuity is not as specified, replace the switch.

  10. Front Left Side Door: 

    Inspect Power Window Motor Operation  .

    1. Connect the positive (+) lead from the battery to terminal 4 and the negative (-) lead to terminal 5, and check that the motor turns clockwise.
      Fig 27: Testing Front Left Side Door Power Window Motor Operation (1 Of 2)
      G01894862Courtesy of © TOYOTA, LICENSE AGREEMENT TMS1002
    2. Reverse the polarity, check that the motor turns counterclockwise.
      Fig 28: Testing Front Left Side Door Power Window Motor Operation (2 Of 2)
      G01894863Courtesy of © TOYOTA, LICENSE AGREEMENT TMS1002

      If operation is not as specified, replace the motor.

  11. Front Right Side Door: 

    Inspect Power Window Motor Operation  .

    1. Connect the positive (+) lead from the battery to terminal 5 and the negative (-) lead to terminal 4, and check that the motor turns clockwise:
      Fig 29: Testing Front Right Side Door Power Window Motor Operation (1 Of 2)
      G01894864Courtesy of © TOYOTA, LICENSE AGREEMENT TMS1002
    2. Reverse the polarity, check that the motor turns counterclockwise.
      Fig 30: Testing Front Right Side Door Power Window Motor Operation (2 Of 2)
      G01894865Courtesy of © TOYOTA, LICENSE AGREEMENT TMS1002

      If operation is not as specified, replace the motor.

  12. Rear Left Side Door: 

    Inspect Power Window Motor Operation  .

    1. Connect the positive (+) lead from the battery to terminal 1 and the negative (-) lead to terminal 2, and check that the motor turns clockwise.
      Fig 31: Testing Rear Left Side Door Power Window Motor Operation (1 Of 2)
      G01894866Courtesy of © TOYOTA, LICENSE AGREEMENT TMS1002
    2. Reverse the polarity, check that the motor turns counterclockwise.
      Fig 32: Testing Rear Left Side Door Power Window Motor Operation (2 Of 2)
      G01894867Courtesy of © TOYOTA, LICENSE AGREEMENT TMS1002

      If operation is not as specified, replace the motor.

  13. Rear Right Side Door: 

    Inspect Power Window Motor Operation  .

    1. Connect the positive (+) led from the battery to terminal 1 and the negative (-) lead to terminal 2, and check that the motor turns clockwise.
      Fig 33: Testing Rear Right Side Door Power Window Motor Operation (1 Of 2)
      G01894868Courtesy of © TOYOTA, LICENSE AGREEMENT TMS1002
    2. Reverse the polarity, check that the motor turns counterclockwise.
      Fig 34: Testing Rear Right Side Door Power Window Motor Operation (2 Of 2)
      G01894869Courtesy of © TOYOTA, LICENSE AGREEMENT TMS1002

      If operation is not as specified, replace the motor.

  14. 2 Door Models Driver's Door: 

    Inspect PTC Operation  .

    Fig 35: Testing 2 Door Model PTC Operation (1 Of 2)
    G01894870Courtesy of © TOYOTA, LICENSE AGREEMENT TMS1002
    1. Disconnect the connector from the master switch.
    2. Connect the positive (+) lead from the battery to terminal 3 and the negative (-) lead to terminal 4 on the wire harness side connector and raise the window to full closed position.
    3. Continue to apply voltage, check that there is a circuit breaker operation noise within approximately 4 to 40 seconds.
    4. Reverse the polarity, check that the window begins to descend within approximately 60 seconds.
      Fig 36: Testing 2 Door Model PTC Operation (2 Of 2)
      G01894871Courtesy of © TOYOTA, LICENSE AGREEMENT TMS1002

      If operation is not as specified, replace the motor.

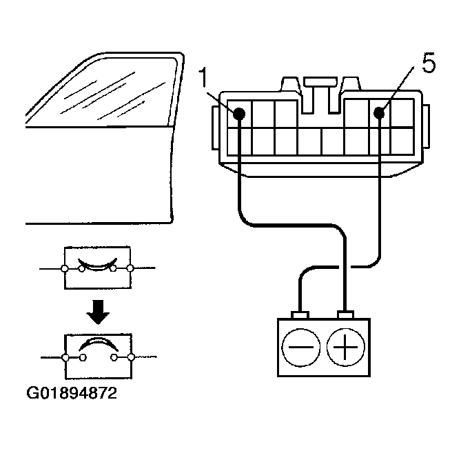
  15. 4 Door Models Driver's Door: 

    Inspect PTC Operation  .

    1. Disconnect the connector from the master switch.
    2. Connect the positive (+) led from the battery to terminal 1 and the negative (-) lead to terminal 5 on the wire harness side connector and raise the window to full closed position.
      Fig 37: Testing 4 Door Model PTC Operation (1 Of 2)
      G01894872Courtesy of © TOYOTA, LICENSE AGREEMENT TMS1002
    3. Continue to apply voltage, check that there is a circuit breaker operation noise within approximately 4 to 40 seconds.
    4. Reverse the polarity, check that the window begins to descend within approximately 60 seconds.
      Fig 38: Testing 4 Door Model PTC Operation (2 Of 2)
      G01894873Courtesy of © TOYOTA, LICENSE AGREEMENT TMS1002

    If operation is not as specified, replace the motor.