LEMON Manuals: Even more car manuals for everyone: 1960-2025
Home >> Toyota >> 2003 >> Highlander Limited, AWD >> Repair and Diagnosis >> General Information >> Identification >> Introduction >> Repair Instruction >> Precaution
April 5, 2026: LEMON Manuals is launched! Read the announcement.

Repair Instruction: Precaution

  1. BASIC REPAIR HINT 
    1. HINTS ON OPERATIONS
      Fig 1: Basic Repair Layout
      G02828009Courtesy of © TOYOTA, LICENSE AGREEMENT TMS1002
      Fig 2: Basic Repair Layout Reference Table
      G02828010Courtesy of © TOYOTA, LICENSE AGREEMENT TMS1002
    2. JACKING UP AND SUPPORTING VEHICLE
      1. Care must be taken when jacking up and supporting the vehicle. Be sure to lift and support the vehicle at the proper locations (See VEHICLE LIFT AND SUPPORT LOCATIONS ).
    3. PRE-COATED PARTS
      1. Pre-coated parts are bolts, nuts, etc. that are coated with a seal lock adhesive at the factory.
        Fig 3: Locating Seal Lock Adhesive
        G02828011Courtesy of © TOYOTA, LICENSE AGREEMENT TMS1002
      2. If a pre-coated part is retightened, loosened or caused to move in any way, it must be recoated with the specified adhesive.
      3. When reusing pre-coated parts, clean off the old adhesive and dry the part with compressed air. Then apply the specified seal lock adhesive to the bolt, nut or threads.
        NOTE: Check the torque with the lower limit value of the torque tolerance.
      4. Depending on the seal lock agent to apply, there may be a case where it is necessary to leave it for a specified time until it hardens.
    4. GASKETS
      1. When necessary, use a sealer on gaskets to prevent leaks.
    5. BOLTS, NUTS AND SCREWS
      1. Carefully observe all the specifications for tightening torques. Always use a torque wrench.
    6. FUSES
      1. When replacing fuses, be sure that a new fuse has the correct amperage rating. DO NOT exceed the rating, or use one with a lower rating.
        Fig 4: Identifying Fuses
        G02828012Courtesy of © TOYOTA, LICENSE AGREEMENT TMS1002
      Fig 5: Identifying Different Fuses Types
      G02828013Courtesy of © TOYOTA, LICENSE AGREEMENT TMS1002
    7. CLIPS
      1. The removal and installation methods of typical clips used in body parts are shown in the table below.
      NOTE: If the clip is damaged during the operation, always replace it with a new clip.
      Fig 6: Identifying Various Clip Types & Removing/Installing Methods For Each Type (1 Of 2)
      G02828014Courtesy of © TOYOTA, LICENSE AGREEMENT TMS1002
      Fig 7: Identifying Various Clip Types & Removing/Installing Methods For Each Type (2 Of 2)
      G02828015Courtesy of © TOYOTA, LICENSE AGREEMENT TMS1002
    8. REMOVAL AND INSTALLATION OF VACUUM HOSES
      1. To disconnect vacuum hoses, pull them by holding the end, not the middle of the hose.
        Fig 8: Removing & Installing Vacuum Hoses
        G02828016Courtesy of © TOYOTA, LICENSE AGREEMENT TMS1002
      2. When disconnecting vacuum hoses, use tags to identify where they should be reconnected.
        Fig 9: Identifying Vacuum Hoses Using Tags
        G02828017Courtesy of © TOYOTA, LICENSE AGREEMENT TMS1002
      3. After completing the job, make a double check whether the vacuum hoses are properly connected. A label under the hood shows the proper layout.
      4. When using a vacuum gauge, never force the hose onto a connector that is too large. Use a step-down adapter for adjustment. Once the hose has been stretched, it may leak air.
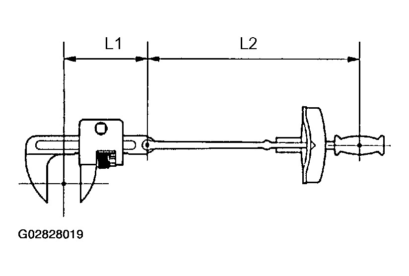
    9. TORQUE WHEN USING TORQUE WRENCH WITH EXTENSION TOOL
      1. When a SST or extension tool is combined with the torque wrench to extend its entire length, if you tighten until the reading of the torque wrench reaches the specified torque value, the actual torque becomes excessive.
        Fig 10: Identifying Torque Wrench With Extension Tool (1 Of 2)
        G02828018Courtesy of © TOYOTA, LICENSE AGREEMENT TMS1002
        Fig 11: Identifying Torque Wrench With Extension Tool (2 Of 2)
        G02828019Courtesy of © TOYOTA, LICENSE AGREEMENT TMS1002
      2. Only the specified torque is described. In case of using SST or extension tool, calculate the reading of the torque wrench by the following formula.
      3. Formula T'=T x L2/(L1 + L2)
      TORQUE WRENCH FORMULA

      T' Reading Of Torque Wrench {N.m (kgf.cm, ft.lbf)}
      T Torque {N.m (kgf.cm, ft.lbf)}
      L1 Length Of SST Or Extension Tool (cm)
      L2 Length Of Torque Wrench (cm)
  2. FOR VEHICLES EQUIPPED WITH SRS AIRBAG AND SEAT BELT PRETENSIONER 
    NOTE: HIGHLANDER is equipped with an SRS (Supplemental Restraint System), such as the driver airbag, front passenger airbag assembly, side airbag assembly and seat belt pretensioner.

    Failure to carry out the service operations in the correct sequence could cause the supplemental restraint system to unexpectedly deploy during servicing. It may lead to a serious accident.

    Furthermore, if a mistake is made in servicing the supplemental restraint system, it is possible that the SRS will fail to operate when required. Before servicing (including removal or installation of parts, inspection or replacement), be sure to read the following items carefully. Then follow the correct procedure described in AIR BAG RESTRAINT SYSTEMS .

    1. GENERAL NOTICE
      1. Malfunction symptoms of the supplemental restraint system are difficult to be confirmed, so the diagnostic trouble codes become the most important source of information when troubleshooting. When troubleshooting the supplemental restraint system, always check the diagnostic trouble codes before disconnecting the battery (See AIR BAG RESTRAINT SYSTEMS ).
      2. Work must be started after 90 seconds from the time the ignition switch is turned to the LOCK position and the negative (-) terminal cable is disconnected from the battery.

        (The supplemental restraint system is equipped with a back-up power source, so, if work is started within 90 seconds after disconnecting the negative (-) terminal cable from the battery, the SRS may deploy.)

        When the negative (-) terminal cable is disconnected from the battery, memory of the clock and audio systems will be cancelled. So, before starting work, make a record of the memorized contents in each memory system. Then, when work is finished, reset the clock and audio systems as before. To avoid erasing the memory in each memory system, never use a back-up power supply form another battery.

      3. Even in case of a minor collision where the SRS does not deploy, the horn button assembly, instrument panel passenger airbag assembly, front seat airbag assembly, assembly and seat belt pretensioner should be inspected (See DISPOSAL PROCEDURES ).
      4. Never use the SRS related parts from another vehicle. When replacing the parts, replace them with new parts.
      5. Before repairs, remove the airbag sensor if shocks are likely to be applied to the sensor during repairs.
      6. Never disassemble and repair the airbag sensor assembly, steering wheel pad, front passenger airbag assembly, front airbag sensor or seat belt pretensioner.
      7. If the airbag sensor assembly, side airbag sensor assembly, steering wheel pad, front passenger airbag assembly, front airbag sensor or seat belt pretensioner have been dropped, or if there are cracks, dents or other defects in the case, bracket or connector, replace them with new ones.
      8. Do not directly expose the airbag sensor assembly, steering wheel pad, front passenger airbag assembly, front airbag sensor or seat belt pretensioner to hot air or flames.
      9. Use a volt/ohmmeter with high impedance (10 kΩ/V minimum) for troubleshooting of an electrical circuit.
      10. Information labels are attached to the SRS components. Follow the instructions on the notices.
      11. After work on the supplemental restraint system is completed, check the SRS warning light (See AIR BAG WARNING LIGHT CHECK ).
    2. SPIRAL CABLE (in Combination Switch)

      The steering wheel must be fitted correctly to the steering column with the spiral cable at the neutral position, otherwise cable disconnection and other troubles may occur. Refer to STEERING WHEEL concerning the correct installation of the steering wheel.

      Fig 12: Identifying Spiral Cable Installed Position
      G02828020Courtesy of © TOYOTA, LICENSE AGREEMENT TMS1002
    3. HORN BUTTON ASSEMBLY (with Airbag)
      1. When removing the horn button assembly or handling a new horn button, it should be placed with the pad top surface facing upward. Placing it with the pad surface facing downward may lead to a serious accident if the airbag accidentally inflates. Also, do not place the horn button on top of one another.
        Fig 13: Precautions For Handling Airbag Components (Horn Pad)
        G02828021Courtesy of © TOYOTA, LICENSE AGREEMENT TMS1002
      2. Never measure the resistance of the airbag squib (This may cause the airbag to inflate, which is very dangerous.).
        Fig 14: Precautions When Testing Restraint System
        G02828022Courtesy of © TOYOTA, LICENSE AGREEMENT TMS1002
      3. Grease should not be applied to the horn button assembly and the pad should not be cleaned with detergents of any kinds.
      4. Store the horn button assembly where the ambient temperature remains below 93° C (200° F), without high humidity and away from electrical noise.
      5. When using electric welding, first disconnect the airbag connector (2 yellow pins) under the steering column near the combination switch connector before starting work.
      6. When disposing of the vehicle or the horn button assembly alone, the airbag should be deployed using an SST before disposal (See DISPOSAL PROCEDURES ).

        Perform the operation in a safe place away from electrical noise.

    4. INSTRUMENT PANEL PASSENGER AIRBAG ASSEMBLY
      1. Always store a removed or new instrument panel passenger airbag assembly with the airbag inflation direction facing upward. Placing the airbag assembly with the airbag inflation direction facing downward could cause a serious accident if the airbag inflates.
        Fig 15: Precaution When Handling Airbag Components (Passenger Airbag Assembly)
        G02828023Courtesy of © TOYOTA, LICENSE AGREEMENT TMS1002
      2. Never measure the resistance of the airbag squib (This may cause the airbag to inflate, which is very dangerous).
        Fig 16: Precautions When Testing Restraint System
        G02828024Courtesy of © TOYOTA, LICENSE AGREEMENT TMS1002
      3. Grease should not be applied to the instrument panel passenger airbag assembly, and the airbag door should not be cleaned with detergents of any kind.
      4. Store the airbag assembly where the ambient temperature remains below 93° C (200° F), without high humidity and away from electrical noise.
      5. When using electric welding, first disconnect the airbag connector (2 yellow pins) installed on the assembly before starting work.
      6. When disposing of a vehicle or the airbag assembly alone, the airbag should be inflated using an SST before disposal (See DISPOSAL PROCEDURES ).

        Perform the operation in a safe place away from electrical noise.

    5. FRONT SEAT AIRBAG ASSEMBLY
      1. Always place a removed or new front seat airbag assembly with the airbag inflation direction facing upward. Placing the airbag assembly with the airbag inflation direction facing downward could cause a serious accident if the airbag deploys.
        Fig 17: Precautions When Handling Airbag Components (Front Seat Airbag Assembly)
        G02828025Courtesy of © TOYOTA, LICENSE AGREEMENT TMS1002
      2. Never measure the resistance of the airbag squib (This may cause the airbag to inflate, which is very dangerous).
        Fig 18: Precautions When Testing Restraint System
        G02828026Courtesy of © TOYOTA, LICENSE AGREEMENT TMS1002
      3. Grease should not be applied to the front seat airbag assembly, and the airbag door should not be cleaned with detergents of any kind.
      4. Store the airbag assembly where the ambient temperature remains below 93° C (200° F), without high humidity and away from electrical noise.
      5. When using electric welding, first disconnect the airbag connector (2 yellow pins) installed on the assembly before starting work.
      6. When disposing of a vehicle or the side airbag assembly alone, the airbag should be deployed using an SST before disposal (See DISPOSAL PROCEDURES ).

        Perform the operation in a safe place away from electrical noise.

    6. SEAT BELT PRETENSIONER
      1. Never measure the resistance of the seat belt pretensioner (This may cause the seat belt pretensioner to activate, which is very dangerous).
        Fig 19: Precautions When Testing Restraint System
        G02828027Courtesy of © TOYOTA, LICENSE AGREEMENT TMS1002
      2. Never disassemble the seat belt pretensioner.
      3. Never install the seat belt pretensioner to another vehicle.
      4. Store the seat belt pretensioner where the ambient temperature remains below 80° C (176° F) without high humidity and away from electrical noise.
      5. When using electric welding, first disconnect the connector (2 yellow pins) before starting work.
      6. When disposing of a vehicle or the seat belt pretensioner alone, the seat belt pretensioner should be activated before disposal (See DISPOSAL PROCEDURES ). Perform the operation in a safe place away from electrical noise.
      7. The seat belt pretensioner is hot after activation, so let cool it down sufficiently before disposal. Never apply water to cool down the seat belt pretensioner.
      8. Oil or water should not be put on the front seat outer belt, and the front seat outer belt should not be cleaned with detergents of any kind.
    7. AIRBAG SENSOR ASSEMBLY
      1. Never reuse the airbag sensor assembly involved in a collision where the SRS has deployed.
      2. The connectors to the airbag sensor assembly should be connected or disconnected with the sensor mounted on the floor. If the connectors are connected or disconnected while the airbag sensor assembly is not mounted to the floor, it could cause an undesired ignition of the supplemental restraint system.
      3. Work must be started after 90 seconds from the time the ignition switch is turned to the LOCK position and the negative (-) terminal cable is disconnected from the battery, even if only loosening the set bolts of the airbag sensor assembly.
    8. WIRE HARNESS AND CONNECTOR
      1. The SRS wire harness is integrated with the instrument panel wire harness assembly. All the connectors in the system are in a standard yellow color. If the SRS wire harness becomes disconnected or the connector becomes broken due to an accident, etc., repair or replace it.
  3. ELECTRONIC CONTROL 
    1. REMOVAL AND INSTALLATION OF BATTERY TERMINAL
      1. Before performing electrical work, disconnect the battery negative (-) terminal cable beforehand so as to prevent burnt-out damage by short.
      2. When disconnecting and installing the terminal cable, turn the ignition switch and lighting switch OFF, and loosen the terminal nut completely. Perform these operations without twisting or prying the terminal.
      3. When the battery terminal is removed, all the memories of the clock, radio, DTCs and etc. will be erased. So before removing it, check them and make a note them down.
      Fig 20: Disconnecting Battery Negative Terminal
      G02828028Courtesy of © TOYOTA, LICENSE AGREEMENT TMS1002
    2. HANDLING OF ELECTRONIC PARTS
      1. Do not open the cover or case of the ECU unless absolutely necessary (If the IC terminals are touched, the IC may be destroyed by static electricity).
      2. To disconnect electronic connectors, pull the connector itself, not the wires.
      3. Be careful not to drop electronic components, such as sensors or relays. If they are dropped on a hard floor, they should be replaced and not be reused.
        Fig 21: Use Care When Handling Electronic Components
        G02828029Courtesy of © TOYOTA, LICENSE AGREEMENT TMS1002
      4. When cleaning the engine with steam, protect the electronic components, air filter and emission-related components from water.
      5. Never use an impact wrench to remove or install temperature switches or temperature sensors.
      6. When checking the continuity at the wire connector, insert the tester probe carefully to prevent terminals from bending.
  4. REMOVAL AND INSTALLATION OF FUEL CONTROL PARTS 
    1. PLACE FOR REMOVING AND INSTALLING OF FUEL SYSTEM PARTS
      1. Work in a place with good air ventilation and without anything flammable such as welder, grinder, drill, electric motor or stove in the surroundings.
      2. Never work in a place such as a pit, or nearby a pit, as there is a possibility that vaporized fuel is filled in those places.
    2. REMOVING AND INSTALLING OF FUEL SYSTEM PARTS
      1. Prepare a fire extinguisher before starting the operation.
      2. For prevention of the static electricity, install a ground on the fuel changer, vehicle and fuel tank, and do not spray much water so as to prevent slipping.
      3. Never use any electric equipment like an electric motor or a working light, as they may cause sparks or high temperature.
      4. Never use an iron hammer, as it may cause sparks.
      5. Dispose of the shop rag separately from any fuel deposit.
  5. REMOVAL AND INSTALLATION OF ENGINE INTAKE PARTS 
    1. If any metal tip is mixed in the inlet pass, that may give a bad effect to the engine and turbocharger.
    2. When removing and installing the inlet system parts, close the opening of the removed inlet system parts and the engine with a clean shop rag or gummed tape.
      Fig 22: Covering Opening Of Removed Inlet System Part
      G02828030Courtesy of © TOYOTA, LICENSE AGREEMENT TMS1002
    3. When installing the inlet system parts, check that there is no mixing of a metal tip.
  6. HANDLING OF HOSE CLAMPS 
    1. Before removing the hose, check the depth of the inserting position and the clamp position in order to restore it securely.
    2. Change a deformed or dented clamp into a new one.
    3. In case of reusing the hose, install the clamp on the hose where it has a clamp track.
      Fig 23: Installing Hose Clamps
      G02828031Courtesy of © TOYOTA, LICENSE AGREEMENT TMS1002
    4. For a spring type clamp, make adjustment by adding force to the arrow mark direction after the installation.
  7. FOR VEHICLES EQUIPPED WITH MOBILE COMMUNICATION SYSTEM 
    1. Install an antenna as far as possible away from the ECU and sensors of the vehicle's electronic systems.
    2. Install an antenna feeder at least 20 cm (7.87 in.) away from the ECU and sensors of the vehicle's electronic systems. For details of the ECU and sensors locations, refer to the section on the applicable component.
    3. Prevent the antenna feeder from getting entangled with the other wirings, and keep the antenna feeder separately from the other wirings as much as possible.
    4. Check that the antenna and feeder are correctly adjusted.
    5. Do not install any powerful mobile communication system.
    Fig 24: Locating Mobile Communication System And Antenna
    G02828032Courtesy of © TOYOTA, LICENSE AGREEMENT TMS1002
  8. FOR VEHICLES EQUIPPED WITH TRACTION CONTROL (TRAC) SYSTEM 
    1. NOTICES WHEN USING 2-WHEEL DRUM TESTER
      1. When using a 2-wheel drum tester such as a speedometer tester, a combination tester of speedometer and brake, chassis dynamometer or else, always turn the TRAC system off via the TRAC OFF switch before measurement.
      NOTE: TRAC system OFF condition can be confirmed by the indication, TRAC OFF, of the warning light in the combination meter.
  9. FOR VEHICLES EQUIPPED WITH VEHICLE SKID CONTROL (VSC) SYSTEM 
    1. NOTICES WHEN USING DRUM TESTER
      1. When using a drum tester, be sure to start the engine with the ignition OFF, and connect SST to the terminals TS and CG of the DLC3 before measurement in order to prohibit the VSC operation.
        Fig 25: Identifying DLC3 Terminals
        G02828033Courtesy of © TOYOTA, LICENSE AGREEMENT TMS1002

      SST 09843-18040

      NOTE:
      • Confirm that the VSC warning light blinks.
      • VSC system will be reset when the engine is restarted.
      • Fasten the vehicle with lock chains.
    2. NOTICES OF RELATED OPERATIONS TO VSC
      1. Do not carry out unnecessary installation and removal, because it might disorder the adjustment of related parts to VSC.
      2. Be sure to carry out the preparation for operation and the confirmation of operation completion, in accordance with the instruction of the text, when the related operations to VSC are performed.
  10. WHEN SERVICING FULL-TIME 4WD VEHICLES 
    1. MEASURING POINTS FOR SPEEDOMETER TESTER
      NOTE:
      • Tester with a function of load setting cannot be used.
      • Inspection should be done in the front wheels.
      • Do not start, accelerate nor decelerate the vehicle suddenly.
      • Maximum vehicle speed must be below 60 km/h (when using free roller, it must be below 50 km/h).
      • Driving time should be within 1 minute.
      1. Place the front wheels onto the rollers.
        Fig 26: Placing Front Wheels Onto Rollers
        G02828034Courtesy of © TOYOTA, LICENSE AGREEMENT TMS1002
      2. Set the rear wheels free by free rollers or rigid racks.
      3. Fasten the vehicle with the lock chain.
        Fig 27: Fastening Vehicle With Lock Chain
        G02828035Courtesy of © TOYOTA, LICENSE AGREEMENT TMS1002
      4. Start the engine, and then measure the vehicle speed by increasing the speed gradually in the D range.
      5. After the measurement completion, decrease the vehicle speed by brake gradually, and then stop the vehicle.
    2. MEASURING POINTS FOR BRAKE TESTER
      NOTE:
      • Tester with a function of load measurement cannot be used
      • High-speed type brake cannot be used.
      1. Place the wheels to be measured (front or rear) onto the rollers.
      2. Shift the shift lever into neutral.
      3. Perform the measurement by driving the tester rollers.
      NOTE: In case that the dragging force is over 10% of the load put on the axis, inspection of the wheel's rotating condition should be done with both of the left and right axes jacked up. If no abnormality is found in the rotating condition, adhesive torque of the viscous coupling causes the excessive dragging fore and therefore it means no problem exists in the vehicle.
    3. MEASURING POINTS FOR ON-VEHICLE BALANCER
      1. Jack up all 4 wheels with 2 post lift.
        Fig 28: Lifting Up Vehicle On Two Post Lift
        G02828036Courtesy of © TOYOTA, LICENSE AGREEMENT TMS1002
      2. Fasten the vehicle by setting 2 pick-up stands in the bottom of suspension arm's tip of the front wheel s or rear wheels to be measured.
      3. Support the vehicle with rigid racks so that vehicle will not lean in the vehicle's front/rear direction.
      4. Release the parking brake.
      5. Check that no dragging force exists by turning each wheel by hand.
      6. Set the wheel balancers.
      7. Measurement should be done by using both of engine drive and wheel balancer roller drive.
      NOTE:
      • Start the engine, and then increase the vehicle speed gradually in the D range.
      • Do not accelerate nor decelerate suddenly.
      • Deceleration should be done by brake gradually.
      • Take special care that the vehicle does not move.
      • Measurement should be done quickly.
  11. FOR VEHICLES EQUIPPED WITH CATALYTIC CONVERTER 
    CAUTION: If large amount of unburned gasoline flows into the converter, it may cause overheating and a fire hazard. To prevent this, observe the following precautions.
    1. Use only unleaded gasoline.
    2. Avoid prolonged idling.

      Avoid running the engine at idle speed for more than 20 minutes.

    3. Avoid a spark jump test.
      1. Perform a spark jump test only when absolutely necessary. Perform this test as rapidly as possible.
      2. While testing, never race the engine.
    4. Avoid a prolonged engine compression measurement.

      Engine compression measurements must be performed as rapidly as possible.

    5. Do not run the engine when the fuel tank is nearly empty. This may cause the engine to misfire and create an extra load on the converter.
  12. WHEN TOWING FULL-TIME 4WD VEHICLES 
    1. Tow the vehicles with the 4 wheels touching the ground or the 4 wheels held up. In case that an abnormality exists in the chassis and drive train, tow the vehicle with the 4 wheels held up.
    2. Never tow the vehicle with either condition of the front wheels only or the rear only held up.
      Fig 29: Precautions When Towing Full-Time 4WD Vehicles (1 Of 2)
      G02828037Courtesy of © TOYOTA, LICENSE AGREEMENT TMS1002
      Fig 30: Precautions When Towing Full-Time 4WD Vehicles (2 Of 2)
      G02828038Courtesy of © TOYOTA, LICENSE AGREEMENT TMS1002
      NOTE: Towing with either condition of the front wheels only the rear wheels only held up might cause the drive train burned-out or the wheels flying off the dolly.
    3. Towing the vehicle should be done by one of the towing methods as shown in the illustration.
    4. If the vehicle has a trouble in the chassis or drive train, use the wheel lift type truck.
    TOWING FULL-TIME 4WD

    Towing Method Parking Brake Transaxle Shift Lever Position
    Flat Bed Truck Applied Any Position
    Wheel Lift Type Truck Applied Any Position
    NOTE: Do not use any towing method other those shown in TOWING FULL-TIME 4WD .
    Fig 31: Identifying Correct Way Of Towing Full-Time 4WD Vehicle
    G02828039Courtesy of © TOYOTA, LICENSE AGREEMENT TMS1002