LEMON Manuals: Even more car manuals for everyone: 1960-2025
Home >> Toyota >> 2004 >> Matrix Base, FWD, Automatic >> Repair and Diagnosis >> Body & Frame >> Windows >> Power Window Control System >> Quarter Window Assembly LH >> Replacement
April 5, 2026: LEMON Manuals is launched! Read the announcement.

Quarter Window Assembly LH: Replacement

NOTE:
  • Installation is in the reverse order of the removal.
  • In the RH side, work in the same procedure as in the LH side.
  1. REMOVE REAR SEAT ASSY LH (See  OVERHAUL  ) 
  2. REMOVE DECK BOARD SUB-ASSY (See  REPLACEMENT  ) 
  3. REMOVE DECK BOARD NO.2 (See  REPLACEMENT  ) 
  4. REMOVE LUGGAGE COMPARTMENT TRAY (See  REPLACEMENT  ) 
  5. REMOVE DECK FLOOR BOX REAR (See  REPLACEMENT  ) 
  6. REMOVE TONNEAU COVER ASSY (See  REPLACEMENT  ) 
  7. REMOVE DECK TRIM COVER REAR (See  REPLACEMENT  ) 
  8. REMOVE REAR DOOR SCUFF PLATE LH (See  REPLACEMENT  ) 
  9. REMOVE REAR DOOR WEATHERSTRIP LH (See  REPLACEMENT  ) 
  10. REMOVE REAR SEAT SIDE GARNISH LH (See  REPLACEMENT  ) 
  11. REMOVE DECK TRIM SIDE PANEL ASSY LH (See  REPLACEMENT  ) 
  12. REMOVE ROOF SIDE GARNISH INNER RH (See  REPLACEMENT  ) 
  13. REMOVE QUARTER WINDOW ASSY LH 
    1. Using a knife, cut off the moulding as shown in Fig 1 .
      NOTE: Do not damage the body with the knife.
      Fig 1: Removing Quarter Window Assy LH
      G02922338Courtesy of © TOYOTA, LICENSE AGREEMENT TMS1002
    2. Push a piano wire through between the body and glass from the interior.
    3. Tie both wire ends to wooden blocks or similar objects.
      NOTE:

      Apply protective tape to the outer surface to keep it from being scratched.

      NOTE:
      • When separating the glass, take care not to damage the paint and interior/exterior ornaments.
      • To prevent the piano wire to be cut, do not cross it.
      Fig 2: Identifying Quarter Window Clips
      G02922339Courtesy of © TOYOTA, LICENSE AGREEMENT TMS1002
    4. Cut the adhesive by pulling the piano wire around it.
    5. Disengage the spacers and clips.
    6. Using a suction rubber, remove the quarter window assembly LH.
      NOTE: Leave as much adhesive on the body as possible when cutting off the glass.
      Fig 3: Identified Piano Wire and Clips
      G02922340Courtesy of © TOYOTA, LICENSE AGREEMENT TMS1002
  14. CLEAN QUARTER WINDOW ASSY LH 
    1. Using a scraper, remove the damaged clips and adhesive sticking to the glass.
      Fig 4: Removing Damage Clips and Adhesive Sticking to Glass by Scraper
      G02922341Courtesy of © TOYOTA, LICENSE AGREEMENT TMS1002
    2. Clean the outer circumference of the glass with white gasoline.
      NOTE:
      • Do not touch the glass after cleaning it.
      • Be careful not to damage the body.
  15. INSTALL QUARTER WINDOW ASSY LH 
    1. Clean and shape the contact surface of the body panel.
      1. Using a knife, cut away any rough areas on the body panel.
        NOTE:

        Leave as much adhesive on the body panel as possible.

      2. Clean the cut surface of the adhesive with a piece of shop rag saturated in cleaner.
        Fig 5: Smoothing Adhesive to Rough Area
        G02922342Courtesy of © TOYOTA, LICENSE AGREEMENT TMS1002
    2. Coat the contact surface of the body panel with Primer M.
      1. Using a brush, coat the exposed part of the contact surface on the vehicle side with Primer M.
        NOTE:
        • Dry the primer coating for 3 minutes or more.
        • Do not keep any of the opened Primer M for later use.
        • Do not apply too much primer.
        • Pay special attention in coating joints of panels and welded parts.
    3. Coat the contact surface of the glass with Primer G.
      1. Using a brush or sponge, coat the edge of the glass and the contact surface with Primer G.
      2. When the primer is coated wrongly to the area other than the specified, wipe it off with a clean shop rag before the primer dries.
        NOTE:
        • Dry the primer coating for 3 minutes or more.
        • Do not keep any of the opened Primer G for later use.
        • Do not apply too much primer.
    4. Apply adhesive.
      1. Cut off the tip of the cartridge nozzle as shown in Fig 6 .

        Part No. 08850-00801 or equivalent 

        NOTE:

        After cutting off the tip, use all adhesive within the time described in the table below.

        Temperature Time

        Temperature Tackfree Time
        35°C (95°F) 15 Minutes
        20°C (68°F) 100 Minutes
        5°C (41°F) 8 Hours
      2. Load the sealer gun with the cartridge.
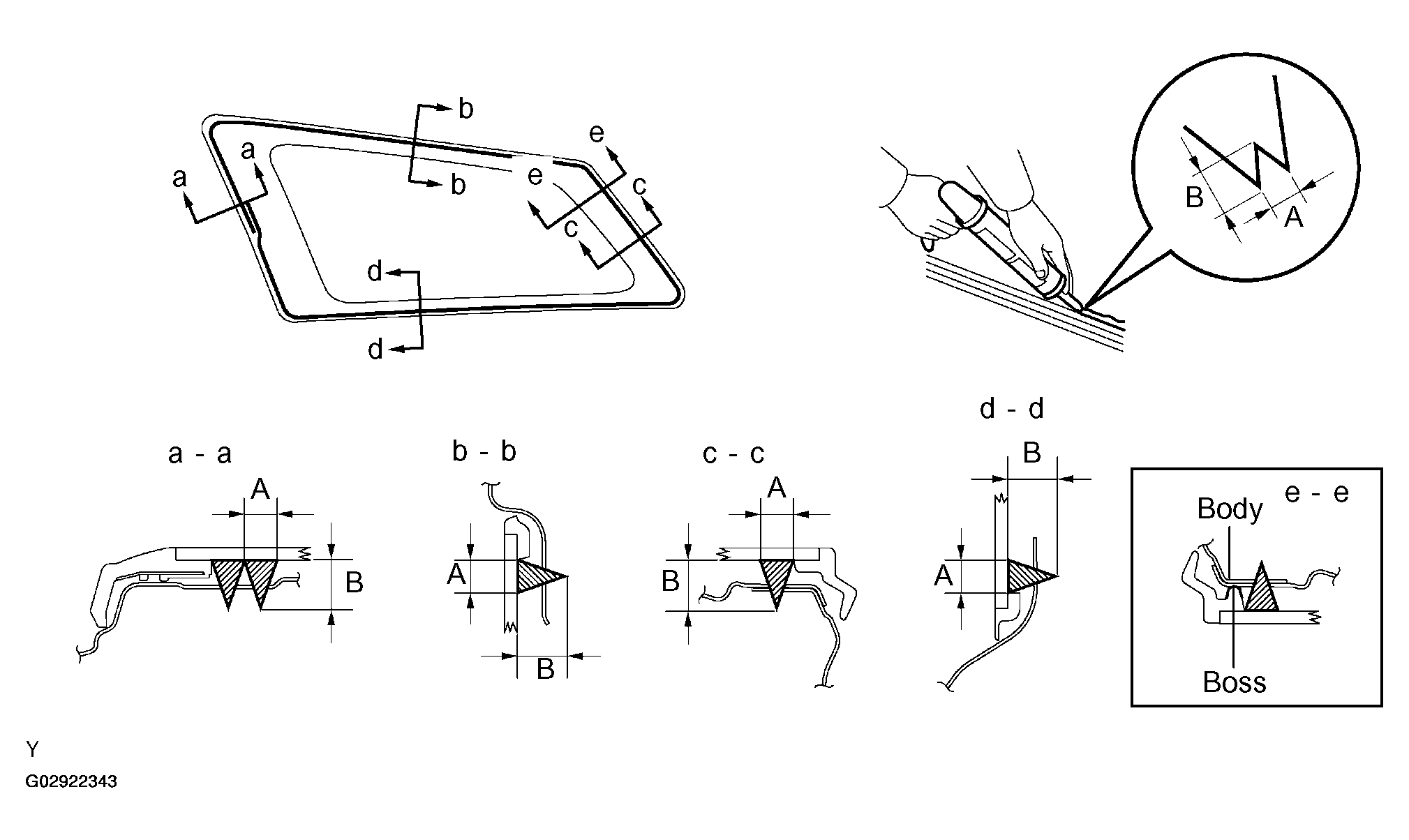
      3. Coat the glass with adhesive as shown in Fig 6 .

        A: 8 mm (0.315 in.) 

        B: 12 mm (0.472 in.) 

        Fig 6: Installing Quarter Window Assy LH
        G02922343Courtesy of © TOYOTA, LICENSE AGREEMENT TMS1002
    5. Install the quarter window assembly LH.
      1. Using a suction rubber, install the quarter window assembly.
      2. Push the part "e - e" until the boss touches the body.
        NOTE:
        • Install the glass after the primer on the vehicle's body has completely dried.
        • Check that the clip are locked to the body correctly.
      3. Lightly press the glass front surface for close contact.
      4. Hold the glass in place securely with protective tape or equivalent until the adhesive has completely hardened.
        NOTE: Take care not to drive the vehicle during the time described in the table below.
        Temperature Time

        Temperature Tackfree Time
        35°C (95°F) 15 Minutes
        20°C (68°F) 100 Minutes
        5°C (41°F) 8 Hours
  16. INSPECT FOR LEAK AND REPAIR 
    1. Conduct a leak test after the adhesive has completely hardened.
    2. Seal any leak with sealant.