LEMON Manuals: Even more car manuals for everyone: 1960-2025
Home >> Toyota >> 2004 >> Matrix Base, FWD, Automatic >> Repair and Diagnosis >> External Pages >> Different car >> Section 1006 (Defogger System) >> Inspection
April 5, 2026: LEMON Manuals is launched! Read the announcement.

Section 1006 (Defogger System): Inspection

WARNING: This page is about a different car, the 2004 Lexus IS 300. However, it is still accessible from the selected car via links, so may be relevant.
  1. INSPECT DEFOGGER SWITCH (See  INSPECTION  ) 
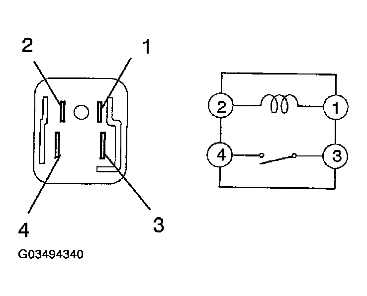
  2. INSPECT DEFOGGER RELAY CONTINUITY 
    DEFOGGER RELAY TERMINALS CONTINUITY

    Condition Tester connection Specified condition
    Always 1-2 Continuity
    Apply B+ between terminals 1 and 2. 3-4 Continuity

    If continuity is not as specified, replace the relay.

    Fig 1: Inspecting Defogger Relay Continuity
    G03494340Courtesy of © TOYOTA, LICENSE AGREEMENT TMS1002
  3. INSPECT DEFOGGER RELAY CIRCUIT (See  REAR DEFOGGER RELAY CIRCUIT  ) 
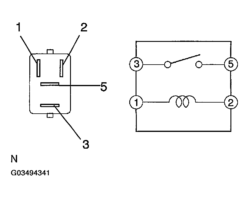
  4. INSPECT MIRROR DEFOGGER RELAY CONTINUITY 
    MIRROR DEFOGGER RELAY TERMINALS CONTINUITY

    Condition Tester connection Specified condition
    Always 1-2 Continuity
    Apply B+ between terminals 1 and 2. 3-5 Continuity

    If continuity is not as specified, replace the relay.

    Fig 2: Inspecting Mirror Defogger Relay Continuity
    G03494341Courtesy of © TOYOTA, LICENSE AGREEMENT TMS1002
  5. INSPECT DEFOGGER WIRE 
    NOTE:
    • When cleaning the glass, use a soft, dry cloth, and wipe the glass in the direction of the wire. Take care not to damage the wires. 
    • Do not use detergents or glass cleaners with abrasive ingredients. 
    • When measuring voltage, wrap a piece of tin foil around the tip of the negative probe and press the foil against the wire with your finger, as shown in  Fig 3  . 
    Fig 3: Wrapping Tin Foil Around Tip Of Probe & Pressing Wire With Finger
    G03494342Courtesy of © TOYOTA, LICENSE AGREEMENT TMS1002
    1. Turn the ignition switch ON.
    2. Turn the defogger switch ON.
    3. Inspect the voltage at the center of each heat wire, as shown in Fig 4 .
      Fig 4: Inspecting Voltage At Center Of Each Heat Wire
      G03494343Courtesy of © TOYOTA, LICENSE AGREEMENT TMS1002
      VOLTAGE AND CRITERIA

      Voltage Criteria
      Approx. 5 V Okay (No break in wire)
      Approx. 10 V or 0 V Broken wire

      HINT:

      If there is approximately 10 V, the wire is broken between the center of the wire and the positive (+) end. If there is no voltage, the wire is broken between the center of the wire and ground.

    4. Place the voltmeter positive (+) lead against the defogger wire on the battery side.
      Fig 5: Placing Voltmeter Lead Against Defogger Wire
      G03494344Courtesy of © TOYOTA, LICENSE AGREEMENT TMS1002
    5. Place the voltmeter negative (-) lead with the foil strip against the wire on the ground side.
    6. Slide the positive (+) lead from battery to ground side.
    7. The point where the voltmeter deflects from several V to zero V is the place where the defogger wire is broken.

    HINT:

    If the heat wire is not broken, the voltmeter indicates 0 V at the positive (+) end of the heat wire but gradually increases to about 12 V as the meter probe moves to the other end.

  6. IF NECESSARY, REPAIR DEFOGGER WIRE 
    1. Clean the broken wire tips with grease, wax and silicone remover.
    2. Place the masking tape along both sides of the wire for repair.
      Fig 6: Placing Masking Tape Along Both Sides Of Wire For Repair
      G03494345Courtesy of © TOYOTA, LICENSE AGREEMENT TMS1002
    3. Thoroughly mix the repair agent (Dupont paste No. 4817).
    4. Using a fine tip brush, apply a small amount of the agent to the wire.
    5. After a few minutes, remove the masking tape.
    6. Do not repair the defogger wire for at least 24 hours.
      Fig 7: Applying Small Amount Of Agent To Wire
      G03494346Courtesy of © TOYOTA, LICENSE AGREEMENT TMS1002
  7. w/ Mirror heater: 

    INSPECT MIRROR DEFOGGER OPERATION 

    1. Connect the positive (+) lead from the battery to terminal 5 and the negative (-) lead to terminal 4.
      Fig 8: Connecting Lead From Battery To Terminals 5 & 4
      G03494347Courtesy of © TOYOTA, LICENSE AGREEMENT TMS1002
    2. Check that the mirror becomes warm.

    HINT:

    It will take a short time for the mirror to become warm.