LEMON Manuals: Even more car manuals for everyone: 1960-2025
Home >> Toyota >> 2004 >> Matrix Base, FWD, Standard >> Repair and Diagnosis >> External Pages >> Different car >> Section 383 (Introduction) >> How To Troubleshoot Ecu Controlled Systems >> How To Use The Diagnostic Chart And Inspection Procedure
April 5, 2026: LEMON Manuals is launched! Read the announcement.

How To Use The Diagnostic Chart And Inspection Procedure

WARNING: This page is about a different car, the 2002 Toyota Sequoia. However, it is still accessible from the selected car via links, so may be relevant.
  1. CONNECTOR AND TERMINAL INSPECTION 
    • In most articles for troubleshooting, diagnostic trouble code charts or problem symptom tables are provided for each circuit with detailed inspection procedures.
    • When all the component parts, wire harnesses and connectors of each circuit except the ECU are found to be normal in troubleshooting, then it is determined that the problem is in the ECU. Accordingly, if diagnosis is performed without the problem symptoms occurring, refer to step  8 to replace the ECU. So always confirm that the problem symptoms are occurring, or proceed with inspection while using the symptom simulation method.
    • The instructions "Check wire harness and connector" and "Check and replace ECU" which appear in the inspection procedure, are common and applicable to all diagnostic trouble codes. Follow the procedure outlined in this article whenever these instructions appear.

      Open Circuit  : This could be due to a disconnected wire harness, (see Fig 1), faulty contact in the connector, and a connector terminal pulled out, etc.

      Fig 1: Identifying Disconnected Wire Or Faulty Contact In Harness
      G00372056Courtesy of © TOYOTA, LICENSE AGREEMENT TMS1002
      NOTE:
      • It is rarely the case that a wire is broken in the middle of it. See Fig 2. Most cases occur at the connector. In particular, carefully check the connectors of sensors and actuators.
        Fig 2: Identifying Broken Wire In Middle Of Connector
        G00372057Courtesy of © TOYOTA, LICENSE AGREEMENT TMS1002
      • Faulty contact could be due to rusting of the connector terminals, to foreign materials entering terminals or a deformation of connector terminals. Simply disconnecting and reconnecting the connectors once changes the condition of the connection and may result in a return to normal operation. Therefore, in troubleshooting, if no abnormality is found in the wire harness and connector check, but the problem disappears after the check, then the cause is considered to be in the wire harness or connectors.
        Fig 3: Inspecting Terminal Ends
        G00372058Courtesy of © TOYOTA, LICENSE AGREEMENT TMS1002

      Short Circuit  : This could be due to a contact between wire harness and the body ground or to a short circuit occurring inside the switch, etc.

      NOTE: When there is a short circuit between the wire harness and body ground, check thoroughly whether the wire harness is caught in the body or is clamped properly.
  2. CONNECTOR HANDLING 

    When inserting tester probes into a connector, insert them from the rear of the connector. When necessary, use mini test leads. For water resistant connectors which cannot be accessed from behind, take good care not to deform the connector terminals.

    Fig 4: Identifying Correct Connector Handling Procedure
    G00372059Courtesy of © TOYOTA, LICENSE AGREEMENT TMS1002
  3. CONTINUITY CHECK (OPEN CIRCUIT CHECK) 
    NOTE: Measure the continuity while lightly shaking the wire harness vertically and horizontally.
    1. Disconnect the connectors at both ECU and sensor sides.
      Fig 5: Measuring Continuity (1 Of 2)
      G00372060Courtesy of © TOYOTA, LICENSE AGREEMENT TMS1002
    2. Measure the resistance between the applicable terminals of the connectors. Resistance: 1 Ohm or less.
      Fig 6: Measuring Continuity (2 Of 2)
      G00372061Courtesy of © TOYOTA, LICENSE AGREEMENT TMS1002
  4. RESISTANCE CHECK (SHORT CIRCUIT CHECK) 
    NOTE: Measure the resistance while lightly shaking the wire harness vertically and horizontally.
    1. Disconnect the connectors on both ends.
    2. Measure the resistance between the applicable terminals of the connectors and body ground. Be sure to carry out this check on the connectors on both ends. Resistance: 1 M/Ohm or higher.
      Fig 7: Measuring Resistance
      G00372062Courtesy of © TOYOTA, LICENSE AGREEMENT TMS1002
  5. VISUAL CHECK AND CONTACT PRESSURE CHECK 
    NOTE:
    • The terminals should not come out when pulled lightly from the back.
      Fig 8: Inspecting Contact Pressure
      G00372063Courtesy of © TOYOTA, LICENSE AGREEMENT TMS1002
    • When testing a gold-plated female terminal, always use gold-plated male terminal.
    • When the test terminal is pulled out more easily than others, there may be poor contact in that section.
    1. Disconnect the connectors at both ends.
    2. Check for rust or foreign material, etc. in the terminals of the connectors.
    3. Check crimped portions for looseness or damage and check that the terminals are secured in lock portion.
    4. Prepare a test male terminal and insert it in the female terminal, then pull it out.
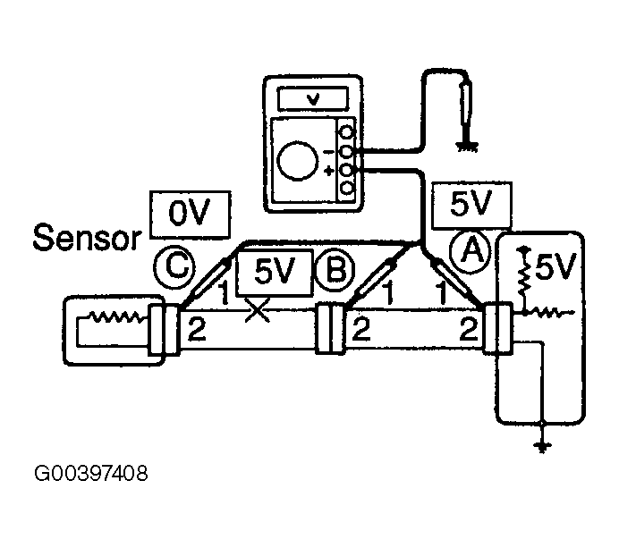
  6. CHECK OPEN CIRCUIT 

    For the open circuit in the wire harness, see Fig 9, perform step  a (continuity check) or  b (voltage check) to locate the section.

    Fig 9: Checking For Open Circuit (1 Of 4)
    G00397408Courtesy of © TOYOTA, LICENSE AGREEMENT TMS1002
    1. Check the continuity  :
      1. Disconnect connectors "A" and "C" and measure the resistance between them. In the case of Fig 10:
        1. Between terminal 1 of connector "A" and terminal 1 of connector "C", if no continuity (open).
        2. Between terminal 2 of connector "A" and terminal 2 of connector "C" means continuity.
        3. Fig 10: Checking For Open Circuit (2 Of 4)
          G00397409Courtesy of © TOYOTA, LICENSE AGREEMENT TMS1002
        Therefore, it is found that there is an open circuit between terminal 1 of connector "A" and terminal 1 of connector "C".
      2. Disconnect connector "B" and measure the resistance between the connectors.

        In the case of Fig 11:

        1. Between terminal 1 of connector "A" and terminal 1 of connector "B1" has continuity.
        2. Between terminal 1 of connector "B2" and terminal 1 of connector "C" there is no continuity (open).
        3. Fig 11: Checking For Open Circuit (3 Of 4)
          G00397410Courtesy of © TOYOTA, LICENSE AGREEMENT TMS1002
        Therefore, it is found that there is an open circuit between terminal 1 of connector "B2" and terminal 1 of connector "C".

    2. Check the voltage  :

      In a circuit in which voltage is applied (to the ECU connector terminal), an open circuit can be checked for by conducting a voltage check.

      As shown in Fig 12, with each connector still connected, measure the voltage between body ground and terminal 1 of connector "A" at the ECU 5V output terminal, terminal 1 of connector "B", and terminal 1 of connector "C", in that order.

      Fig 12: Checking For Open Circuit (4 Of 4)
      G00397411Courtesy of © TOYOTA, LICENSE AGREEMENT TMS1002

      If the results are  :

      1. 5V: Between Terminal 1 of connector "A" and Body Ground
      2. 5V: Between Terminal 1 of connector "B" and Body Ground
      3. OV: Between Terminal 1 of connector "C" and Body Ground
      Then it is found out that there is an open circuit in the wire harness between terminal 1 of "B" and terminal 1 of "C".

  7. CHECK SHORT CIRCUIT 

    If the wire harness is shorted to ground as in Fig 13, locate the section by conducting a "continuity check with ground".

    Check for continuity to ground  :

    1. Disconnect connectors "A" and "C" and measure the resistance between terminal 1 and 2 of connector "A" and body ground.
      Fig 13: Checking Short Circuit (1 Of 3)
      G00397412Courtesy of © TOYOTA, LICENSE AGREEMENT TMS1002

      In the case of Fig 14:

      1. Between terminal 1 of connector "A" and body ground there is continuity (short).
      2. Between terminal 2 of connector "A" and body ground there is NO continuity.
      3. Fig 14: Checking Short Circuit (2 Of 3)
        G00397413Courtesy of © TOYOTA, LICENSE AGREEMENT TMS1002
      Therefore, it is found that there is a short circuit between terminal 1 of connector "A" and terminal 1 of connector "C".

    2. Disconnect connector "B" and measure the resistance between terminal 1 of connector "A" and body ground, and terminal 1 of connector "B2" and body ground.

      In the case of Fig 15:

      1. Between terminal 1 of connector "A" and body ground there is no continuity.
      2. Between terminal 1 of connector "B2" and body ground there is continuity (short).
      3. Fig 15: Checking Short Circuit (3 Of 3)
        G00397414Courtesy of © TOYOTA, LICENSE AGREEMENT TMS1002
      Therefore, it is found out that there is a short circuit between terminal 1 of connector "B2" and terminal 1 of connector "C".

  8. CHECK AND REPLACE ECU 

    First check the ECU ground circuit. If it is faulty, repair it. If it is normal, the ECU could be faulty, so replace the ECU with a normal functioning one and check that the symptoms disappear.

    1. Measure the resistance between the ECU ground terminal and the body ground.

      Resistance: 1 Ohm or less  .

      Fig 16: Locating ECU Ground
      G00372065Courtesy of © TOYOTA, LICENSE AGREEMENT TMS1002
    2. Disconnect the ECU connector, check the ground terminals on the ECU side and the wire harness side for bend and check the contact pressure.
      Fig 17: Locating ECU Ground (Wire Harness Side)
      G00372066Courtesy of © TOYOTA, LICENSE AGREEMENT TMS1002