LEMON Manuals: Even more car manuals for everyone: 1960-2025
Home >> Toyota >> 2004 >> Matrix Base, FWD, Standard >> Repair and Diagnosis >> External Pages >> Different car >> Section 909 (Anti-Lock Brake System) >> Skid Control Sensor >> Replacement
April 5, 2026: LEMON Manuals is launched! Read the announcement.

Skid Control Sensor: Replacement

WARNING: This page is about a different car, the 2004 Toyota Camry Solara. However, it is still accessible from the selected car via links, so may be relevant.

HINT

  1. REMOVE REAR WHEEL 
  2. SEPARATE SKID CONTROL SENSOR WIRE 
    1. Disconnect the connector from the skid control sensor.
      Fig 1: Disconnecting Connector From Skid Control Sensor
      G03552196Courtesy of © TOYOTA, LICENSE AGREEMENT TMS1002
  3. REMOVE REAR DISC BRAKE CALIPER ASSY LH (SEE  COMPONENTS  ) 
  4. REMOVE REAR DISC 
    1. Put matchmarks on the rear disc and the axle hub.
      Fig 2: Putting Matchmarks On Rear Disc & Axle Hub
      G03552197Courtesy of © TOYOTA, LICENSE AGREEMENT TMS1002
    2. Release the parking brake, and remove the rear disc.

      HINT:

      If the disc cannot be removed easily, turn the shoe adjuster until the wheel turns freely.

      Fig 3: Removing Rear Disc
      G03552198Courtesy of © TOYOTA, LICENSE AGREEMENT TMS1002
  5. REMOVE REAR AXLE HUB & BEARING ASSY LH 
    1. Remove the 4 bolts and rear axle hub & bearing assy.
    Fig 4: Removing Rear Axle Hub Bolts & Bearing Assy (LH)
    G03552199Courtesy of © TOYOTA, LICENSE AGREEMENT TMS1002
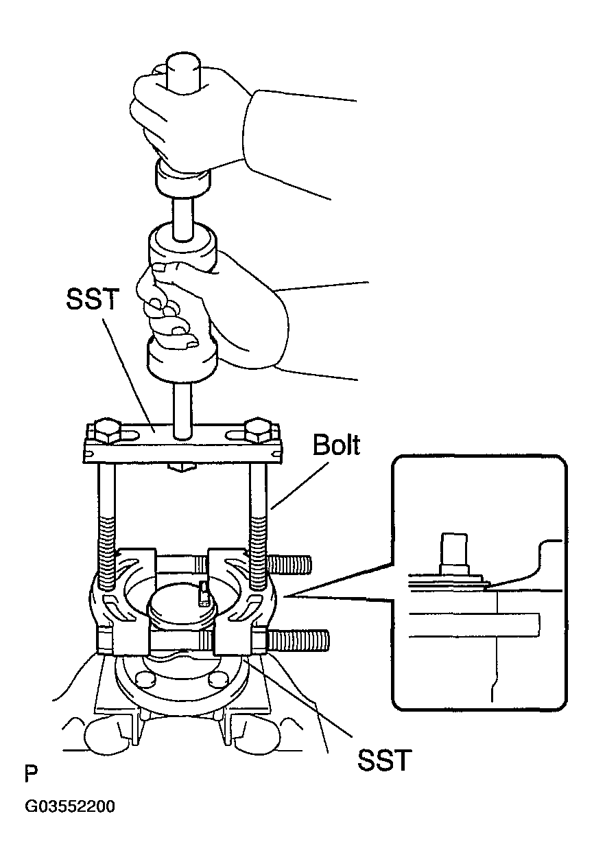
  6. REMOVE SKID CONTROL SENSOR 
    1. Mount the rear axle hub in a soft jaw vise.
      NOTE: Replace the axle hub & bearing assy if it is dropped or receives a strong shock. 
    2. Using a pin punch and hammer, drive out the 2 pins and remove the 2 attachments (09521-00010) from SST. SST 09520-00031
    3. Using SST and 2 bolts (Diameter: 12 mm, pitch: 1.5 mm), remove the skid control sensor from the rear axle hub.

      SST 09520-00031 (09520-00040), 09521-00020, 09950-00020

      NOTE:
      • If damage is inflicted to the sensor rotor, replace the axle hub assembly. 
      • Do not scratch the contact surface of axle hub and speed sensor. 
        Fig 5: Removing Skid Control Sensor From Rear Axle Hub
        G03552200Courtesy of © TOYOTA, LICENSE AGREEMENT TMS1002
  7. INSTALL SKID CONTROL SENSOR 
    1. Clean the contact surface of the axle hub and a new skid control sensor.
      NOTE: Prevent foreign matter from attaching to the sensor rotor. 
    2. Place the skid control sensor on the axle hub so that the connector is positioned as shown inFig 6 .
      Fig 6: Placing Skid Control Sensor On Axle Hub
      G03552201Courtesy of © TOYOTA, LICENSE AGREEMENT TMS1002
    3. Using SST and a press, install the skid control sensor to the axle hub.

      SST 09830-36010, 09950-60010 (09951-00650), 09950-70010 (09951-07100)

      NOTE:
      • Do not tap the skid control sensor with a hammer directly. 
      • Check that there should be no foreign matter on the skid control sensor detection portion. 
      • Press in the skid control sensor straight and slowly. 
        Fig 7: Installing Skid Control Sensor Axle Hub
        G03552202Courtesy of © TOYOTA, LICENSE AGREEMENT TMS1002
  8. INSTALL REAR AXLE HUB & BEARING ASSY LH 
    1. Install the rear axle hub & bearing assy with the 4 bolts.

      Torque:  80 N.m (816 kgf.cm, 59 ft.lbf)

      Fig 8: Installing Rear Axle Hub Bearing Bolts
      G03552203Courtesy of © TOYOTA, LICENSE AGREEMENT TMS1002
  9. INSTALL REAR DISC 
    1. Aligning the matchmarks, install the rear disc.

      HINT:

      When replacing the rear disc with a new one, select the installation position where the rear disc has the minimum runout.

      Fig 9: Aligning Matchmarks
      G03552204Courtesy of © TOYOTA, LICENSE AGREEMENT TMS1002
  10. INSTALL REAR DISC BRAKE CALIPER ASSY LH (SEE  COMPONENTS  ) 
  11. CONNECT SKID CONTROL SENSOR WIRE 
    1. Connect the connector to the skid control sensor.
  12. INSTALL REAR WHEEL 

    Torque:  103 N.m (1,050 kgf.cm, 76 ft.lbf)

  13. INSPECT AND ADJUST REAR WHEEL ALIGNMENT (SEE  ADJUSTMENT  ) 
  14. CHECK ABS SPEED SENSOR SIGNAL (SEE  OPERATION CHECK  or  OPERATION CHECK