LEMON Manuals: Even more car manuals for everyone: 1960-2025
Home >> Toyota >> 2004 >> Matrix XR, FWD, Standard >> Repair and Diagnosis >> Body & Frame >> Mirrors >> Power Mirror Control System >> Power Mirror Control System >> Inspection
April 5, 2026: LEMON Manuals is launched! Read the announcement.

Power Mirror Control System: Inspection

  1. INSPECT OUTER MIRROR SWITCH ASSY
    1. Left side for left/right adjustment switch:

      Inspect the mirror switch continuity.

      Standard (Left side): 

      Terminal No Specified Condition

      Terminal No. Switch Position Specified Condition
      - OFF No Continuity
      4 <=> 8 UP Continuity
      6 <=> 7 UP Continuity
      4 <=> 7 DOWN Continuity
      6 <=> 8 DOWN Continuity
      5 <=> 8 LEFT Continuity
      6 <=> 7 LEFT Continuity
      5 <=> 7 RIGHT Continuity
      6 <=> 8 RIGHT Continuity

      If the result is not as specified, replace the switch assembly.

    2. Right side for left/right adjustment switch:

      Inspect the mirror switch continuity.

      Standard (Right side): 

      Terminal No Specified Condition

      Terminal No. Switch Position Specified Condition
      - OFF No Continuity
      3 <=> 8 UP Continuity
      6 <=> 7 UP Continuity
      3 <=> 7 DOWN Continuity
      6 <=> 8 DOWN Continuity
      2 <=> 8 LEFT Continuity
      6 <=> 7 LEFT Continuity
      2 <=> 7 RIGHT Continuity
      6 <=> 8 RIGHT Continuity

      If the result is not as specified, replace the switch assembly.

      Fig 1: Inspecting Outer Mirror Switch Assy
      G02922358Courtesy of © TOYOTA, LICENSE AGREEMENT TMS1002
  2. INSPECT OUTER REAR VIEW MIRROR ASSY LH 
    1. Disconnect the outer rear view mirror assembly LH connector.
    2. Apply battery voltage and inspect the mirror motor face operation, as shown in Mirror Position  & Fig 2 .

      Standard (LH): 

      Mirror Position

      Battery Connection Mirror Position
      Positive (+) <=> MV (3) Turn Upward (A)
      Negative (-) <=> Com (2) Turn Upward (A)
      Positive (+) <=> Com (2) Turn Downward (B)
      Negative (-) <=> MV (3) Turn Downward (B)
      Positive (+) <=> Com (2) Turn Left (C)
      Negative (-) <=> MH (1) Turn Left (C)
      Positive (+) <=> MH (1) Turn Right (D)
      Negative (-) <=> Com (2) Turn Right (D)

      If the result is not as specified, replace the mirror assembly.

      Fig 2: Locating MV, Com, MH Connector Terminal
      G02922359Courtesy of © TOYOTA, LICENSE AGREEMENT TMS1002
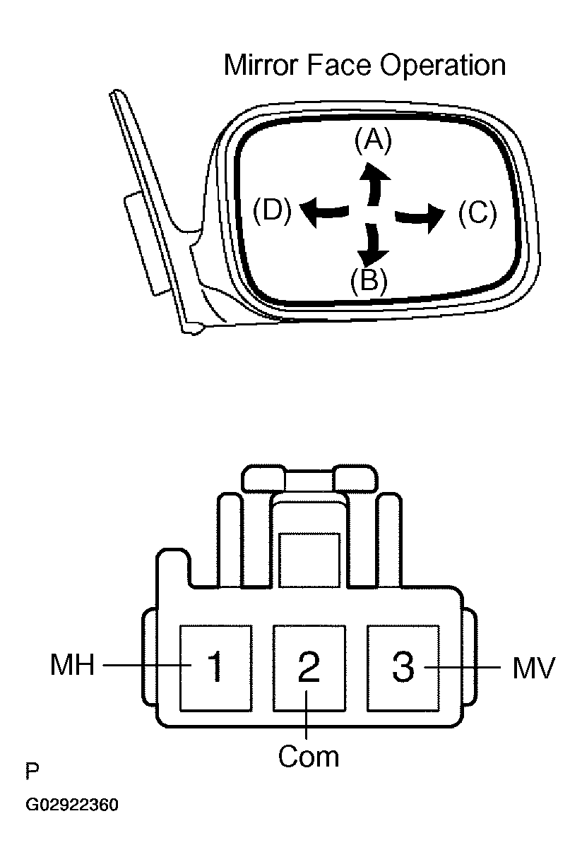
  3. INSPECT OUTER REAR VIEW MIRROR ASSY RH 
    1. Disconnect the outer rear view mirror assembly RH connector.
    2. Apply battery voltage and inspect the mirror motor face operation, as shown in MIRROR POSITION  and Fig 3 .

      Standard (RH): 

      MIRROR POSITION

      Battery Connection Mirror Position
      Positive (+) <=> MV (3) Turn Upward (A)
      Negative (-) <=> Com (2) Turn Upward (A)
      Positive (+) <=> Com (2) Turn Downward (B)
      Negative (-) <=> MV (3) Turn Downward (B)
      Positive (+) <=> Com (2) Turn Left (C)
      Negative (-) <=> MH (1) Turn Left (C)
      Positive (+) <=> MH (1) Turn Right (D)
      Negative (-) <=> Com (2) Turn Right (D)

      If the result is not as specified, replace the mirror assembly.

      Fig 3: Locating MH, MV, Com Connector Terminal
      G02922360Courtesy of © TOYOTA, LICENSE AGREEMENT TMS1002