LEMON Manuals: Even more car manuals for everyone: 1960-2025
Home >> Toyota >> 2005 >> Corolla LE, Automatic >> Repair and Diagnosis >> Body & Frame >> Windows >> Windshield/WINDOWGLASS/Mirror >> Back Window Glass >> Replacement
April 5, 2026: LEMON Manuals is launched! Read the announcement.

Back Window Glass: Replacement

HINT:

  1. REMOVE REAR DOOR WEATHERSTRIP RH (See  REPLACEMENT  ) 
  2. REMOVE REAR DOOR WEATHERSTRIP LH (See  REPLACEMENT  ) 
  3. REMOVE REAR SEAT CUSHION ASSY (See  REAR SEAT (SEDAN WITH SEPARATE TYPE)  ,  REAR SEAT (SEDAN WITH BENCH TYPE)  ) 
  4. REMOVE REAR SEAT BACK ASSY (FIXED TYPE REAR SEAT) (See  REAR SEAT (SEDAN WITH BENCH TYPE)  ) 
  5. REMOVE SEPARATE TYPE REAR SEAT BACK ASSY (SEPARATED TYPE REAR SEAT) (See  REAR SEAT (SEDAN WITH SEPARATE TYPE)  ) 
  6. REMOVE SEPARATE TYPE REAR SEAT BACK ASSY (SEPARATED TYPE REAR SEAT) (See  REAR SEAT (SEDAN WITH SEPARATE TYPE)  ) 
  7. REMOVE ROOM PARTITION BOARD RH (SEPARATED TYPE REAR SEAT) 
  8. REMOVE ROOM PARTITION BOARD LH (SEPARATED TYPE REAR SEAT) 
  9. REMOVE ROOF SIDE GARNISH INNER RH (See  REPLACEMENT  ) 
  10. REMOVE ROOF SIDE GARNISH INNER LH (See  REPLACEMENT  ) 
  11. REMOVE PACKAGE TRAY TRIM PANEL ASSY (See  REPLACEMENT  ) 
  12. REMOVE BACK WINDOW MOLDING OUTSIDE UPPER 
    1. Using a knife, cut off the molding as shown in the illustration.
      NOTE: Do not damage the vehicle body with the knife
    2. Remove the remaining molding.
    Fig 1: Cutting Off Molding, Using Knife
    G02612295Courtesy of © TOYOTA, LICENSE AGREEMENT TMS1002

    HINT:

    Make a partial cut in the molding, then pull and remove it by hand.

  13. REMOVE BACK WINDOW GLASS HINT: 

    Depending on a vehicle type, either a 1-piece type or a 2-piece type of stopper is installed.

    Fig 2: Removing Back Window Glass Hint
    G02612296Courtesy of © TOYOTA, LICENSE AGREEMENT TMS1002
    1. From the interior insert a piano wire between the vehicle body and glass.
    2. Apply protective tape to the outer surface to keep the surface from being scratched.
    3. Tie both wire ends to wooden blocks or similar objects.
      Fig 3: Inserting Piano Wire Between Vehicle Body And Glass
      G02612297Courtesy of © TOYOTA, LICENSE AGREEMENT TMS1002
      NOTE: When separating the glass, take care not to damage the paint and interior/exterior ornaments
    4. Cut the adhesive by pulling the piano wire around the glass.
    5. Using a suction cup, remove the glass.
    NOTE: Leave as much adhesive on the body as possible when removing the glass.
  14. CLEAN BACK WINDOW GLASS 
    1. Using a scraper, remove the damaged stoppers, dam and adhesive sticking to the glass.
    2. Clean the outer edges of the glass with white gasoline.
    NOTE:
    • Do not touch the glass after cleaning it.
    • Be careful not to damage the body.
    Fig 4: Removing Damaged Stoppers, Dam And Adhesive Sticking To Glass
    G02612298Courtesy of © TOYOTA, LICENSE AGREEMENT TMS1002
  15. INSTALL BACK WINDOW GLASS STOPPER NO.1 
    1. Install 2 new back window glass stoppers No. 1 to the body.
  16. INSTALL BACK WINDOW GLASS STOPPER NO.2 
    1. Coat the installation part of the stopper with Primer G.
      NOTE:
      • Allow the primer coating to dry for 3 minutes or more.
      • Do not apply too much primer.
    2. Install 2 new back window glass stoppers No. 2 onto the glass as shown in the illustration.

      A: 40.0 mm (1.575 in.) 

      B: 11.3 mm (0.445 in.) 

    Fig 5: Installing Back Window Glass Stopper
    G02612299Courtesy of © TOYOTA, LICENSE AGREEMENT TMS1002
  17. INSTALL BACK WINDOW GLASS ADHESIVE DAM 
    1. Coat the installation part of the window glass adhesive dam with Primer G.
      NOTE:
      • Allow the primer coating to dry for 3 minutes or more.
      • Do not apply too much primer.
    2. Install a new window glass adhesive dam as shown in the illustration.

      A: 25.0 mm (0.984 in.) 

      B: 9.0 mm (0.354 in.) 

    Fig 6: Installing New Window Glass Adhesive Dam
    G02612300Courtesy of © TOYOTA, LICENSE AGREEMENT TMS1002
  18. INSTALL BACK WINDOW GLASS 
    1. Clean and shape the contact surface of the adhesive on the vehicle's body
      1. Using a knife, cut away any Excessive adhesive.

        HINT:

        Leave as much adhesive on the body as possible.

      2. Clean the cut surface of the adhesive with a piece of shop rag saturated in cleaner.
      Fig 7: Cleaning And Shape Contact Surface Of Adhesive On Vehicle'S Body
      G02612301Courtesy of © TOYOTA, LICENSE AGREEMENT TMS1002
    2. Position the glass.
      1. Using a suction cup, place the glass in the correct position.
      2. Check that all the contacting parts of the glass rim are perfectly even.
      3. Place reference marks between the glass and body.
        NOTE: Check that the stoppers are attached to the body correctly.

        HINT:

        When reusing the glass, check and correct the reference mark's positions.

      4. Remove the glass.
    3. Coat the contact surface of the body panel with Primer M.
      1. Using a brush, coat the exposed part of the contact surface on the vehicle side with Primer M.
      NOTE:
      • Allow the primer coating to dry for 3 minutes or more.
      • Do not apply too much primer.
    4. Coat the contact surface of the glass with Primer G.
      1. Using a brush or sponge, coat the edge of the glass and the contact surface with Primer G.
      NOTE:
      • Allow the primer coating to dry for 3 minutes or more.
      • Do not apply too much primer.
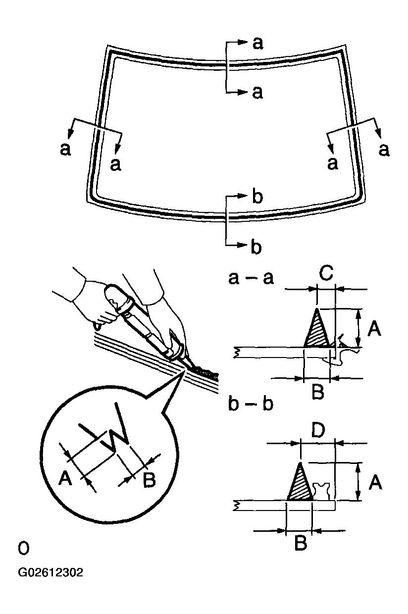
    5. Apply adhesive.
      1. Cut off the tip of the cartridge nozzle as shown in the illustration.

        Adhesive Part No. 08850-00801 or equivalent 

        HINT:

        After cutting off the tip, use all adhesive within the time described in the table below.

        TEMPERATURE SPECIFICATION

        Temperature Usage Timeframe
        35°C (95°F) 15 minutes
        20°C (68°F) 100 minutes
        5°C (41°F) 8 hours
      2. Load the sealer gun with the cartridge.
      3. Coat the glass with adhesive as shown in the illustration.

      A: 12.5 mm (0.492 in.) or more 

      B: 8 mm (0.32 in.) or more 

      C: 6.5 mm (0.256 in.) 

      D: 13 mm (0.51 in.) 

      Fig 8: Applying Adhesive
      G02612302Courtesy of © TOYOTA, LICENSE AGREEMENT TMS1002
    6. Install the glass.
      1. Using a suction cup, position the glass so that the reference marks are aligned, and press it in gently along the rim.
        NOTE:
        • Allow the primer coating to dry for 3 minutes or more.
        • Check that the stoppers are attached to the body correctly.
        • Check the clearance between the body and glass.
      2. Lightly press the glass front surface for close contact.
      3. Using a scraper, remove any excess or protruding adhesive.

    HINT:

    Apply adhesive on the glass rim.

  19. INSTALL BACK WINDOW MOLDING OUTSIDE UPPER 
    1. Install a new back window molding to the back window glass before the adhesive has hardened.
    2. Hold the back window glass in place securely with protective tape or equivalent until the adhesive has completely hardened.
    3. Using a scraper, remove any excess or protruding adhesive before the adhesive has hardened.
    NOTE: Do not to drive the vehicle for the amount of time written in the table below.
    TEMPERATURE SPECIFICATION

    Temperature Minimum time prior to driving vehicle
    35°C(95°F) 1.5 hours
    20°C (68°F) 5 hours
    5°C(41°F) 24 hours
  20. INSPECT FOR LEAK AND REPAIR 
    1. Conduct a leak test after the adhesive has completely hardened.
    2. Seal any leak with sealant.
  21. INSTALL REAR SEAT BACK ASSY (FIXED TYPE REAR SEAT) (See  REAR SEAT (SEDAN WITH BENCH TYPE)  ) 
  22. INSTALL SEPARATE TYPE REAR SEAT BACK ASSY (SEPARATED TYPE REAR SEAT) (See  REAR SEAT (SEDAN WITH SEPARATE TYPE)  ) 
  23. INSTALL SEPARATE TYPE REAR SEAT BACK ASSY (SEPARATED TYPE REAR SEAT) (See  REAR SEAT (SEDAN WITH SEPARATE TYPE)  )