LEMON Manuals: Even more car manuals for everyone: 1960-2025
Home >> Toyota >> 2005 >> MR2 C65M >> Repair and Diagnosis >> Engine Performance >> System >> Engine - Diagnostics >> Pre-Check
April 5, 2026: LEMON Manuals is launched! Read the announcement.

Engine - Diagnostics: Pre-Check

  1. DIAGNOSIS SYSTEM 
    1. Description

      When troubleshooting OBD II (On-Board Diagnostics) vehicles, a hand-held tester or OBD II scan tool (complying with SAE J1987) must be connected to the DLC3 (Data Link Connector 3) of the vehicle. Various data in the vehicle's ECM (Engine Control Module) can be then read. OBD II regulations require that the vehicle's on-board computer illuminates the MIL (Malfunction Indicator Lamp) on the instrument panel when the computer detects a malfunction in:

      • The emission control systems and components
      • The power train control components (which affect vehicle emissions)
      • The computer itself

      In addition, the applicable DTCs (Diagnostic Trouble Codes) prescribed by SAE J2012 are recorded in 3 consecutive trips, the MIL turns off automatically but the DTCs remain recorded in the ECM (Engine Control Module) memory.

      Fig 1: Identifying Malfunction Indicator Light
      G02652761Courtesy of © TOYOTA, LICENSE AGREEMENT TMS1002

      To check the DTCs, connect a hand-held tester or OBD II scan tool to the DLC3. The tester and scan tool display DTCs, freeze frame data, and a variety of engine data. The DTCs and freeze frame data can be erased with the tester and scan tool (refer to  DTC CHECK).

      Fig 2: Connecting Hand-Held Tester To DLC3
      G02652762Courtesy of © TOYOTA, LICENSE AGREEMENT TMS1002
    2. Normal mode and check mode

      The diagnosis system operates in the normal mode during normal vehicle use. In normal mode, 2 trip detection logic is used to ensure accurate detection of malfunctions. Check mode is also available as an option for technicians. In check mode, 1 trip detection logic is used for simulating malfunction symptoms and increasing the system's ability to detect malfunctions, including intermittent problems (hand-held tester only).

    3. 2-trip detection logic

      When a malfunction is first detected, the malfunction is temporarily stored in the ECM memory (1st trip). If the same malfunction is detected during the next sequent drive cycle, the MIL is illuminated (2nd trip).

    4. Freeze frame data

      The freeze frame data record the engine conditions (fuel system, calculated engine load, engine coolant temperature, fuel trim, engine speed, vehicle speed, etc.) when malfunctions are detected. When troubleshooting, freeze frame data can help determine if the vehicle was moving or stationary, if the engine was warmed up or not, if the air-fuel ratio was lean or rich, and other data, from the time the malfunction occurred.

    5. DLC3 (Data Link Connector 3)

      The vehicle's ECM uses the ISO 9141-2 communication protocol. The terminal arrangement of the DLC3 complies with SAE J1962 and matches the ISO 9141-2 format.

      Fig 3: Identifying DLC3 Connector
      G02652763Courtesy of © TOYOTA, LICENSE AGREEMENT TMS1002
      DLC3 CONNECTOR REFERENCE TABLE

      Symbols Terminal No. Names Reference Terminals Results Conditions
      SIL 7 Bus "+" line 5 - Signal ground Pulse generation During transmission
      CG 4 Chassis ground Body ground Below 1 Ω Always
      SG 5 Signal ground Body ground Below 1 Ω Always
      BAT 16 Battery positive Body ground 9 to 14 V Always

      HINT:

      The DLC3 is the interface prepared for reading various data from the vehicle's ECM. After connecting the cable of a hand-held tester or OBD II scan tool, turn the ignition switch to ON and turn the tester or scan tool ON.

      If a communication failure message is displayed on the tester or scan tool screen (on the tester: UNABLE TO CONNECT TO VEHICLE), a problem exists in either the vehicle or tester. In order to identify the location of the problem, connect the tester to another vehicle.

      • If communication is normal: Inspect the DLC3 on the original vehicle.
      • If communication is impossible: The problem is probably with the tester itself. Consult the Service Department listed in the instruction manual.
    6. Battery voltage

      Battery voltage: 11 to 14 V 

      If the voltage is below 11 V, recharge the battery before proceeding.

    7. MIL (Malfunction Indicator Lamp)
      1. The MIL illuminates when the ignition switch is turned to ON and the engine is not running.

        HINT:

        If the MIL does not illuminate, check the MIL circuit (See MIL CIRCUIT  ).

      2. The MIL should turn off when the engine is started. If the MIL remains on, the diagnosis system has detected a malfunction or abnormality in the system.
  2. DTC CHECK (Normal Mode) 
    NOTE: Hand-held tester only:
    When the diagnosis system is changed from normal mode to check mode or vice versa, all DTCs and freeze frame data recorded in normal mode are erased. Before changing modes, always check and make a note of DTCs and freeze frame data.

    HINT:

    • DTCs which are stored in the ECM can be displayed on a hand-held tester or OBD II scan tool. A hand-held tester can display current and pending DTCs.
    • Some DTCs are not set if the ECM does not detect the same malfunction again during a second consecutive driving cycle. However, such malfunctions, detected on only one occasion, are stored as pending DTCs.
    • The pending DTCs are set when the malfunction is detected once.
    1. Check DTCs (using a hand-held tester or OBD II scan tool)
      1. Connect a hand-held tester or OBD II scan tool to the DLC3.
        Fig 4: Connecting Hand-Held Tester To DLC3
        G02652764Courtesy of © TOYOTA, LICENSE AGREEMENT TMS1002
      2. Turn the ignition switch to ON.
      3. Turn the tester or scan tool ON.
      4. For the tester, select the following menu items: DIAGNOSIS / ENHANCED OBD II / DTC INFO / CURRENT CODES or PENDING CODES.
      5. For the scan tool, refer to the instruction manual.
      6. Check DTCs and freeze frame data, and then write them down.
      7. See DIAGNOSTIC TROUBLE CODE CHART  to check the details of DTCs.

        HINT:

        When simulating a symptom with an OBD II scan tool to check DTCs in the DIAGNOSTIC TROUBLE CODE CHART, subject to 2 trip detection logic, conduct either of the following operations. (For more information, refer to the scan tool instruction manual.)

        • Check pending DTCs using the Continuous Test Result function (Mode 07 for SAE J1979).
        • Simulate the symptom again after turning the ignition switch to OFF upon finishing the first symptom simulation, so that the MIL is illuminated and the DTC(s) is stored in the ECM.
    2. Clear DTCs (using a hand-held tester or OBD II scan tool)
      1. Connect a hand-held tester or OBD II scan tool to the DLC3.
      2. Turn the ignition switch to ON.
      3. Turn the tester or scan tool on.
      4. For the tester, select the following menu items: DIAGNOSIS / ENHANCED OBD II / DTC INFO / CLEAR CODES.
      5. Press the YES button.
      6. For the scan tool, refer to the instruction manual.
    3. Clear DTCs (without using a hand-held tester or OBD II scan tool)
      1. Perform either one of the following operations.
        • Disconnect the negative battery cable for more than 1 minute.
        • Remove the EFI fuse from the Relay Block (R/B) located inside the engine compartment for more than 1 minute.
          Fig 5: Removing EFI Fuse
          G02652765Courtesy of © TOYOTA, LICENSE AGREEMENT TMS1002
  3. DTC CHECK (Check Mode) 
    NOTE: Hand-held tester only:
    When the diagnosis system is changed from normal mode to check mode or vice versa, all DTCs and freeze frame data recorded in normal mode are erased. Before changing modes, always check and make a note of DTCs and freeze frame data.

    HINT:

    Hand-held tester only:

    Compared to normal mode, check mode is more sensitive to malfunctions. Therefore, check mode can detect the malfunctions that cannot be detected by normal mode.

    1. Procedure for check mode (using a hand-held tester)
      1. Make sure that the vehicle is in the following condition:
        • Battery voltage 11 V or more.
        • Throttle valve fully closed.
        • Shift lever is in the neutral position.
        • A/C switched OFF.
      2. Turn the ignition switch to OFF.
      3. Connect a hand-held tester to the DLC3.
        Fig 6: Connecting Hand-Held Tester To DLC3
        G02652766Courtesy of © TOYOTA, LICENSE AGREEMENT TMS1002
      4. Turn the ignition switch to ON.
      5. Turn the tester ON.
      6. Select the following menu items: DIAGNOSIS / ENHANCED OBD II / CHECK MODE.
      7. Switch the ECM from normal mode to check mode. (Make sure the MIL flashes as shown in Fig 7 .)
        Fig 7: Identifying MIL Flashes
        G02652767Courtesy of © TOYOTA, LICENSE AGREEMENT TMS1002
      8. Start the engine. (Make sure the MIL turns off.)
      9. Simulate the conditions of the malfunction described by the customer.
      10. Check DTCs and freeze frame data using the tester.

      HINT:

      Do not turn the ignition switch to OFF, as turning it to OFF switches the diagnosis system from check mode to normal mode, which erases all the stored DTCs and freeze frame date.

  4. FAIL-SAFE CHART 

    If any of the following codes are recorded, the ECM enters fail-safe mode.

    FAIL-SAFE CHART

    DTCs Items Fail-Safe Operations Fail-Safe Deactivation Conditions
    P0031, P0032, P0037, P0038, P0051 and P0052 Heated Oxygen Sensor (HO2S) Heater Turn off HO2S heater. Ignition switch is OFF.
    P0100 Mass Air Flow (MAF) Sensor Ignition timing is calculated from engine RPM and throttle position. Pass condition is detected.
    P0110 Intake Air Temperature (IAT) Sensor ECM estimates that IAT is 20°C (68°F). Pass condition is detected.
    P0115 Engine Coolant Temperature (ECT) Sensor ECM estimates that ECT is 80°C (176°F). Pass condition is detected.
    P0120, P0121, P0604, P0606, P0607, P0657, P1126, P2102, P2103, P2111, P2118 and P2119 Electronic Throttle Control System (ETCS) ECM cuts off throttle actuator current and throttle valve is controlled by throttle cable. ECM then adjusts engine output by controlling fuel injection (intermittent fuel-cut) and ignition timing according to accelerator pedal opening angle to continue at a minimal speed.(1) Pass condition is detected and ignition switch is turned OFF.
    P0325 Knock Sensor ECM sets ignition timing to maximum retard value (minimal spark advance control is performed). Ignition switch is OFF
    P0351 Ignitor Fuel is cut. Pass condition is detected
    P2120, P2121 Accelerator Pedal Position (APP) Sensor APP sensor has 2 sensor circuit: Main and sub. If either of circuits malfunctions, ECM controls engine using other circuit. If both of circuits malfunction, ECM regards accelerator pedal as being released. As a result, throttle valve is closed and engine idles. Pass condition is detected and ignition switch is turned OFF.
    (1) If DTCs P0860 and P1646 are output simultaneously, the fail-safe function operates to stop the engine when a vehicle speed of less than 3 mph (5 km/h) is reached
  5. CHECK FOR INTERMITTENT PROBLEMS 

    HINT:

    Hand-held tester only:

    Inspect the vehicle's ECM using check mode. Intermittent problems are easier to detect with the hand-held tester when the ECM is in check mode. In check mode, the ECM uses 1trip detection logic, which is more sensitive to malfunctions than normal mode (default) that uses 2trip detection logic.

    1. Clear DTCs (See step  2).
    2. Switch the ECM from normal mode to check mode using a hand-held tester.
    3. Perform a simulation test (See HOW TO PROCEED WITH TROUBLESHOOTING ).
    4. Check and wiggle the harness(es), the connector(s) and terminal(s) (See HOW TO USE THE DIAGNOSTIC CHART AND INSPECTION PROCEDURE ).
  6. BASIC INSPECTION 

    When a malfunction is not confirmed by the DTC check, troubleshooting should be carried out in all circuits considered to be possible causes of the problem. In many cases, by carrying out the basic engine check shown in the following flowchart, the location of the problem can be found quickly and efficiently. Therefore, using this check is essential when engine troubleshooting.

    1. Is battery voltage 11 V or more when engine stopped? 
      • NO: Charge or replace battery. 
      • YES: Go to next step. 
    2. Is engine cranked? 
      • NO: Proceed to  TEST  and continue to troubleshoot. 
      • YES: Go to next step. 
    3. Does engine start? 
      • NO: Go to step   6 . 
      • YES: Go to next step. 
    4. Check air cleaner filter. 

      PREPARATION: 

      Remove the air cleaner filter.

      OK: 

      Visual check that the air filter is not excessively dirty or oily.

      • NG: Replace air cleaner filter. 
      • OK: Go to next step. 
    5. Check idling speed. 

      PREPARATION: 

      1. Warm up the engine to the normal operating temperature.
      2. Switch off all the accessories.
      3. Switch off A/C.
      4. Shift the shift lever into the neutral position.
      5. Connect the hand-held tester or OBD II scan tool to the DLC3 of the vehicle.

      CHECK: 

      Check the idling speed.

      OK: Idling speed: 700 +/- 50 rpm 

    6. Check fuel pressure. 

      PREPARATION: 

      1. Be sure that there is sufficient fuel in the tank.
      2. Connect the hand-held tester to the DLC3.
      3. Turn the ignition switch to ON and turn the hand-held tester ON.
      4. Use ACTIVE TEST mode to operate the fuel pump.
      5. If you have no hand-held tester, connect the positive (+) and negative (-) battery leads to the fuel pump connector (See FUEL PUMP ).

      HINT:

      Please refer to the hand-held tester operator's manual for further details.

      CHECK: 

      Check for the fuel pressure in the fuel inlet hose when it is pinched by hand.

      HINT:

      You will hear the pump operating sound while the fuel pump is in operation.

      • NG: Proceed to  FUEL PUMP  and continue to troubleshoot. 
      • OK: Go to next step. 
    7. Check for spark. 

      PREPARATION: 

      1. Disconnect the ignition coil.
      2. Remove the spark plug.
      3. Install the spark plug to the ignition coil assembly.
      4. Disconnect the injector connector.
      5. Ground the spark plug.

      CHECK: 

      Check if spark occurs while the engine is being cranked.

      NOTE:
      • Do not change the electrode gap.
      • To prevent the injectors from injecting excess fuel during this test, do not crank the engine for more than 5 seconds at a time.
  7. DATA LIST 

    HINT:

    By reading the DATA LIST displayed on a hand-held tester, you can check values, including those of the switches, sensors, and actuators without removing any parts. Reading the DATA LIST as the first step of troubleshooting is one method of shortening diagnostic time.

    NOTE: In the table below, the values listed under Normal Condition are for reference only. Do not depend solely on these values when determining whether or not a part is faulty.
    1. Warm up the engine.
    2. Turn the ignition switch to OFF.
    3. Connect a hand-held tester to the DLC3.
    4. Turn the ignition switch to ON.
    5. Turn the tester ON.
    6. Select the following menu items: DIAGNOSIS / ENHANCED OBD II / DATA LIST.
    7. Check the values by referring to DATA LIST SPECIFICATION TABLE  .
    DATA LIST SPECIFICATION TABLE

    Hand-held Tester Display Measurement Items Normal Conditions(1)
    FUEL SYS #1 Fuel System Bank 1 OPEN: Air-fuel ratio feedback stopped CLOSED: Air-fuel ratio feedback operating Idling after warming up: CLOSED
    FUEL SYS #2 Fuel System Bank 2 OPEN: Air-fuel ratio feedback stopped CLOSED: Air-fuel ratio feedback operating Idling after warming up: CLOSED
    CALC LOAD Calculated Load: Current intake air volume as a proportion of max. intake air volume Idling: 11.3 to 16.0% Racing without load (2,500rpm): 12.3 to 17.9%
    COOLANT TEMP Engine Coolant Temp. Sensor Value After warming up: 80 to 95°C (176 to 203°F)
    SHORT FT #1 Short-term Fuel Trim Bank 1 0 +/- 20 %
    LONG FT #1 Long-term Fuel Trim Bank 1 0 +/- 20 %
    SHORT FT #2 Short-term Fuel Trim Bank 2 0 +/- 20 %
    LONG FT #2 Long-term Fuel Trim Bank 2 0 +/- 20 %
    ENGINE SPD Engine Speed Idling: 650 to 750 rpm
    VEHICLE SPD Vehicle Speed Vehicle stopped: 0 km/h (0 mph)
    IGN ADVANCE Ignition Advance: Ignition Timing of Cylinder No. 1 Idling: BTDC 8 to 12°
    INTAKE AIR Intake Air Temp. Sensor Value Equivalent to ambient temp.
    MAF Air Flow Rate Through Mass Air Flow Meter Idling: 1.4 to 2.0 gm/sec Racing without load (2,500 rpm): 5.4 to 7.9 gm/sec.
    THROTTLE POS Voltage Output of Throttle Position Sensor Calculated as a percentage: 0 V --> 0 %, 5 V --> 100 % Throttle fully closed: 6 to 16 % Throttle fully open: 64 to 98 %
    O2S B1 S1 Voltage Output of Heated Oxygen Sensor Bank 1 Sensor 1 Idling: 0.1 to 0.9 V
    O2S B2 S1 Voltage Output of Heated Oxygen Sensor Bank 2 Sensor 1 Idling: 0.1 to 0.9 V
    O2FT B1 S1 Heated Oxygen Sensor Fuel Trim Bank 1 Sensor 1 (Same as SHORT FT #1) 0 +/- 20 %
    O2FT B2 S1 Heated Oxygen Sensor Fuel Trim Bank 2 Sensor 1 (Same as SHORT FT #2) 0 +/- 20 %
    O2S B1 S2 Voltage Output of Heated Oxygen Sensor Bank 1 Sensor 2 Driving at 31 mph (50 km/h): 0.1 to 0.9 V
    MISFIRE RPM Engine RPM for first misfire range Misfire 0: 0 rpm
    MISFIRE LOAD Engine load for first misfire range Misfire 0: 9 g/r
    INJECTOR Fuel injection time for cylinder No. 1 Idling: 1.1 to 2.1 ms
    IAC DUTY RATIO Intake Air Control Valve Duty Ratio Opening ratio rotary solenoid type IAC valve Idling: 25 to 35 %
    STARTER SIG Starter Signal Cranking: ON
    CTP SW Closed Throttle Position Signal Throttle fully closed: ON
    A/C SIG A/C Switch Signal A/C ON: ON
    ELECTCL LOAD SIG Electrical Load Signal Defogger S/W: ON
    STOP LIGHT SW Stop Light Switch Signal Stop light switch: ON
    PS OIL PRESS SW Power Steering Oil Pressure Switch Signal ON: While turning steering wheel OFF: While not turning steering wheel
    FC IDL Fuel Cut Idle: Fuel cut when throttle valve fully closed, during deceleration Fuel cut operating: ON
    FC TAU Fuel Cut TAU: Fuel cut during very light load Fuel cut operating: ON
    CYL#1, CYL#2, CYL#3, CYL#4 Abnormal revolution variation for each cylinder 0 %
    IGNITION Total number of ignitions for every 1,000 revolutions 0 to 2,000
    FUEL PUMP Fuel Pump Signal Idling: ON
    A/C MAG CLUTCH A/C switch signal A/C ON: ON
    EVAP (PURGE) VSV EVAP VSV signal VSV operating: ON
    VVT CTRL VVT control signal VVT operating: ON
    INTAKE CTRL VSV Intake control VSV signal VSV operating: ON
    TOTAL FT B1 Total Fuel Trim Bank 1: Average value for fuel trim system of bank 1 Idling: 0.8 to 1.2 V
    TOTAL FT B2 Total Fuel Trim Bank 2: Average value for fuel trim system of bank 2 Idling: 0.8 to 1.2 V
    O2 LR B1 S1 Heated Oxygen Sensor Lean Rich Bank 1 Sensor 1 Response time for oxygen sensor output to switch from lean to rich Idling after warming up: 0 to 1,000 msec.
    O2 LR B2 S1 Heated Oxygen Sensor Lean Rich Bank 2 Sensor 1 Response time for oxygen sensor output to switch from lean to rich Idling after warming up: 0 to 1,000 msec.
    O2 RL B1 S1 Heated Oxygen Sensor Rich Lean Bank 1 Sensor 1 Response time for oxygen sensor output to switch from rich to lean Idling after warming up: 0 to 1,000 msec.
    O2 RL B2 S1 Heated Oxygen. Sensor Rich Lean Bank 2 Sensor 1 Response time for oxygen sensor output to switch from rich to lean Idling after warming up: 0 to 1,000 msec.
    (1) If no conditions are specifically stated for "Idling", it means the shift lever is in the neutral position, the A/C switch is OFF and all accessory switches are OFF.
  8. ACTIVE TEST 

    HINT:

    Performing an ACTIVE TEST enables components including the relays, VSV (Vacuum Switching Valve), and actuators, to be operated without removing any parts. The ACTIVE TEST can be performed with a hand-held tester. Performing an ACTIVE TEST as a first step of troubleshooting is one method of shortening diagnostic time.

    DATA LIST can be displayed during ACTIVE TESTs.

    1. Connect the hand-held tester to the DLC3.
    2. Turn the ignition switch to ON.
    3. Turn the tester ON.
    4. Select the following menu items: DIAGNOSIS / ENHANCED OBD II / ACTIVE TEST.
    5. Perform the ACTIVE TEST by referring to Fig 8 .
      Fig 8: Active Test Chart
      G02652768Courtesy of © TOYOTA, LICENSE AGREEMENT TMS1002
  9. DEFINITION OF TERMS 
    DEFINITION OF TERMS TABLE

    Terms Definition
    Monitor description Description of what the ECM monitors and how detects malfunction (monitoring purpose and details).
    Related DTCs A group of diagnostic trouble codes that are output by the ECM based on the same malfunction detection logic.
    Typical enabling condition Preconditions that allow the ECM to detect malfunctions. With all preconditions satisfied, the ECM sets a DTC when the monitored value(s) exceeds the malfunction threshold(s).
    Sequence of operation The priority order that is applied to monitoring, if multiple sensors and components are used to detect the malfunction. While another sensor is being monitored, the next sensor or component will not be monitored until the previous monitoring is concluded.
    Required sensor/components The sensors and components that are used by the ECM to detect malfunctions.
    Frequency of operation The number of times that the ECM checks for malfunctions per driving cycle. "Once per driving cycle" means that the ECM detects a malfunction only one time during a single driving cycle. "Continuous" means that the ECM detects a malfunction every time when enabling conditions are met.
    Duration The minimum time that the ECM must detect a continuous deviation in the monitored value(s) before setting a DTC. This timing begins when the "typical enabling conditions" are met.
    Malfunction thresholds Beyond this value, the ECM determines that there is a malfunction and sets a DTC.
    MIL operation MIL illumination timing after a defect is detected. "Immediately" means that the ECM illuminates the MIL the instant the ECM determines that there is a malfunction. "2 driving cycle" means that the ECM illuminates the MIL if the same malfunction is detected the second time during the next sequential driving cycle.
  10. TOYOTA/LEXUS PART AND SYSTEM NAME LIST 

    This reference list indicates the part names used along with their definitions.

    TOYOTA/LEXUS PART AND SYSTEM NAME TABLE

    TOYOTA/LEXUS names Definitions
    Toyota HCAC system, Hydro-carbon Adsorptive Catalyst (HCAC) system, HC adsorptive three-way catalyst HC adsorptive three-way catalytic converter
    Variable Valve Timing sensor, VVT sensor Camshaft position sensor
    Variable valve timing system, VVT system Camshaft timing control system
    Camshaft timing oil control valve, Oil control valve, OCV, VVT, VSV Camshaft timing oil control valve
    Variable timing and lift, VVTL Camshaft timing and lift control
    Crankshaft position sensor "A" Crankshaft position sensor
    Engine speed sensor Crankshaft position sensor
    THA Intake air temperature
    Knock control module Engine knock control module
    Knock sensor Engine knock sensor
    Mass or volume air flow circuit Mass air flow meter circuit
    Vacuum sensor Manifold air pressure sensor
    Internal control module, Control module, Engine control ECU, PCM Power train control module
    FC idle Deceleration fuel cut
    Idle air control valve Idle speed control
    VSV for CCV, Canister close valve VSV for canister control Evaporative emissions canister vent valve
    VSV for EVAP, Vacuum switching valve assembly No. 1, EVAP VSV, Purge VSV Evaporative emissions canister purge valve
    VSV for pressure switching valve, Bypass VSV Evaporative emission pressure switching valve
    Vapor pressure sensor, EVAP pressure sensor, Evaporative emission control system pressure sensor Fuel tank pressure sensor
    Charcoal canister Evaporative emissions canister
    ORVR system On-board refueling vapor recovery system
    Intake manifold runner control Intake manifold tuning system
    Intake manifold runner valve, IMRV, IACV (runner valve) Intake manifold tuning valve
    Intake control VSV Intake manifold tuning solenoid valve
    AFS Air fuel ratio sensor
    O2 sensor Heater oxygen sensor
    Oxygen sensor pumping current circuit Oxygen sensor output signal
    Oxygen sensor reference ground circuit Oxygen sensor signal ground
    Accel position sensor Accelerator pedal position sensor
    Throttle actuator control motor, Actuator control motor, Electronic throttle motor, Throttle control motor Electronic throttle actuator
    Electronic throttle control system, Throttle actuator control system Electronic throttle control system
    Throttle/pedal position sensor, Throttle/pedal position switch, Throttle position sensor/switch Throttle position sensor
    Turbo press sensor Turbo charger pressure sensor
    Turbo VSV Turbo charger pressure control solenoid valve
    P/S pressure switch Power-steering pressure switch
    VSV for ACM Active control engine mount
    Speed sensor, Vehicle speed sensor "A", Speed sensor for skid control ECU Vehicle speed sensor
    ATF temperature sensor, Trans. fluid temp. sensor, ATF temperature sensor "A" Transmission fluid temperature sensor
    Electronic controlled automatic transmission, ECT Electronically controlled automatic transmission
    Intermediate shaft speed sensor "A" Counter gear speed sensor
    Output speed sensor Output shaft speed sensor
    Input speed sensor, Input turbine speed sensor "A", Speed sensor (NT), Turbine speed sensor Input turbine speed sensor
    PNP switch, NSW Park/neutral position switch
    Pressure control solenoid Transmission pressure control solenoid
    Shift solenoid Transmission shift solenoid valve
    Transmission control switch, Shift lock control unit Shift lock control module
    Engine immobilizer system, Immobilizer system Vehicle anti-theft system
  11. List of Disable a Monitor 

    HINT:

    This table indicates ECM monitoring status for the items in the upper columns if the DTCs in each line on the left are being set.

    The tables below shows the ECM monitoring status for the DTCs listed in the table's top row when a DTC from the table's left column is set. Each "X" symbol means that a DTC in the top row will not be monitored.

    Fig 9: List Of Disable A Monitor (1 Of 6)
    G02652769Courtesy of © TOYOTA, LICENSE AGREEMENT TMS1002
    Fig 10: List Of Disable A Monitor (2 Of 6)
    G02652770Courtesy of © TOYOTA, LICENSE AGREEMENT TMS1002
    Fig 11: List Of Disable A Monitor (3 Of 6)
    G02652771Courtesy of © TOYOTA, LICENSE AGREEMENT TMS1002
    Fig 12: List Of Disable A Monitor (4 Of 6)
    G02652772Courtesy of © TOYOTA, LICENSE AGREEMENT TMS1002
    Fig 13: List Of Disable A Monitor (5 Of 6)
    G02652773Courtesy of © TOYOTA, LICENSE AGREEMENT TMS1002
    Fig 14: List Of Disable A Monitor (6 Of 6)
    G02652774Courtesy of © TOYOTA, LICENSE AGREEMENT TMS1002
  12. O2S TEST RESULT 
    1. Description of O2S TEST RESULT.

      The O2S Test Result is a part of the monitoring for Heated Oxygen (HO2) sensor malfunctions. The various states (Test Items) of the HO2 sensor are monitored by the ECM. The Test Item values (Test Value) can be read using a hand-held tester or OBD II scan tool.

      A Test Value is the latest snapshot data after the vehicle is driven to run the monitor. Therefore, the Test Value is not dynamic data.

      If a Test Value is outside the standard range, this indicates that the HO2 sensor is malfunctioning. If a Test Value is on the borderline of the standard level, any malfunctions may be concealed in the HO2 sensor. Test Values are cleared when the ignition switch is turned to OFF.

      Example

      O2S TEST RESULT TABLE

      Test ID Test Items Descriptions Unit Conversions Units Standard
      $81 Time $81 Percentage of time when HO2S voltage was below 0.05 V in HO2S monitoring time Multiply by 0.3906 % Within 60%
      • Test ID: Code applied to each Test Item
      • Test Item: State to be monitored in the test
      • Description: Monitoring method
      • Unit Conversion: Conversion factor used to calculate the Test Value displayed on a hand-held tester
      • Unit: Unit applied to a Test Value
      • Standard: The standard range or level used to judge whether or not the HO2 sensor is normal

      HINT:

      • Specifics of each Test Item, Description, Unit Conversion and Standard are described in the paragraph titled "O2S TEST RESULT" in each DTC section relating to the HO2 sensor, such as P0130, P0133 and P0136.
      • The O2S Test Result is not applicable to the A/F (Air-Fuel Ratio) sensor and the HO2 sensor heater. The Monitor Result is used for these components tests. For more information about the tests, refer to step  13 for CHECKING MONITOR STATUS.
    2. Procedure of O2S TEST RESULT.
      CAUTION: Strictly observe posted speed limits, traffic laws, and road conditions when conducting the drive patterns.
      1. Connect a hand-held tester or OBD II scan tool to the DLC3.
      2. Turn the ignition switch to ON.
      3. Turn the tester or scan tool ON.
      4. Clear DTCs (where set).
      5. Drive the vehicle to run the HO2 sensor monitor, in accordance with the applicable Drive Pattern described in READINESS MONITOR DRIVE PATTERN .
      6. After conducting the drive pattern, select the following menu items on the tester: DIAGNOSIS / CARB OBD II / O2S TEST RESULT.

        HINT:

        This test is not applicable to the A/F sensor. Therefore, even when BANK 1-SENSOR 1 or BANK 2-SENSOR 1 is selected on the tester, "NO PARAMETER TO DISPLAY" is displayed by the tester.

        Fig 15: Identifying O2S Sensor Test Screen
        G02652775Courtesy of © TOYOTA, LICENSE AGREEMENT TMS1002
      7. All HO2 sensors are listed on the tester screen.
      8. Select the desired HO2 sensor from the list and press the ENTER button (a screen such as that shown in Fig 16 ).
        Fig 16: HO2 Sensor Screen
        G02652776Courtesy of © TOYOTA, LICENSE AGREEMENT TMS1002
      9. Check the Test Value (the Test Item value).
      10. For the scan tool, refer to the instruction manual.
      NOTE: Until the HO2 sensor monitor runs to completion, when it fails to complete or when the ignition switch is turned to OFF, the tester screen displays the upper and lower viewable limit values for the monitor (for example, voltages: 0 V and 1.275 V, seconds: 0 and 10.2, Test Value: 0 and 255).
    3. Procedure of Reading Test Value (Example).

      HINT:

      The values shown in Fig 17 are examples only.

      1. Check the Test Value in the Test Item line.
      2. Use the Unit Conversion (conversion factor value) in the O2S Test Result table to calculate the Test Value.
        • Test Value: 17 x Unit Conversion: 0.3906 = Calculated Value and Unit: 6.6%
      3. Check the calculated Test Value by referring to the Standard Values in the table,
        Fig 17: Test Values On Screen
        G02652777Courtesy of © TOYOTA, LICENSE AGREEMENT TMS1002

    HINT:

    If a Test Value is within the Standard Value, this indicates that the Test Item is normal. If a Test Value is on the borderline of the Standard Value, the Test Item may have a problem or malfunction.

    O2S TEST RESULT Table 

    O2S TEST RESULT TABLE

    Test ID Test Items Descriptions Unit Conversions Units Standard
    $81 Time$81 Percentage of time when HO2S voltage was below 0.05 V in HO2S monitoring time Multiply by 0.3906 % Within 60%
  13. CHECKING MONITOR STATUS 
    NOTE: The monitor status (mode 6) is not applicable to the heated oxygen (HO2) sensor. However, HO2 sensor test values can be checked by O2S TEST RESULT (mode 5). Refer to step  12 in O2S TEST RESULT in PRE-CHECK.
    1. Outline

      The monitor results and the test value can be checked with the OBD II scan tool.

      The engine control module (ECM) monitors the emissions-related components as the thermostat, catalyst converter and evaporative emissions (EVAP), and determines whether they are functioning normally or not. When finished monitoring, the ECM stores the monitor results the test values.

      The monitor result indicates whether the component is functioning normally or not. The test value is the value that was used to determine the monitor result. If the test value is outside the test limit (malfunction criterion), that ECM determines the component is malfunctioning. Some emissions-related components have multiple test values to determine monitor result. If one of these test value is outside test limit, the ECM determines the component is malfunctioning.

    2. Description

      The test value and test limit information are described as shown in TID $08: THERMOSTAT TABLE  . This information is included under "MONITOR RESULT" in the emissions-related DTC information:

      TID $08: Thermostat 

      TID $08: THERMOSTAT TABLE

      TLT CID Unit Conversions Description of Test Data Description of Test Limit
      1 $01 Multiply by 0.625 and minus 40 [°C] ECT sensor output when estimated ECT has reached to malfunction criterion Malfunction criteria for thermostat
      • TID (Test Identification Data) is assigned to each emissions-related component.
      • TLT (Test Limit Type):

        If TLT is 0, the component is malfunctioning when the test value is higher than the test limit.

        If TLT is 1, the component is malfunctioning when the test value is lower than the test limit.

      • CID (Component Identification Data): is assigned to each test value.
      • Unit Conversion is used to calculate the test value indicated on generic OBD II scan tools.

      HINT:

      • Specifics of each CID, Unit Conversion and Test Limit are described in the paragraph titled "MONITOR RESULT" in each DTC section relating to the emission related components.
      • The Monitor Result is not applicable to the Heated Oxygen (HO2) sensor. For more information about the test, refer to O2S TEST RESULT .
    3. Procedure (using hand-held tester)
      1. Connect a hand-held tester.
      2. Turn the ignition switch to ON.
      3. Turn the tester ON.
      4. Clear DTCs (where set).
      5. Drive the vehicle to run the monitor, in accordance with the applicable Drive Pattern described in READINESS MONITOR DRIVE PATTERN .
      6. Select the following menu items: DIAGNOSIS / ENHANCED OBD II / MONITOR INFO / MONITOR RESULT. The monitor result appears after the component name.
        • INCMP indicates the component has not been monitored yet.
        • PASS indicates the component is functioning normally.
        • FAIL indicates the component is malfunctioning.
        Fig 18: Identifying Monitor Result Screen
        G02652778Courtesy of © TOYOTA, LICENSE AGREEMENT TMS1002
      7. Select the component and press ENTER. If the monitor result has been PASS or FAIL, the accuracy test value appears.
        • VAL indicates the test value.
        • LMT indicates the test limit (malfunction criterion).
        • TLT indicates the test limit type.
        Fig 19: Identifying Thermostat Malfunction Screen
        G02652779Courtesy of © TOYOTA, LICENSE AGREEMENT TMS1002
      8. Compare the test value with the test limit.
        • If TLT is 0, the component is malfunctioning when the test value is higher than the test limit.
        • If TLT is 1, the component is malfunctioning when the test value is lower than the test limit.
        • If the test value is on the borderline of the test limit, a malfunction is concealed in the component.

        HINT:

        The monitor result might on rare occasions be PASS even if the malfunction indicator lamp (MIL) is illuminated. This indicates the system malfunctioned on a previous driving cycle. This might be caused by an intermittent problem.

  14. REGISTRATION 
    NOTE: The Vehicle Identification Number (VIN) must be input into the replacement ECM.

    HINT:

    The VIN is in the form of a 17-digit alphanumeric vehicle identification number. A hand-held tester is required to register the VIN.

    1. Description

      This registration information consists of three parts, Input Instructions, Read VIN and Write VIN.

      1. Input Instructions: Explains the general VIN input instructions using a hand-held tester.
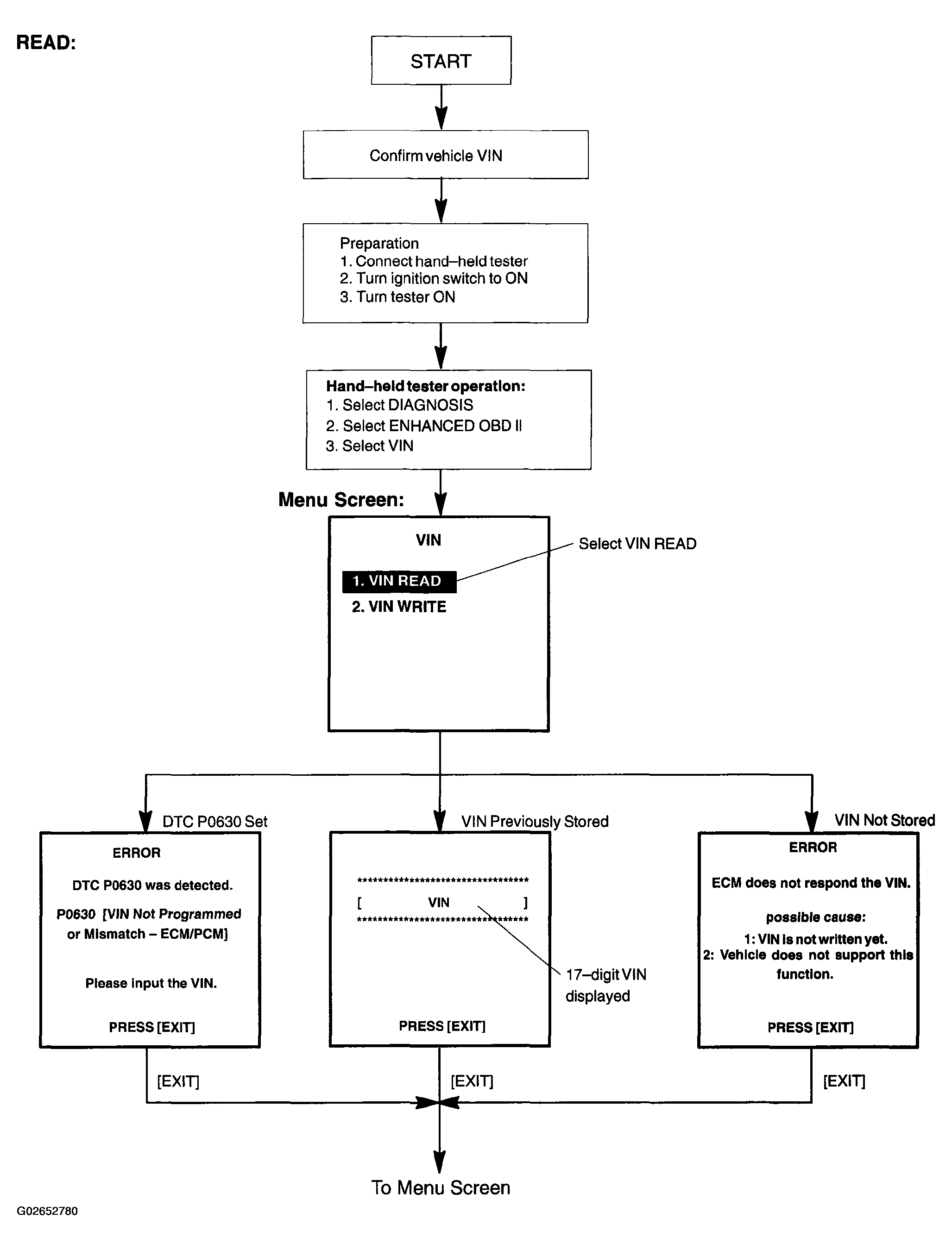
      2. Read VIN: Explains the VIN reading process with the flowchart. This process allows the VIN stored in the ECM to be read, in order to confirm that the two VINs, provided to the vehicle and stored in the vehicle's ECM, are the same.
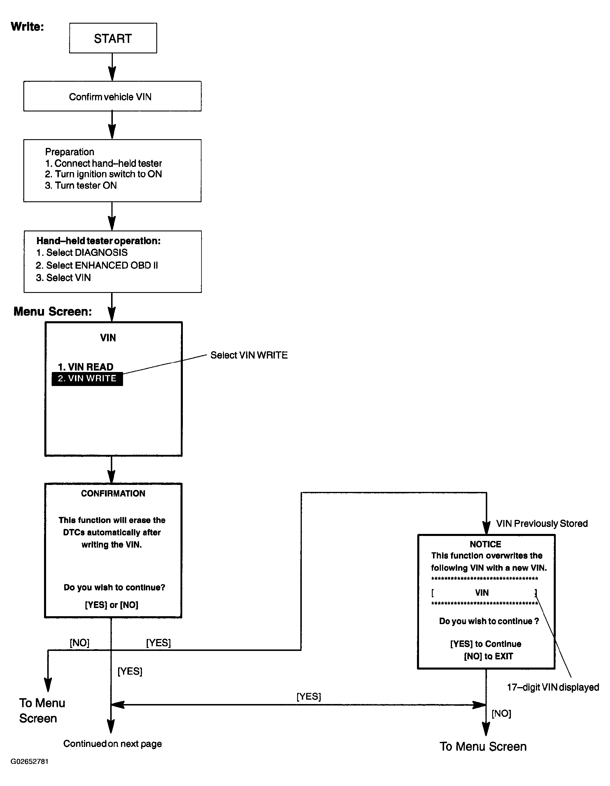
      3. Write VIN: Explains the VIN writing process with the flowchart. This process allows the VIN to be input into the ECM. If the ECM is changed, or the VIN and VIN do not match, the VIN can be registered, or overwritten in the ECM by following this procedure.
    2. Input instructions
      1. Hand-held tester
        • The allow buttons (UP, DOWN, RIGHT and LEFT) and numerical buttons (0 to 9) are used, in order to input the VIN.
      2. Cursor Operation
        • To move the cursor on the tester screen, press the RIGHT or LEFT buttons.
      3. Alphabetical Character Input
        • Press the UP or DOWN buttons to select the desired alphabetical character.
        • After selection, shift the cursor.
      4. Numeric Character Input
        • Press the numerical button corresponding to the number that you want to input.
        • After input, shift the cursor.

        HINT:

        The numerical characters can be selected by using the UP or DOWN buttons.

      5. Correction
        • When correcting the input character(s), put the cursor onto the character using the RIGHT or LEFT buttons.
        • Select or input a correct character using the UP/DOWN buttons, or the numerical buttons.
      6. Finishing Input Operation
        • Make sure that the input VIN matches with the vehicle VIN after input.
        • Press the ENTER button on the tester.
    3. Read VIN.
      1. Read VIN using the hand-held tester.
        Fig 20: Reading VIN - Flow Chart
        G02652780Courtesy of © TOYOTA, LICENSE AGREEMENT TMS1002
    4. Write VIN.
      1. Write VIN using the hand-held tester.
        Fig 21: Writing VIN - Flow Chart (1 Of 2)
        G02652781Courtesy of © TOYOTA, LICENSE AGREEMENT TMS1002
        Fig 22: Writing VIN - Flow Chart (2 Of 2)
        G02652782Courtesy of © TOYOTA, LICENSE AGREEMENT TMS1002