LEMON Manuals: Even more car manuals for everyone: 1960-2025
Home >> Toyota >> 2005 >> Matrix Base, FWD, Automatic >> Repair and Diagnosis >> General Information >> Identification >> Introduction >> Identification Information >> Vehicle Identification And Serial Numbers
April 5, 2026: LEMON Manuals is launched! Read the announcement.

Vehicle Identification And Serial Numbers

  1. VEHICLE IDENTIFICATION NUMBER 
    1. The vehicle identification number is stamped on the vehicle identification number plate and certification label, as shown in the illustration.

      A: Vehicle Identification Number Plate 

      B: Certification Label 

    Fig 1: Locating Vehicle Identification Number Position
    G02661341Courtesy of © TOYOTA, LICENSE AGREEMENT TMS1002
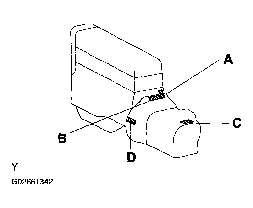
  2. ENGINE SERIAL NUMBER AND TRANSAXLE SERIAL NUMBER 
    1. The engine serial number is stamped on the cylinder block of the engine, and the transaxle serial number is stamped on the housing, as shown in the illustration.

      A: 1ZZ-FE, 2ZZ-GE 

      B: C59, C60 

      C: A246E 

      D: U341F 

    Fig 2: Locating Engine Serial Number And Transaxle Serial Number Position
    G02661342Courtesy of © TOYOTA, LICENSE AGREEMENT TMS1002