LEMON Manuals: Even more car manuals for everyone: 1960-2025
Home >> Toyota >> 2005 >> Sienna CE >> Repair and Diagnosis >> General Information >> Identification >> Introduction >> Identification Information >> Vehicle Identification And Serial Numbers
April 5, 2026: LEMON Manuals is launched! Read the announcement.

Vehicle Identification And Serial Numbers

  1. VEHICLE IDENTIFICATION NUMBER 
    1. The vehicle identification number is stamped on the vehicle identification number plate and the certification label, as shown.

      A: Vehicle Identification Number Plate 

      B: Certification Label 

      Fig 1: Locating Vehicle Identification Number Position
      G02628488Courtesy of © TOYOTA, LICENSE AGREEMENT TMS1002
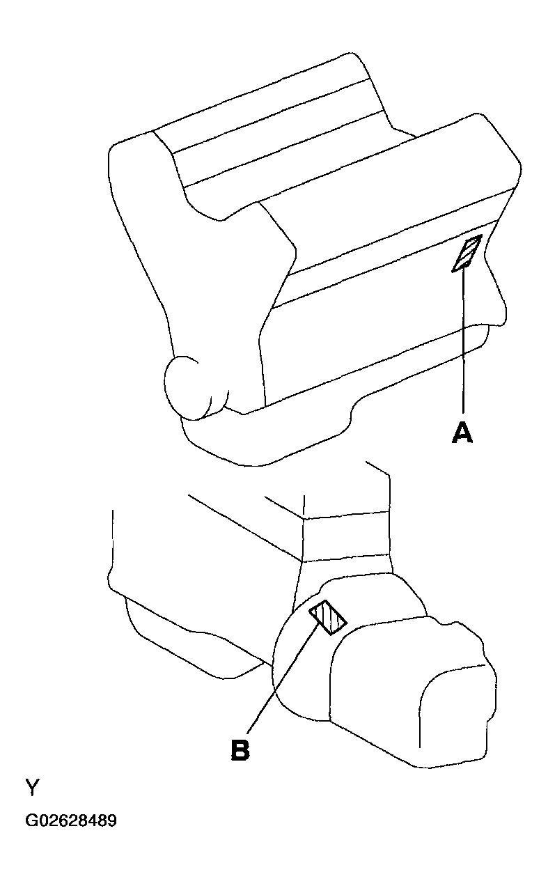
  2. ENGINE SERIAL NUMBER AND TRANSAXLE SERIAL NUMBER 
    1. The engine serial number is stamped on the cylinder block of the engine and the transaxle serial number is stamped on the housing as shown.

      A: Engine Serial Number 

      B: Transaxle Serial Number 

      Fig 2: Locating Engine & Transmission Serial Number Position
      G02628489Courtesy of © TOYOTA, LICENSE AGREEMENT TMS1002