LEMON Manuals: Even more car manuals for everyone: 1960-2025
Home >> Toyota >> 2006 >> Prius >> Repair and Diagnosis >> General Information >> Identification >> Introduction >> Repair Instruction >> Precaution
April 5, 2026: LEMON Manuals is launched! Read the announcement.

Repair Instruction: Precaution

  1. BASIC REPAIR HINT 
    1. HINTS ON OPERATIONS
      Fig 1: Identifying Repair Components
      G04471487Courtesy of © TOYOTA, LICENSE AGREEMENT TMS1002
      BASIC REPAIR HINT

      1 Attire
      • Always wear a clean uniform.
      • A hat and safety shoes must be worn.
      2 Vehicle protection Prepare a grille cover, fender cover, seat cover and floor mat before starting the operation.
      3 Safe operation
      • When working with 2 or more persons, be sure to check safety for one another.
      • When working with the engine running, make sure to provide ventilation for exhaust fumes in the workshop.
      • If working on high temperature, high pressure, rotating, moving, or vibrating parts, wear appropriate safety equipment and take extra care not to injure yourself or others.
      • When jacking up the vehicle, be sure to support the specified location with a safety stand.
      • When lifting up the vehicle, use appropriate safety equipment.
      4 Preparation of tools and measuring gauge Before starting the operation, prepare a tool stand, SST, gauge, oil and parts for replacement.
      5 Removal and installation, disassembly operations
      • Diagnose with a thorough understanding of proper procedures and of the reported problem.
      • Before removing parts, check the general condition of the assembly and for deformation and damage.
      • When the assembly is complicated, take notes. For example, note the total number of electrical connections, bolts, or hoses removed. Add matchmarks to ensure reassembly of components to their original positions. Temporarily mark hoses and their fittings if needed.
      • Clean and wash the removed parts if necessary and assemble them after a thorough check.
      6 Removed parts
      • Place removed parts in a separate box to avoid mixing them up with new parts or contaminating new parts.
      • For non-reusable parts such as gaskets, O-rings, and self-locking nuts, replace them with new ones as instructed in the article.
      • Retain the removed parts for customer inspection, if requested.
    2. JACKING UP AND SUPPORTING VEHICLE
      1. Care must be taken when jacking up and supporting the vehicle. Be sure to lift and support the vehicle at the proper locations.
    3. PRECOATED PARTS
      1. Precoated parts are bolts and nuts that are coated with a seal lock adhesive at the factory.
      2. If a precoated part is retightened, loosened or moved in any way, it must be recoated with the specified adhesive.
      3. When reusing a precoated part, clean off the old adhesive and dry the part with compressed air. Then apply new seal lock adhesive appropriate to that part.
      4. Some seal lock agents harden slowly. You may have to wait for the seal lock adhesive to harden.
        Fig 2: Applying Seal Lock Adhesive On Bolts And Nuts
        G04471488Courtesy of © TOYOTA, LICENSE AGREEMENT TMS1002
    4. GASKETS
      1. When necessary, use a sealer on gaskets to prevent leaks.
    5. BOLTS, NUTS AND SCREWS
      1. Carefully follow all the specifications for tightening torques. Always use a torque wrench.
    6. FUSES
      1. When inspecting a fuse, check that the wire of the fuse is not broken.
      2. When replacing fuses, be sure that the new fuse has the correct amperage rating. Do not exceed the rating or use one with a lower rating.
        Fig 3: Identifying Fuses
        G04471489Courtesy of © TOYOTA, LICENSE AGREEMENT TMS1002
        ILLUSTRATION AND SYMBOLS REFERENCE

        Illustration Symbol Part Name Abbreviation
        G04471490Courtesy of © TOYOTA, LICENSE AGREEMENT TMS1002
        G04471491Courtesy of © TOYOTA, LICENSE AGREEMENT TMS1002
        FUSE FUSE
        G04471492Courtesy of © TOYOTA, LICENSE AGREEMENT TMS1002
        G04471493Courtesy of © TOYOTA, LICENSE AGREEMENT TMS1002
        MEDIUM CURRENT FUSE M-FUSE
        G04471494Courtesy of © TOYOTA, LICENSE AGREEMENT TMS1002
        G04471495Courtesy of © TOYOTA, LICENSE AGREEMENT TMS1002
        HIGH CURRENT FUSE H-FUSE
        G04471496Courtesy of © TOYOTA, LICENSE AGREEMENT TMS1002
        G04471497Courtesy of © TOYOTA, LICENSE AGREEMENT TMS1002
        FUSIBLE LINK FL
        G04471498Courtesy of © TOYOTA, LICENSE AGREEMENT TMS1002
        G04471499Courtesy of © TOYOTA, LICENSE AGREEMENT TMS1002
        CIRCUIT BREAKER CB
    7. CLIPS
      1. The removal and installation methods of typical clips used for vehicle body parts are shown in the table below.

        HINT:

        If clips are damaged during a procedure, always replace the clips with new clips.

        CLIP REMOVAL AND INSTALLATION METHODS

        Shape (Example) Illustration Procedures
        G04471500Courtesy of © TOYOTA, LICENSE AGREEMENT TMS1002
        G04471501Courtesy of © TOYOTA, LICENSE AGREEMENT TMS1002
        Remove the clips with a clip remover or pliers.
        G04471502Courtesy of © TOYOTA, LICENSE AGREEMENT TMS1002
        G04471503Courtesy of © TOYOTA, LICENSE AGREEMENT TMS1002
        Remove the clips with a clip remover or screwdriver.
        G04471504Courtesy of © TOYOTA, LICENSE AGREEMENT TMS1002
        G04471505Courtesy of © TOYOTA, LICENSE AGREEMENT TMS1002
        Remove the clips with a wide scraper to prevent panel damage.
        G04471506Courtesy of © TOYOTA, LICENSE AGREEMENT TMS1002
        G04471507Courtesy of © TOYOTA, LICENSE AGREEMENT TMS1002
        Remove the clips by pushing center pin through and prying out the shell.
        G04471508Courtesy of © TOYOTA, LICENSE AGREEMENT TMS1002
        G04471509Courtesy of © TOYOTA, LICENSE AGREEMENT TMS1002
        Remove the clips by unscrewing the center pin and prying out the shell.
        G04471510Courtesy of © TOYOTA, LICENSE AGREEMENT TMS1002
        G04471511Courtesy of © TOYOTA, LICENSE AGREEMENT TMS1002
        Remove the clips by prying out the pin and then prying out the shell.
    8. CLAWS
      1. The removal and installation methods of typical claws used for vehicle body parts are shown in the table below.

        HINT:

        If claws of caps or covers are damaged during a procedure, always replace the caps or covers with new ones.

        CLIP REMOVAL AND INSTALLATION METHODS

        Shape (Example) Illustration Procedures
        G04471512Courtesy of © TOYOTA, LICENSE AGREEMENT TMS1002
        G04471513Courtesy of © TOYOTA, LICENSE AGREEMENT TMS1002
        1. Using a screwdriver, detach the claws and remove the cap or cover.
        G04471514Courtesy of © TOYOTA, LICENSE AGREEMENT TMS1002
        G04471515Courtesy of © TOYOTA, LICENSE AGREEMENT TMS1002
        Using a screwdriver, detach the claws and remove the cap or cover.
        G04471516Courtesy of © TOYOTA, LICENSE AGREEMENT TMS1002
        G04471517Courtesy of © TOYOTA, LICENSE AGREEMENT TMS1002
        Using a screwdriver, detach the claws and remove the cap or cover.
    9. REMOVAL AND INSTALLATION OF VACUUM HOSES
      1. To disconnect a vacuum hose, pull and twist from the end of the hose. Do not pull from the middle of the hose as this may cause damage.
        Fig 4: Identifying Correct Method Of Vacuum Hose Removal
        G04471518Courtesy of © TOYOTA, LICENSE AGREEMENT TMS1002
      2. When disconnecting vacuum hoses, use tags to identify where they should be reconnected.
        Fig 5: Tagging Vacuum Hoses
        G04471519Courtesy of © TOYOTA, LICENSE AGREEMENT TMS1002
      3. After completing any hose related repairs, double check that the vacuum hoses are properly connected. The label under the hood shows the proper layout.
      4. When using a vacuum gauge, never force the hose onto a connector that is too large. If a hose has been stretched, it may leak air. Use a step-down adapter if necessary.
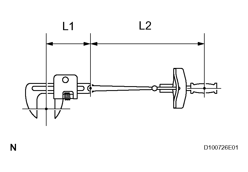
    10. TORQUE WHEN USING TORQUE WRENCH WITH EXTENSION TOOL
      Fig 6: Measuring Torque Wrench Length
      G04471520Courtesy of © TOYOTA, LICENSE AGREEMENT TMS1002
      1. Use the formula below to calculate special torque values for situations where SST or an extension tool is combined with the torque wrench.

        Formula: T' = L2 / (L1 + L2) * T 

        TORQUE WRENCH LENGTH

        T' Reading of torque wrench {N*m (kgf*cm, ft.*lbf)}
        T Torque {N*m (kgf*cm, ft.*lbf)}
        L1 Length of SST or extension tool {cm (in.)}
        L2 Length of torque wrench {cm (in.)}
        Fig 7: Measuring Torque Wrench Length
        G04471521Courtesy of © TOYOTA, LICENSE AGREEMENT TMS1002
        NOTE: If an extension tool or SST is combined with a torque wrench and the wrench is used to tighten to a torque specification in the article, the actual torque will be excessive and parts will be damaged.
  2. PRECAUTIONS FOR HIGH-VOLTAGE CIRCUIT INSPECTION AND SERVICE 
    1. Engineers must undergo special training to be able to perform high-voltage system inspection and servicing.
    2. All high-voltage wire harness connectors are colored orange. The HV battery and other high-voltage components have "High Voltage" caution labels. Do not carelessly touch these wires and components.
    3. Before inspecting or servicing the high-voltage system, be sure to follow safety measures, such as wearing insulated gloves and removing the service plug to prevent electrocution. Carry the removed service plug in your pocket to prevent other technicians from reinstalling it while you are servicing the vehicle.
    4. After removing the service plug, wait 5 minutes before touching any of the high-voltage connectors and terminals.

      HINT:

      5 minutes are required to discharge the high-voltage condenser inside the inverter.

      Fig 8: Removing Service Plug
      G04471522Courtesy of © TOYOTA, LICENSE AGREEMENT TMS1002
    5. Be sure to install the service plug before starting the hybrid system. Starting the hybrid system with the service plug removed may damage the vehicle.
    6. Before wearing insulated gloves, make sure that they are not cracked, ruptured, torn, or damaged in any way. Do not wear wet insulated gloves.
      Fig 9: Inspecting Insulated Gloves
      G04471523Courtesy of © TOYOTA, LICENSE AGREEMENT TMS1002
    7. When servicing the vehicle, do not carry metal objects like mechanical pencils or scales that can be dropped accidentally and cause a short circuit.
    8. Before touching a bare high-voltage terminal, wear insulated gloves and use an electrical tester to ensure that the terminal is not charged with electricity (approximately 0 V).
    9. After disconnecting or exposing a high-voltage connector or terminal, insulate it immediately using insulation tape.
    10. The screw of a high-voltage terminal should be tightened firmly to the specified torque. Both insufficient and excessive torque can cause failure.
    11. Use the "CAUTION: HIGH VOLTAGE. DO NOT TOUCH DURING OPERATION." sign to notify other engineers that a high-voltage system is being inspected and/or repaired.
    12. Do not place the battery upside down while removing and installing it.
      Fig 10: Precaution For Disconnecting Or Exposing High-Voltage Connector
      G04471524Courtesy of © TOYOTA, LICENSE AGREEMENT TMS1002
    13. After servicing the high-voltage system and before reinstalling the service plug, check again that you have not left a part or tool inside, that the high-voltage terminal screws are firmly tightened, and that the connectors are correctly connected.
    Fig 11: Caution Label
    G04471525Courtesy of © TOYOTA, LICENSE AGREEMENT TMS1002
  3. PRECAUTIONS TO BE OBSERVED WHEN INSPECTING OR SERVICING ENGINE COMPARTMENT 

    The PRIUS automatically turns the engine ON and OFF when the READY light on the instrument panel is ON. To avoid injury, remove the key from the key slot before inspecting or servicing the engine compartment.

  4. ACTIONS TO BE TAKEN WHEN BATTERIES ARE DEPLETED 
    1. Perform this procedure when the auxiliary battery is fully depleted.
      Fig 12: Locating Caution Indication Label
      G04471526Courtesy of © TOYOTA, LICENSE AGREEMENT TMS1002

      HINT:

      The following problems indicate that the auxiliary battery is depleted:

      • No display appears on the instrument panel when the power switch's power mode is set to ON (IG).
      • The hybrid system does not start.
      • The headlights are dim.
      • The sound from the horn is weak.
      NOTE: Never use a quick charger.
      1. Push the "P" position switch, and engage the parking brake.
      2. Remove the key from the key slot.
      3. Using a booster cable, connect the rescue vehicle's 12 V battery positive (+) lead to the stalled vehicle's relay block positive (+) terminal and the negative (-) lead to the suspension support's nut on the right side.
        Fig 13: Connecting Battery Using Booster Cable
        G04471527Courtesy of © TOYOTA, LICENSE AGREEMENT TMS1002
      4. Start the engine of the rescue vehicle and run the engine at a speed slightly higher than the idling speed for 5 minutes to charge the auxiliary battery of the stalled vehicle.
      5. Depress the brake pedal and push the power switch to start the hybrid system.

        If the hybrid system fails to start and the master light turns ON, the HV battery may be depleted.

      6. Disconnect the booster cable in the reverse order of the connection procedure.
        NOTE: If the auxiliary battery needs to be replaced, replace it only with a 12 V battery specially designed for use with the PRIUS.
        Fig 14: Identifying Battery Indication Label
        G04471528Courtesy of © TOYOTA, LICENSE AGREEMENT TMS1002
    2. Perform this procedure when the HV battery is depleted.
      NOTE: Leaving the vehicle untouched for 2 to 3 months may deplete the HV battery. If the battery is fully depleted, replace the HV battery.
  5. ACTIONS TO BE TAKEN FOR VEHICLE DAMAGED BY IMPACT 
    1. Items to be prepared for operation at the site of the accident
      • Protective clothing (insulated gloves, rubber gloves, goggles, and safety shoes)
      • Saturated boric acid solution 20 L (obtain 800 g of boric acid powder, put it into a container, and dissolve it in water)
      • Red litmus paper
      • ABC fire extinguisher (effective against both oil flames and electrical flames)
      • Shop rags (for wiping off the electrolyte)
      • Vinyl tape (for insulating cable)
      • Electrical tester
    2. Actions to be taken at the accident site
      1. Wear insulated or rubber gloves, goggles and safety shoes.
      2. Do not touch a bare cable that could be a high voltage cable. If the cable must be touched or if accidental contact is unavoidable, follow these instructions: 1) wear insulated or rubber gloves and goggles, 2) measure the voltage between the cable and the body ground using an electrical tester, and 3) insulate the cable using vinyl tape.
      3. If the vehicle catches on fire, use an ABC fire extinguisher to extinguish the fire. Trying to extinguish a fire using only a small amount of water can be more dangerous than effective. Use a substantial amount of water or wait for firefighters.
      4. Visually check the HV battery and immediate area for any electrolyte leakage. Do not touch any leaked liquid because it could be a highly alkaline electrolyte. Wear rubber gloves and goggles, and then apply red litmus paper to the leak. If the paper turns blue, the liquid must be neutralized before wiping. Neutralize the liquid using the following procedures: 1) apply saturated boric acid solution to the liquid, and 2) reapply red litmus paper and make sure it does not turn blue. Repeat steps  1 and  2 above until the paper does not turn blue. Then, wipe the neutralized liquid with a shop rag.
      5. If damage to any of the high-voltage components and cables is suspected, cut the high-voltage circuit using the procedure below.
        Fig 15: Identifying High-Voltage Parts And Wiring
        G04471529Courtesy of © TOYOTA, LICENSE AGREEMENT TMS1002
        1. Push the "P" position switch and engage the parking brake.
        2. Remove the key from the key slot. Then disconnect the negative (-) terminal of the auxiliary battery.
        3. Remove the service plug while wearing insulated gloves.
          CAUTION: Do not turn the power switch on while removing the service plug.
          Fig 16: Identifying Service Plug
          G04471530Courtesy of © TOYOTA, LICENSE AGREEMENT TMS1002
          NOTE: If the service plug cannot be removed due to damage to the rear portion of the vehicle, remove the HV fuse or power integration (IGCT relay) instead.
    3. Moving the damaged vehicle

      HINT:

      If any of the following applies, tow the vehicle away using a tow truck.

      • One or more of the high-voltage components and cables are damaged.
      • The driving, traction, or fuel system is damaged.
        Fig 17: Identifying Engine Room Junction Block
        G04471531Courtesy of © TOYOTA, LICENSE AGREEMENT TMS1002
      • The READY light is not illuminated when you start the engine.
      NOTE:
      • Before towing the vehicle away using a tow truck, disconnect the cable from the negative (-) terminal of the auxiliary battery and remove the service plug. Only if none of the above applies and there are no problems that might affect driving, drive the vehicle away from the accident site to a safe place nearby.
      • Perform the procedure below if the READY light turns off, or there are abnormal noises, unusual smells, or strong vibrations while driving:
        Fig 18: Identifying READY Light
        G04471532Courtesy of © TOYOTA, LICENSE AGREEMENT TMS1002
        1. Park the vehicle in a safe place.
        2. Push the "P" position switch and engage the parking brake.
        3. Disconnect the power cable from the negative (-) terminal of the auxiliary battery.
        4. Remove the service plug while wearing insulated gloves.
    4. Actions required after moving the damaged vehicle If you see any liquid on the road surface, it could be a highly alkaline electrolyte leakage.

      Wear rubber gloves and goggles, and apply red litmus paper to the leak. If the paper turns blue, the liquid must be neutralized before wiping. Neutralize the liquid using the following procedures: 1) apply saturated boric acid solution to the liquid, and 2) reapply red litmus paper and make sure it does not turn blue. Repeat steps  1 and  2 above until the paper does not turn blue. Then wipe the neutralized liquid with a shop rag.

    5. Items to be prepared (when repairing damaged vehicles)
      • Protective clothing (insulated gloves, rubber gloves, goggles, and safety shoes)
      • Saturated boric acid solution 20 L (obtain 800 g of boric acid powder, put it into a container, and dissolve it in water)
      • Red litmus paper
      • Shop rags (for wiping off the electrolyte)
      • Vinyl tape (for insulating cable)
      • Electrical tester
    6. Precautions to be observed when servicing the damaged vehicle
      1. Wear insulated or rubber gloves, goggles, and safety shoes.
      2. Do not touch a bare cable that could be a high voltage cable. If the cable must be touched or if accidental contact is unavailable, follow these instructions: 1) wear insulated or rubber gloves and goggles, 2) measure the voltage between the cable and the body ground using an electrical tester, and 3) insulate the cable using vinyl tape.
      3. Check the HV battery and immediate area for any electrolyte leakage. Do not touch any leaked liquid because it could be a highly alkaline electrolyte. Wear rubber gloves and goggles, and then apply red litmus paper to the leak. If the paper turns blue, the liquid must be neutralized before wiping. Neutralize the liquid using the following procedures:

        1) apply saturated boric acid solution to the liquid, and 2) reapply red litmus paper and make sure it does not turn blue. Repeat steps  1 and  2 above until the paper does not turn blue. Then wipe the neutralized liquid with a shop rag.

      4. If the electrolyte adheres to your skin, wash the skin immediately using saturated boric acid solution or a large amount of water. If the electrolyte adheres to an article of clothing, take the clothing off immediately.
      5. If the electrolyte comes in contact with your eyes, call out loudly for help. Do not rub your eyes. Wash them with a large amount of water and seek medical care immediately.
      6. If damage to any of the high-voltage components and cables is suspected, cut the high-voltage circuit using the procedure below.
        1. Push the "P" position switch and engage the parking brake.
        2. Remove the key from the key slot. Then disconnect the power cable from the negative (-) terminal of the auxiliary battery.
        3. Wear insulated gloves, and then remove the service plug.
          NOTE: If you cannot remove the service plug due to damage to the rear portion of the vehicle, remove the HV fuse or IGCT relay instead.
    7. Precautions to be taken when disposing of the vehicle

      When scrapping the vehicle, remove the HV battery from the vehicle and return it to the location specified by the manufacturer. The same applies to any damaged HV battery.

    8. After removing the battery, keep it away from water. Water may heat the battery, which results in fire.
    9. Precautions to be observed when towing Tow the damaged vehicle with its front wheels or its front and rear wheels lifted off the ground.
      NOTE: Towing the damaged vehicle with its front wheels on the ground may cause the motor to generate electricity. This electricity could, depending on the nature of the damage, leak and cause a fire.
    10. Towing with 4 wheels on the ground
      NOTE:
      • If the damaged vehicle needs to be towed using a rope, do not exceed 30 km/h and tow only for very short distances. For example, towing from the accident site to a nearby tow truck is permissible.
      • Change the power switch's power mode to ON (IG) and shift the selector lever to the N position.
      • If any abnormality is present in the damaged vehicle during towing, stop towing immediately.
    11. Towing eyelet
      1. Install the hook.
      2. Hook a rope on to the illustrated area for towing.
      Fig 19: Identifying Towing Eyelet
      G04471533Courtesy of © TOYOTA, LICENSE AGREEMENT TMS1002
  6. FOR VEHICLES WITH SUPPLEMENTAL RESTRAINT SYSTEM 

    The PRIUS is equipped with a Supplemental Restraint System (SRS). The SRS of this vehicle consists of the following:

    1. Steering pad
    2. Front passenger airbag assembly
    3. Curtain shield airbag assembly
    4. Front seat side airbag assembly
    5. Front seat outer belt assembly with pretensioner
    6. Front airbag sensor assembly
    7. Side airbag sensor assembly
    8. Rear airbag sensor assembly
    CAUTION:
    • Failure to carry out service procedures in the correct sequence could cause SRS parts to unexpectedly deploy and possibly lead to serious injuries. Furthermore, if a mistake is made when servicing SRS parts, they may fail to operate when required. Before performing servicing (including installation/removal, inspection and replacement of parts), be sure to read the following precautions.
    • Before starting work, wait at least 90 seconds after the power switch is turned OFF and after the cable of the negative (-) battery terminal is disconnected. (SRS parts are equipped with a backup power source. If work is started within 90 seconds of turning the power switch OFF and disconnecting the cable from the negative (-) battery terminal, SRS parts may deploy.)
    • Do not expose SRS parts directly to hot air or flames.
    NOTE:
    • Malfunction symptoms of SRS parts are difficult to confirm. DTCs are the most important source of information when troubleshooting. During troubleshooting, always confirm DTCs before disconnecting the cable from the negative (-) battery terminal.
    • For minor collisions where SRS parts do not deploy, always inspect the SRS parts.
    • Before performing repairs, remove airbag sensors as necessary if any kind of impact is likely to occur to an airbag sensor during repairs.
    • Never use SRS parts from another vehicle. When replacing SRS parts, replace them with new ones.
    • Never disassemble or attempt to repair SRS parts.
    • If an SRS part has been dropped, or if there are any cracks, dents or other defects in the case, bracket or connector, replace the SRS part with a new one.
    • Use an ohmmeter/voltmeter with high impedance (10 kΩ/V minimum) for troubleshooting the electrical circuits.
    • Information labels are attached to the periphery of SRS parts. Follow the cautions and instructions on the labels.
    • After work on SRS parts is completed, perform the SRS warning light check.
    • When the cable is disconnected from the negative (-) battery terminal, the memory settings of each system will be cleared. Because of this, be sure to write down the settings of each system before starting work. When work is finished, reset the settings of each system as before. Never use a backup power supply from outside the vehicle to avoid erasing the memory in a system.
    1. SPIRAL CABLE
      1. The steering wheel must be fitted correctly to the steering column with the spiral cable at the neutral position, as cable disconnection and other problems may occur. Refer to the information about correct installation of the steering wheel.
    2. AIRBAG ASSEMBLY
      1. Airbag assembly with pad: Always place a removed or new airbag assembly with the pad surface facing upward. Placing the airbag assembly with the airbag inflation direction facing downward could cause a serious accident if the airbag inflates. Also, do not place anything on top of the airbag assembly.
      2. Never measure the resistance of the airbag squib. This may cause the airbag to inflate, which could cause a serious injury.
      3. Grease or detergents of any kind should not be applied to the airbag assembly.
      4. Store the airbag assembly in an area where the ambient temperature is below 93°C (200°F), the humidity is not high and there is no electrical noise.
      5. When using electric welding anywhere on the vehicle, disconnect the airbag ECU connectors. These connectors contain shorting springs. This feature reduces the possibility of the airbag deploying due to currents entering the squib wiring.
      6. When disposing of the vehicle or the airbag assembly by itself, the airbag should be deployed using SST before disposal. Activate the airbag in a safe place away from electrical noise.
    3. SEAT OUTER BELT ASSEMBLY WITH PRETENSIONER
      1. Never measure the resistance of the seat outer belt. This may cause the pretensioner of the seat outer belt to activate, which could cause a serious injury.
      2. Never install the seat outer belt on another vehicle.
      3. Store the seat outer belt in an area where the ambient temperature is below 80°C (176°F), the humidity is not high and there is no electrical noise.
      4. When using electric welding anywhere on the vehicle, disconnect the airbag ECU connectors. These connectors contain shorting springs. This feature reduces the possibility of the pretensioner deploying due to currents entering the squib wiring.
      5. When disposing of a vehicle or the seat outer belt by itself, the pretensioner should be activated before disposal. Activate the pretensioner in a safe place away from electrical noise.
      6. As the seat outer belt is hot after the pretensioner is activated, allow some time for it to cool down sufficiently before disposal. Never apply water to try to cool down the seat outer belt.
      7. Grease, detergents, oil or water should not be applied to the seat outer belt.
    4. AIRBAG SENSOR ASSEMBLY
      1. Never reuse an airbag sensor assembly that has been involved in a collision where the SRS has deployed.
      2. The connectors to the airbag sensor assembly should be connected or disconnected with the sensor placed on the floor. If the connectors are connected or disconnected while the airbag sensor assembly is not placed on the floor, the SRS may activate.
      3. Work must be started at least 90 seconds after the power switch is turned OFF and the cable is disconnected from the negative (-) battery terminal, even if only loosening the set bolts of the airbag sensor assembly.
    5. WIRE HARNESS AND CONNECTOR
      1. The SRS wire harness is integrated with the instrument panel wire harness assembly. All the connectors in the system are yellow. If the SRS wire harness becomes disconnected or the connector becomes broken, repair or replace it.
  7. ELECTRONIC CONTROL 
    1. REMOVAL AND INSTALLATION OF BATTERY TERMINAL
      NOTE: Certain systems need to be initialized after disconnecting and reconnecting the cable from the negative (-) battery terminal.
      1. Before performing electronic work, disconnect the cable from the negative (-) battery terminal to prevent component and wire damage caused by accidental short circuits.
        Fig 20: Disconnecting Negative Battery Terminal
        G04471534Courtesy of © TOYOTA, LICENSE AGREEMENT TMS1002
      2. When disconnecting the cable, turn the power switch OFF and headlight dimmer switch OFF and loosen the cable nut completely. Perform these operations without twisting or prying the cable. Then disconnect the cable.
      3. Clock settings, radio settings, audio system memory, DTCs and other data are erased when the cable is disconnected from the negative (-) battery terminal. Write down any necessary data before disconnecting the cable.
    2. HANDLING OF ELECTRONIC PARTS
      1. Do not open the cover or case of the ECU unless absolutely necessary. If the IC terminals are touched, the IC may be rendered inoperative by static electricity.
      2. Do not pull the wires when disconnecting electronic connectors. Pull the connector.
      3. Be careful not to drop electronic components, such as sensors or relays. If they are dropped on a hard surface, they should be replaced.
        Fig 21: Precaution Against Dropping Electronic Components
        G04471535Courtesy of © TOYOTA, LICENSE AGREEMENT TMS1002
      4. When cleaning the engine with steam, protect the electronic components, air filter and emission-related components from water.
      5. Never use an impact wrench to remove or install temperature switches or temperature sensors.
      6. When measuring the resistance of a wire connector, insert the tester probe carefully to prevent terminals from bending.
  8. REMOVAL AND INSTALLATION OF FUEL CONTROL PARTS 
    1. PLACE FOR REMOVING AND INSTALLING FUEL SYSTEM PARTS
      1. Work in a location with good air ventilation that does not have welders, grinders, drills, electric motors, stoves, or any other ignition sources.
      2. Never work in a pit or near a pit as vaporized fuel will collect in those places.
    2. REMOVING AND INSTALLING FUEL SYSTEM PARTS
      1. Prepare a fire extinguisher before starting the operation.
      2. To prevent static electricity, install a ground wire to the fuel changer, vehicle and fuel tank, and do not spray the surrounding area with water. Be careful when performing work in this area, as the work surface will become slippery. Do not clean up gasoline spills with water, as this may cause the gasoline to spread, and possibly create a fire hazard.
      3. Avoid using electric motors, working lights and other electric equipment that can cause sparks or high temperatures.
      4. Avoid using iron hammers as they may create sparks.
      5. Dispose of fuel-contaminated cloth separately using a fire resistant container.
  9. REMOVAL AND INSTALLATION OF ENGINE INTAKE PARTS 
    1. If any metal particles enter inlet system parts, they may damage the engine.
    2. When removing and installing inlet system parts, cover the openings of the removed parts and engine openings. Use gummed tape or other suitable materials.
    3. When installing inlet system parts, check that no metal particles have entered the engine or the installed parts.
      Fig 22: Removing And Installing Engine Intake Parts
      G04471536Courtesy of © TOYOTA, LICENSE AGREEMENT TMS1002
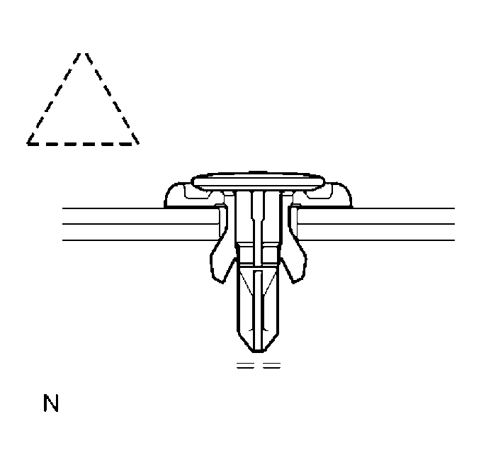
  10. HANDLING OF HOSE CLAMPS 
    1. Before removing the hose, check the clamp position so that it can be reinstalled in the same position.
    2. Replace any deformed or dented clamps with new ones.
    3. When reusing a hose, attach the clamp on the clamp track portion of the hose.
    4. For a spring type clamp, you may want to spread the tabs slightly after installation by pushing in the direction of the arrows as shown in the illustration.
  11. FOR VEHICLES EQUIPPED WITH MOBILE COMMUNICATION SYSTEMS 
    1. Install the antenna as far away from the ECU and sensors of the vehicle electronic systems as possible.
      Fig 23: Identifying Spring Type Clamp
      G04471537Courtesy of © TOYOTA, LICENSE AGREEMENT TMS1002
    2. Install an antenna feeder at least 20 cm (7.87 in.) away from the ECU and sensors of the vehicle electronic systems. For details about ECU and sensor locations, refer to the section of the applicable components.
    3. Keep the antenna and feeder separate from other wiring as much as possible. This will prevent signals from the communication equipment from affecting vehicle equipment and vice versa.
    4. Check that the antenna and feeder are correctly adjusted.
    5. Do not install a high-powered mobile communication system.
      Fig 24: Installing Antenna Feeder
      G04471538Courtesy of © TOYOTA, LICENSE AGREEMENT TMS1002
  12. FOR VEHICLES EQUIPPED WITH VEHICLE STABILITY (VSC) SYSTEM 
    1. NOTICES WHEN USING DRUM TESTER
      1. Before beginning testing, disable the VSC. To disable the VSC, turn the power switch OFF and connect SST to terminals 12 (TS) and 4 (CG) of the DLC3.

        SST 09843-18040 

        NOTE:
        • Confirm that the VSC warning light blinks.
        • The VSC system will be reset when the engine is started.
          Fig 25: Identifying DLC3 Terminals
          G04471539Courtesy of © TOYOTA, LICENSE AGREEMENT TMS1002
        • For safety, secure the vehicle with restraint chains while using a wheel dynamometer.
    2. NOTICES OF RELATED OPERATIONS TO VSC
      1. Do not carry out unnecessary installation and removal as it might affect the adjustment of VSC related parts.
      2. Be sure to follow the instructions for work preparation and final confirmation of proper operation of the VSC system.
  13. FOR VEHICLES EQUIPPED WITH CATALYTIC CONVERTER 
    CAUTION: If a large amount of unburned gasoline or gasoline vapors flow into the converter, it may cause overheating and create a fire hazard. To prevent this, observe the following precautions.
    1. Use only unleaded gasoline.
    2. Avoid idling the engine for more than 20 minutes.
    3. Avoid performing unnecessary spark jump tests.
      1. Perform a spark jump test only when absolutely necessary. Perform this test as rapidly as possible.
      2. While testing, never race the engine.
    4. Avoid a prolonged engine compression measurement. Engine compression measurements must be performed as rapidly as possible.
    5. Do not run the engine when the fuel tank is nearly empty. This may cause the engine to misfire and create an extra load on the converter.