LEMON Manuals: Even more car manuals for everyone: 1960-2025
Home >> Toyota >> 2007 >> FJ Cruiser RWD >> Repair and Diagnosis >> Engine Performance >> Engine Control System >> Fuel Pump Relay >> On-Vehicle Inspection
April 5, 2026: LEMON Manuals is launched! Read the announcement.

On-Vehicle Inspection

  1. DISCONNECT CABLE FROM NEGATIVE BATTERY TERMINAL 
  2. REMOVE FUEL PUMP RELAY 
    1. Remove the relay block cover upper.
    2. Remove the fuel pump relay.
      Fig 1: Identifying Relay Block Cover Upper & Fuel Pump Relay
      G05109013Courtesy of © TOYOTA, LICENSE AGREEMENT TMS1002
  3. INSPECT FUEL PUMP RELAY 
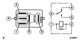
    Fig 2: Identifying Fuel Pump Relay
    G05109014Courtesy of © TOYOTA, LICENSE AGREEMENT TMS1002
    1. Check the resistance.
      1. Using an ohmmeter, measure the resistance between the terminals.

        Standard resistance 

        STANDARD RESISTANCE SPECIFICATIONS

        Tester Connection Specified Condition
        3 - 4 Below 1 Ω
        10 kΩ or higher (Battery voltage applied to terminals 1 and 2)
        3 - 5 10 kΩ or higher
        Below 1 Ω (Battery voltage applied to terminals 1 and 2)

        If the result is not as specified, replace the fuel pump relay.

  4. INSTALL FUEL PUMP RELAY 
    1. Install the fuel pump relay.
    2. Install the relay block cover upper.
  5. CONNECT CABLE TO NEGATIVE BATTERY TERMINAL 

    Torque: 3.9 N*m (40 kgf*cm, 35 in.*lbf)