LEMON Manuals: Even more car manuals for everyone: 1960-2025
Home >> Toyota >> 2008 >> Corolla LE, Automatic >> Repair and Diagnosis >> Brakes >> Traction Control >> Brake Control >> Anti-Lock Brake System >> System Diagram
April 5, 2026: LEMON Manuals is launched! Read the announcement.

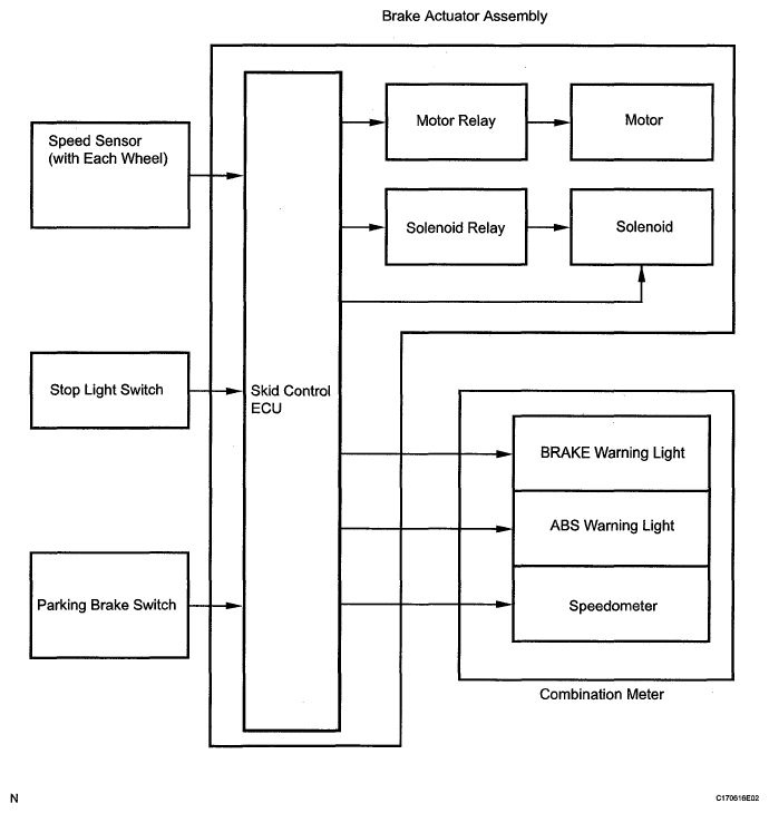
System Diagram

Fig 1: Anti-Lock Brake - System Diagram
G05590303Courtesy of © TOYOTA, LICENSE AGREEMENT TMS1002