LEMON Manuals: Even more car manuals for everyone: 1960-2025
Home >> Toyota >> 2009 >> Avalon XLS >> Repair and Diagnosis >> Body & Frame >> Windows >> Windshield/Window Glass >> Power Window Regulator Motor >> Inspection
April 5, 2026: LEMON Manuals is launched! Read the announcement.

Power Window Regulator Motor: Inspection

  1. INSPECT POWER WINDOW REGULATOR MOTOR ASSEMBLY (for Driver Side) 
    1. Check operation of the regulator motor.
      Fig 1: Inspecting Power Window Regulator Motor Assembly (For Driver Side)
      G05408242Courtesy of © TOYOTA, LICENSE AGREEMENT TMS1002
      1. Remove the power window regulator motor assembly.
      2. Apply battery voltage to the motor terminals.
        NOTE: Do not apply voltage to the terminals except 1 and 2.
      3. Check that the motor operates smoothly.

        OK 

        DRIVER SIDE POWER WINDOW OPERATION CONDITIONS

        Measurement Condition Specified Condition
        Battery positive (+) → Terminal 2 (U)
        Battery negative (-) → Terminal 1 (D)
        Motor gear rotates clockwise
        Battery positive (+) → Terminal 1 (D)
        Battery negative (-) → Terminal 2 (U)
        Motor gear rotates counterclockwise
    2. Check the PTC operation inside the regulator motor.
      NOTE: The work must be performed with the power window regulator and door glass installed in the vehicle.
      1. Disconnect the driver side power window regulator motor connector.
      2. Connect the ammeter's positive (+) lead to terminal 1 (D) of the wire harness side connector and the negative (-) lead to the battery's negative terminal.
        Fig 2: Checking PTC Operation Inside Regulator Motor
        G05408243Courtesy of © TOYOTA, LICENSE AGREEMENT TMS1002
      3. Connect the battery's positive (+) lead to terminal 2 (U) of the wire harness side connector, and raise the window to the fully closed position.
      4. Continue to apply voltage, and check that the current changes to less than 1 A within 4 to 90 seconds.
      5. Disconnect the leads from the terminals.
      6. Approximately 60 seconds later, connect the battery's positive (+) lead to terminal 1 (D) and the negative (-) lead to terminal 2 (U). Check that the window begins to descend.

        If the result is not as specified, replace the motor assembly.

  2. INSPECT POWER WINDOW REGULATOR MOTOR ASSEMBLY 
    1. Check operation of the regulator motor.
      1. Remove the power window regulator motor assembly.
      2. Apply battery voltage to the motor terminals.
        NOTE: Do not apply voltage to the terminals except 1 and 2.
      3. Check that the motor operates smoothly.
        Fig 3: Checking Operation Of Regulator Motor
        G05408244Courtesy of © TOYOTA, LICENSE AGREEMENT TMS1002

        OK 

        DRIVER SIDE POWER WINDOW OPERATION CONDITIONS

        Measurement Condition Specified Condition
        Battery positive (+) → Terminal 1 (D)
        Battery negative (-) → Terminal 2 (U)
        Motor gear rotates clockwise
        Battery positive (+) → Terminal 2 (U)
        Battery negative (-) → Terminal 1 (D)
        Motor gear rotates counterclockwise
    2. Check the PTC operation inside the regulator motor.
      NOTE: The work must be performed with the power window regulator and door glass installed in the vehicle.
      1. Disconnect the driver side power window regulator motor connector.
      2. Connect the ammeter's positive (+) lead to terminal 2 (U) of the wire harness side connector and the negative (-) lead to the battery's negative terminal.
        Fig 4: Checking PTC Operation Inside Regulator Motor
        G05408245Courtesy of © TOYOTA, LICENSE AGREEMENT TMS1002
      3. Connect the battery's positive (+) lead to terminal 1 (D) of the wire harness side connector, and raise the window to the fully closed position.
      4. Continue to apply voltage, and check that the current changes to less than 1 A within 4 to 90 seconds.
      5. Disconnect the leads from the terminals.
      6. Approximately 60 seconds later, connect the battery's positive (+) lead to terminal 2 (U) and the negative (-) lead to terminal 1 (D). Check that the window begins to descend.

        If the result is not as specified, replace the motor assembly.

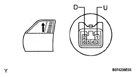
  3. INSPECT POWER WINDOW REGULATOR MOTOR ASSEMBLY (for Rear LH) 
    1. Check operation of the regulator motor.
      1. Remove the power window regulator motor assembly.
      2. Apply battery voltage to the motor terminals.
        NOTE: Do not apply voltage to the terminals except 1 and 2.
        Fig 5: Inspecting Power Window Regulator Motor Assembly (For Rear LH)
        G05408246Courtesy of © TOYOTA, LICENSE AGREEMENT TMS1002
      3. Check that the motor operates smoothly.

        OK 

        DRIVER SIDE POWER WINDOW OPERATION CONDITIONS

        Measurement Condition Specified Condition
        Battery positive (+) → Terminal 2 (D)
        Battery negative (-) → Terminal 1 (U)
        Motor gear rotates clockwise
        Battery positive (+) → Terminal 1 (U)
        Battery negative (-) → Terminal 2 (D)
        Motor gear rotates counterclockwise
    2. Check the PTC operation inside the regulator motor.
      NOTE: The work must be performed with the power window regulator and door glass installed in the vehicle.
      1. Disconnect the driver side power window regulator motor connector.
      2. Connect the ammeter's positive (+) lead to terminal 1 (U) of the wire harness side connector and the negative (-) lead to the battery's negative terminal.
        Fig 6: Checking PTC Operation Inside Regulator Motor
        G05408247Courtesy of © TOYOTA, LICENSE AGREEMENT TMS1002
      3. Connect the battery's positive (+) lead to terminal 2 (D) of the wire harness side connector, and raise the window to the fully closed position.
      4. Continue to apply voltage, and check that the current changes to less than 1 A within 4 to 90 seconds.
      5. Disconnect the leads from the terminals.
      6. Approximately 60 seconds later, connect the battery's positive (+) lead to terminal 1 (U) and the negative (-) lead to terminal 2 (D). Check that the window begins to descend.

        If the result is not as specified, replace the motor assembly.

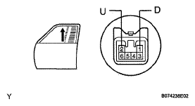
  4. INSPECT POWER WINDOW REGULATOR MOTOR ASSEMBLY (for Rear RH) 
    1. Check operation of the regulator motor.
      1. Remove the power window regulator motor assembly.
      2. Apply battery voltage to the motor terminals.
        NOTE: Do not apply voltage to the terminals except land 2.
      3. Check that the motor operates smoothly.
        Fig 7: Inspecting Power Window Regulator Motor Assembly (For Rear RH)
        G05408248Courtesy of © TOYOTA, LICENSE AGREEMENT TMS1002

        OK 

        DRIVER SIDE POWER WINDOW OPERATION CONDITIONS

        Measurement Condition Specified Condition
        Battery positive (+) → Terminal 1 (U)
        Battery negative (-) → Terminal 2 (D)
        Motor gear rotates clockwise
        Battery positive (+) → Terminal 2 (D)
        Battery negative (-) → Terminal 1 (U)
        Motor gear rotates counterclockwise
    2. Check the PTC operation inside the regulator motor.
      NOTE: The work must be performed with the power window regulator and door glass installed in the vehicle.
      1. Disconnect the driver side power window regulator motor connector.
      2. Connect the ammeter's positive (+) lead to terminal 2 (D) of the wire harness side connector and the negative (-) lead to the battery's negative terminal.
        Fig 8: Checking PTC Operation Inside Regulator Motor
        G05408249Courtesy of © TOYOTA, LICENSE AGREEMENT TMS1002
      3. Connect the battery's positive (+) lead to terminal 1 (U) of the wire harness side connector, and raise the window to the fully closed position.
      4. Continue to apply voltage, and check that the current changes to less than 1 A within 4 to 90 seconds.
      5. Disconnect the leads from the terminals.
      6. Approximately 60 seconds later, connect the battery's positive (+) lead to terminal 2 (D) and the negative (-) lead to terminal 1 (U). Check that the window begins to descend.

        If the result is not as specified, replace the motor assembly.