LEMON Manuals: Even more car manuals for everyone: 1960-2025
Home >> Toyota >> 2009 >> FJ Cruiser 4WD, Part Time >> Repair and Diagnosis >> Brakes >> Traction Control >> Brake Control System >> Vehicle Stability Control System >> System Description
April 5, 2026: LEMON Manuals is launched! Read the announcement.

System Description

  1. SYSTEM DESCRIPTION 

    HINT:

    The skid control ECU forms a single unit with the hydraulic brake booster.

    1. ABS (Anti-lock Brake System)

      The ABS helps prevent the wheels from locking when the brakes are applied firmly or when braking on a slippery surface.

      Fig 1: ABS (Anti-Lock Brake System) System Diagram
      G05112206Courtesy of © TOYOTA, LICENSE AGREEMENT TMS1002
      1. Operation description

        The skid control ECU detects the wheel lock condition by receiving vehicle speed signals from each speed sensor, and sends control signals to the pump motor and solenoid valves to prevent the wheels from locking by controlling the oil pressure of each wheel cylinder. The ABS warning light comes on when the ABS system malfunctions.

    2. EBD (Electronic Brake force Distribution) The EBD control utilizes ABS, realizing proper brake force distribution between the front and rear wheels in accordance with the driving conditions and vehicle load.

      In addition, when braking while cornering, it also controls the brake forces of the right and left wheels, helping to maintain the vehicle behavior.

      Fig 2: EBD (Electronic Brake Force Distribution) System Diagram
      G05112207Courtesy of © TOYOTA, LICENSE AGREEMENT TMS1002
      1. Operation description

        The skid control ECU receives the speed signals from each speed sensor to detect the slip condition of the wheels and sends the control signal to the solenoid.

        The solenoid valves control the oil pressure of the rear wheel cylinder and divide the control power appropriately between the front and rear wheels and the right and left wheels.

        Both of the ABS and the brake warning lights come on when the EBD system malfunctions.

    3. BA (Brake Assist)

      The primary purpose of the brake assist system is to provide an auxiliary brake force to assist drivers who cannot generate a large enough brake force during emergency braking, thus helping to maximize the vehicle's brake performance.

      Fig 3: BA (Brake Assist) System Diagram
      G05112208Courtesy of © TOYOTA, LICENSE AGREEMENT TMS1002
      1. Operation description

        The skid control ECU receives the speed signals from each speed sensor and the fluid pressure signal from the master cylinder pressure sensor to determine whether brake assist is necessary. If brake assist is deemed necessary, the skid control ECU sends control signals to the pump motor and solenoid. The pump and the solenoid valves then control the pressure applied to each wheel cylinder.

        The ABS warning light comes on when the BA system malfunctions.

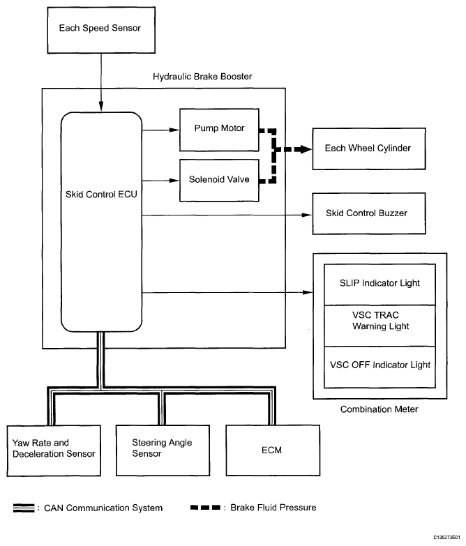
    4. VSC (Vehicle Stability Control)

      The VSC system helps prevent the vehicle from slipping sideways as a result of strong front wheel skid or strong rear wheel skid during cornering.

      Fig 4: VSC (Vehicle Stability Control) System Diagram
      G05579768Courtesy of © TOYOTA, LICENSE AGREEMENT TMS1002
      1. Operation description

        The skid control ECU determines the vehicle condition by receiving signals from the speed sensors, yaw rate and deceleration sensor and steering angle sensor. The skid control ECU controls the engine torque through the ECM via CAN communication, and brake fluid pressure through the pump and solenoid valves. The SLIP indicator light blinks and the skid control buzzer sounds when the system is operating. The VSC TRAC warning light and the VSC OFF indicator light (for 2WD with rear differential lock or 4WD) come on when the VSC system malfunctions.

    5. TRAC (Traction Control)

      The TRAC system helps prevent the drive wheels from slipping if the driver presses down on the accelerator pedal excessively when starting off or accelerating on a slippery surface.

      Fig 5: TRAC (Traction Control) System Diagram
      G05112210Courtesy of © TOYOTA, LICENSE AGREEMENT TMS1002
      1. Operation description

        The skid control ECU detects the vehicle's slip condition by receiving signals from each speed sensor and the ECM via CAN communication. The skid control ECU controls engine torque through the ECM via CAN communication, and brake fluid pressure through the pump and solenoid valves.

        The SLIP indicator light blinks when the system is operating. The VSC TRAC warning light and SLIP indicator light come on when the TRAC system malfunctions.

    6. A-TRAC (Active Traction Control)

      During rugged off-road driving, this function controls the engine output and the brake fluid pressure that is applied to slipping wheels, and distributes the drive force that would have been lost through the slippage to the remaining wheels in order to achieve a LSD (Limited Slip Differential) effect. As a result, the vehicle's off-road drivability and ability to free itself from moguls have been increased.

      HINT:

      The A-TRAC system operates when 4WD mode is selected (4WD vehicles only).

      Fig 6: A-TRAC (Active Traction Control) System Diagram
      G05112211Courtesy of © TOYOTA, LICENSE AGREEMENT TMS1002
      1. Operation description

        When the A-TRAC switch is pressed and the A-TRAC system is operative, the A-TRAC indicator light comes on. When the system is operating, the SLIP indicator light blinks. The VSC TRAC warning light and SLIP indicator light come on when the A-TRAC system malfunctions.

        HINT:

        If the A-TRAC system operates constantly for a long time, the temperature of the actuator in the hydraulic brake booster may increase excessively. In such cases, the skid control buzzer sounds intermittently and the SLIP indicator light comes on. If this condition continues, the skid control buzzer sounds for approximately 1 second and the A-TRAC system is temporarily deactivated. After a while, the SLIP indicator light goes off and the A-TRAC system is reactivated. The vehicle can be driven normally while the A-TRAC system is deactivated.

    7. AUTO-LSD (Auto Limited Slip Differential)

      The AUTO LSD operates with the AUTO LSD switch on and the accelerator pedal depressed. The TRAC system restrains brake pressure and reduces differential move, thus transmitting the drive torque to the other drive wheel to ensure stability under the following conditions:

      • Wheels run off the road.
      • Drive wheels run idle when starting on a slope with one wheel on snow/ice.

      HINT:

      Depressing the brake pedal cancels control of the AUTO LSD system.

      Fig 7: AUTO-LSD (Auto Limited Slip Differential) System Diagram
      G05112212Courtesy of © TOYOTA, LICENSE AGREEMENT TMS1002
      1. Operation description

        When the AUTO LSD switch is pressed and the AUTO LSD system is operative, the AUTO LSD indicator light comes on. When the system is operating, the SLIP indicator light blinks. The VSC TRAC warning light and SLIP indicator light come on when the AUTO LSD system malfunctions.

        HINT:

        If the AUTO LSD system operates constantly for a long time, the temperature of the actuator in the hydraulic brake booster may increase excessively. In such cases, the skid control buzzer sounds intermittently and the SLIP indicator light comes on. If this condition continues, the skid control buzzer sounds for approximately 1 second and the AUTO LSD system is temporarily deactivated. After a while, the SLIP indicator light goes off and the AUTO LSD system is reactivated. The vehicle can be driven normally while the AUTO LSD system is deactivated.

  2. ABS with EBD, BA, TRAC, AUTO LSD, A-TRAC and VSC OPERATION 
    1. The skid control ECU calculates vehicle stability tendency based on the signals from the 4 wheel speed sensors, the yaw rate and deceleration sensor and the steering angle sensor. In addition, it evaluates the results of the calculations to determine whether any control actions (control of the engine output torque by electronic throttle control and of the brake fluid pressure by the hydraulic brake booster) should be implemented.
  3. FAIL SAFE FUNCTION 
    1. When a failure occurs in the ABS with BA, TRAC, AUTO LSD, A-TRAC and VSC systems, the ABS and VSC TRAC warning lights, and VSC OFF and SLIP indicator lights come on, and the operation of those systems is prohibited. In addition to this, when a failure which disables the EBD operation occurs, the brake warning light comes on and its operation is prohibited.
    2. If control is prohibited due to a malfunction during operation, control is disabled gradually to avoid sudden vehicle instability.
  4. INITIAL CHECK 
    1. When the vehicle speed first reaches approximately 4 mph (6 km/h) or more after the ignition switch is turned ON, each solenoid valve and the motor of the hydraulic brake booster are sequentially activated to perform electrical checks. During the initial check, the operating sound of the motor can be heard from the engine compartment, but this does not indicate a malfunction.
  5. FUNCTION OF COMPONENTS 
    COMPONENTS FUNCTION CHART

    Components Function
    Hydraulic brake booster
    • Consists of master cylinder solenoid, pump motor and accumulator reservoir, and adjusts brake fluid pressure applied to each wheel cylinder.
    • Houses skid control ECU.
    Skid control ECU
    • Processes signals from each sensor to control ABS, BA, TRAC, VSC, A-TRAC and AUTO LSD.
    • Sends and receives control signals to and from ECM, yaw rate and deceleration sensor, steering angle sensor, etc. via CAN communication.
    • Housed in hydraulic brake booster.
    Master cylinder pressure sensor
    • Detects brake fluid pressure in master cylinder.
    • Housed in hydraulic brake booster.
    Accumulator pressure sensor
    • Detects accumulator pressure in accumulator.
    • Housed in hydraulic brake booster.
    Front speed sensor
    • Detects wheel speed and sends signal to skid control ECU.
    • Front speed sensor (semiconductor speed sensor) with integrated bearing and sensor rotor (magnetic sensor rotor) are installed on front axle hub.
    • Magnetic sensor rotor is equipped with north and south poles (48 poles each), which are evenly spaced around its circumference.
    • Magnetic field changes as magnetic sensor rotor rotates. Semiconductor speed sensor detects change and outputs it as vehicle speed pulse.
    Rear speed sensor
    • Rear speed sensor (semiconductor speed sensor) and sensor rotor (magnetic sensor rotor) are installed on rear axle carrier.
    • Rear speed sensor has same structure and functions as front speed sensor.
    ABS warning light Illuminates to inform driver that skid control ECU has detected ABS system malfunction and terminated ABS system operation.
    BRAKE warning light Illuminates to inform driver that skid control ECU has detected BRAKE system malfunction.
    VSC TRAC warning light Illuminates to inform driver that skid control ECU has detected VSC system malfunction and terminated VSC system operation.
    SLIP indicator light Blinks to inform driver that VSC, TRAC, A-TRAC or AUTO LSD is in operation.
    A-TRAC indicator light Illuminates to inform driver that A-TRAC is ready to operate.
    AUTO LSD indicator light Illuminates to inform driver that AUTO LSD is ready to operate.
    Yaw rate and deceleration sensor Detects vehicle's yaw rate and deceleration and sends signal to skid control ECU via CAN communication system.
    Steering angle sensor Detects steering wheel's steering angle and amount of movement, then sends signal to skid control ECU via CAN communication system.
    Skid control buzzer
    • Sounds intermittently to inform driver that VSC activating.
    • Sounds intermittently to inform driver if temperature of hydraulic brake booster has increased excessively due to continuous operation of TRAC, A-TRAC and AUTO LSD.
    • Sounds continuously to alert driver that hydraulic pressure of accumulator in hydraulic brake booster has decreased.
    ECM
    • Sends sensor signals (throttle opening angle, engine rpm) to skid control ECU.
    • Engine controlled based on traction control signal from skid control ECU via CAN communication system.
    A-TRAC switch Allows driver to turn A-TRAC on and off.
    AUTO LSD switch Allows driver to turn AUTO LSD on and off.