LEMON Manuals: Even more car manuals for everyone: 1960-2025
Home >> Toyota >> 2009 >> Matrix Base, Standard >> Repair and Diagnosis >> Accessories & Equipment >> Communication Devices >> Networking >> Can Communication System >> Open in CAN Main Bus Line >> Wiring Diagram
April 5, 2026: LEMON Manuals is launched! Read the announcement.

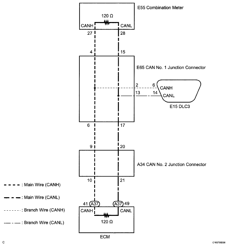
Open in CAN Main Bus Line: Wiring Diagram

Fig 1: CAN Main Bus Line - Wiring Diagram
G06036183Courtesy of © TOYOTA, LICENSE AGREEMENT TMS1002