LEMON Manuals: Even more car manuals for everyone: 1960-2025
Home >> Toyota >> 2009 >> Matrix Base, Standard >> Repair and Diagnosis >> External Pages >> Different car >> Section 48 (Vehicle Stability Control System (Diagnostics - Introduction)) >> Vehicle Stability Control System >> System Diagram >> System Diagram
April 5, 2026: LEMON Manuals is launched! Read the announcement.

System Diagram

WARNING: This page is about a different car, the 2011 Toyota Avalon. However, it is still accessible from the selected car via links, so may be relevant.
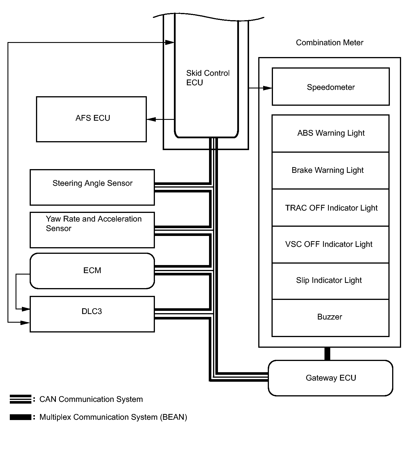
Fig 1: Vehicle Stability Control System Diagram (1 Of 2)
GTY300481Courtesy of © TOYOTA, LICENSE AGREEMENT TMS1002
Fig 2: Vehicle Stability Control System Diagram (2 Of 2)
GTY299579Courtesy of © TOYOTA, LICENSE AGREEMENT TMS1002
Transmitting ECU (Transmitter) Receiving ECU Signal Communication Method
Skid control ECU Steering angle sensor Steering angle sensor request signal CAN communication system
Steering angle sensor Skid control ECU Steering angle sensor signal CAN communication system
Skid control ECU Yaw rate and acceleration sensor Yaw rate and acceleration request signal CAN communication system
Yaw rate and acceleration sensor Skid control ECU Yaw rate and acceleration signal CAN communication system
Skid control ECU ECM
  • Wheel speed signal
  • VSC data signal
CAN communication system
ECM Skid control ECU
  • Shift lever position signal
  • Throttle position signal
  • Engine speed signal
  • Intake air temperature signal
  • Engine torque request signal
  • Accelerator pedal position signal
CAN communication system
Skid control ECU Gateway ECU
  • ABS warning light signal
  • BRAKE warning light signal
  • TRAC OFF indicator light signal
  • VSC OFF indicator light signal
  • SLIP indicator light signal
  • Wheel speed signal
  • Meter buzzer signal (for sensor check)
CAN communication system