LEMON Manuals: Even more car manuals for everyone: 1960-2025
Home >> Toyota >> 2009 >> Yaris Base, 4D Hatchback >> Repair and Diagnosis >> Engine Performance >> Engine Ignition System >> Ignition System >> System Diagram
April 5, 2026: LEMON Manuals is launched! Read the announcement.

System Diagram

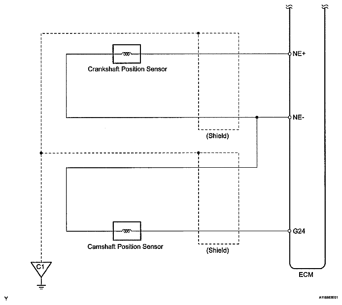
Fig 1: Identifying Ignition System Diagram (1 Of 2)
G04829324Courtesy of © TOYOTA, LICENSE AGREEMENT TMS1002
Fig 2: Identifying Ignition System Diagram (2 Of 2)
G04829325Courtesy of © TOYOTA, LICENSE AGREEMENT TMS1002