LEMON Manuals: Even more car manuals for everyone: 1960-2025
Home >> Toyota >> 2012 >> Prius Three >> Repair and Diagnosis (Single Page) >> Engine Performance >> System >> Engine Control System (Except Plug-In) (Diagnostic Codes (P0010-P043F)) >> SFI System >> DTC P0403: Exhaust Gas Recirculation Control Circuit >> Procedure
April 5, 2026: LEMON Manuals is launched! Read the announcement.

DTC P0403: Exhaust Gas Recirculation Control Circuit: Procedure

  1. PERFORM ACTIVE TEST USING TECHSTREAM (CONTROL THE EGR STEP POSITION) 
    1. Connect the Techstream to the DLC3.
    2. Turn the power switch on (IG).
    3. Turn the Techstream on.
    4. Put the engine in inspection mode (maintenance mode). Refer to INSPECTION MODE PROCEDURE .
    5. Start the engine and warm it up until the engine coolant temperature reaches 75°C (167°F) or more.

      HINT: 

      The A/C switch and all accessory switches should be off.

    6. Enter the following menus: Powertrain / Engine and ECT / Active Test / Control the EGR Step Position.
    7. Check the engine idling condition and MAP values in the Data List while performing the Active Test.

      HINT: 

      • Do not leave the EGR valve open for 10 seconds or more during the Active Test.
      • Be sure to return the EGR valve to step 0 when the Active Test is completed.
      • Do not open the EGR valve 30 steps or more during the Active Test.

      OK

      MAP and idling condition change in response to EGR step position.

      Standard

      - EGR Step Position (Active Test)
      0 Steps 0 to 30 Steps
      Idling condition Steady idling Idling changes from steady to rough idling or engine stalls
      MAP
      (Data List)
      MAP value is 20 to 40 kPa (150 to 300 mmHg)
      (EGR valve is fully closed)
      MAP value is at least +10 kPa (75 mmHg) higher than when EGR valve is fully closed

      HINT: 

      During Active Test, if the idling condition does not change in response to EGR step position, then there is probably a malfunction in the EGR valve.

      Result

      Result Proceed to
      Within standard range A
      Outside of standard range B

    B → See step   2 

    A → See step   6 

  2. INSPECT EGR VALVE ASSEMBLY 
    1. Inspect the EGR valve assembly. Refer to INSPECTION .

    NG → See step   7 

    OK: Go to next step 

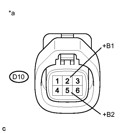
  3. INSPECT EGR VALVE ASSEMBLY (+B1 OR +B2 VOLTAGE) 
    Fig 1: Inspecting EGR Valve Assembly (+B1 Or +B2 Voltage)
    GTY292455Courtesy of © TOYOTA, LICENSE AGREEMENT TMS1002
    1. Disconnect the EGR valve assembly connector.
    2. Turn the power switch on (IG).
    3. Measure the voltage according to the value(s) in the table below.

      Standard Voltage

      Tester Connection Switch Condition Specified Condition
      D10-2 (+B1) - Body ground Power switch on (IG) 11 to 14 V
      D10-5 (+B2) - Body ground Power switch on (IG) 11 to 14 V
      TEXT IN ILLUSTRATION

      *a Front view of wire harness connector
      (to EGR Valve Assembly)

    NG → REPAIR OR REPLACE HARNESS OR CONNECTOR (EGR VALVE ASSEMBLY - EFI MAIN RELAY) 

    OK: Go to next step 

  4. CHECK HARNESS AND CONNECTOR (ECM - EGR VALVE ASSEMBLY) 
    1. Disconnect the EGR valve assembly connector.
    2. Disconnect the ECM connector.
    3. Measure the resistance according to the value(s) in the table below.

      Standard Resistance (Check for Open)

      Tester Connection Condition Specified Condition
      D28-45 (EGR1) - D10-4 (EGR1) Always Below 1 Ω
      D28-44 (EGR2) - D10-3 (EGR2) Always Below 1 Ω
      D28-43 (EGR3) - D10-6 (EGR3) Always Below 1 Ω
      D28-42 (EGR4) - D10-1 (EGR4) Always Below 1 Ω

      Standard Resistance (Check for Short)

      Tester Connection Condition Specified Condition
      D28-45 (EGR1) or D10-4 (EGR1) - Body ground Always 10 kΩ or higher
      D28-44 (EGR2) or D10-3 (EGR2) - Body ground Always 10 kΩ or higher
      D28-43 (EGR3) or D10-6 (EGR3) - Body ground Always 10 kΩ or higher
      D28-42 (EGR4) or D10-1 (EGR4) - Body ground Always 10 kΩ or higher

    NG → REPAIR OR REPLACE HARNESS OR CONNECTOR 

    OK: Go to next step 

  5. CHECK DTC OUTPUT RECORDS (DTC P0403) 
    1. Connect the Techstream to the DLC3.
    2. Turn the power switch on (IG) and turn the Techstream on.
    3. Clear the DTCs. Refer to DTC CHECK / CLEAR .
    4. Turn the power switch off and wait for at least 30 seconds.
    5. Put the engine in inspection mode (maintenance mode). Refer to INSPECTION MODE PROCEDURE .
    6. Start the engine warm it up.
    7. Drive the vehicle in accordance with the driving pattern described in the Confirmation Driving Pattern.
    8. Enter the following menus: Powertrain / Engine and ECT / Trouble Codes.
    9. Read the DTCs.

      Result

      Result Proceed to
      DTC is not output A
      DTC P0403 is output B

    B → See step   8 

    A → END 

  6. CHECK FOR INTERMITTENT PROBLEMS. Refer to  CHECK FOR INTERMITTENT PROBLEMS 
  7. REPLACE EGR VALVE ASSEMBLY. Refer to  REMOVAL 
  8. REPLACE ECM. Refer to  REMOVAL